GM Service Manual Online
For 1990-2009 cars only
Makes
🢒
Cadillac
🢒
2000
🢒
Seville
🢒 PCM Power and Grounds
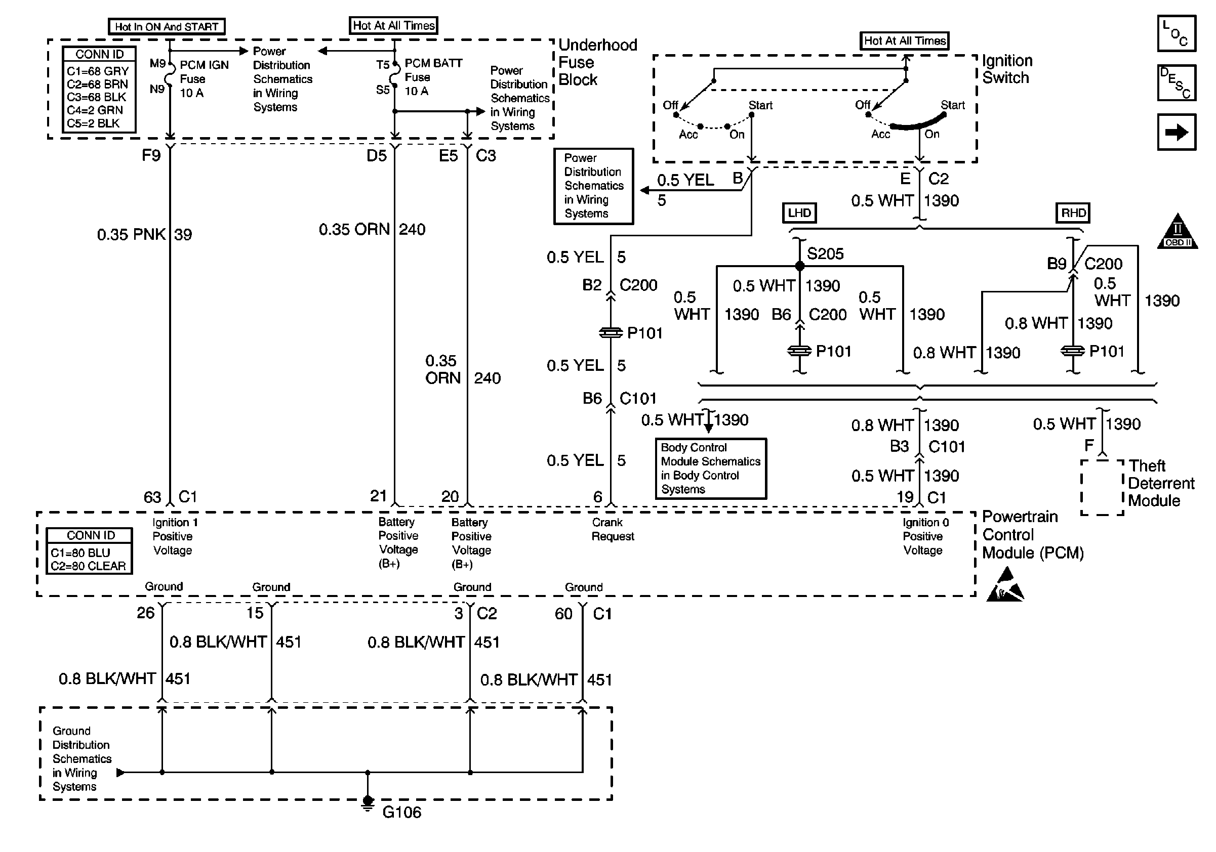
PCM Power and Grounds
PCM Power and Grounds
Engine Controls Components
OBD II Symbol Description Notice
MIL Control and DLC
PCM BATT, EXPORT BRK, IP, ABS Sol, and ABS MOT Fuses
DIM Ignition Inputs
G106, G110, and G109
Ignition Switch
Powertrain Control Module (PCM)