GM Service Manual Online
For 1990-2009 cars only
Makes
🢒
Cadillac
🢒
2000
🢒
Seville
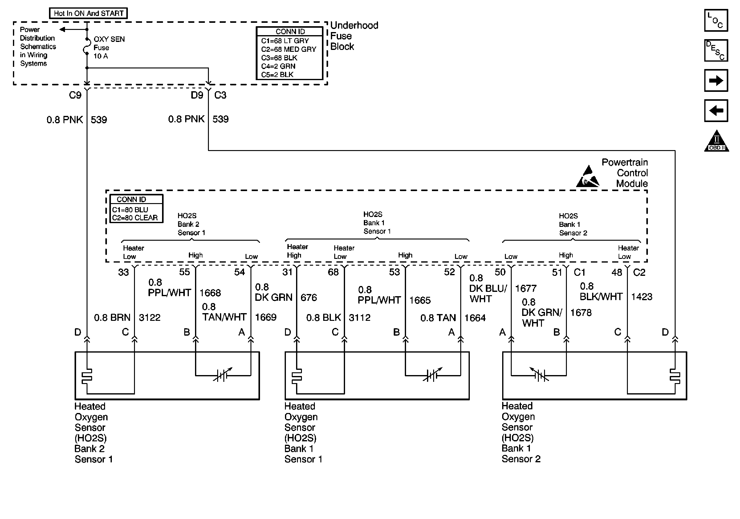
🢒 HO2S
HO2S
HO2S
Engine Controls Components
OBD II Symbol Description Notice
EVAP and EGR Valve
Sensors
Handling ESD Sensitive Parts Notice
OXYSENA, OXYSENB, DIS and CRCONT Fuses
Information Sensors/Switches Description