GM Service Manual Online
For 1990-2009 cars only
Makes
🢒
Cadillac
🢒
2000
🢒
Seville
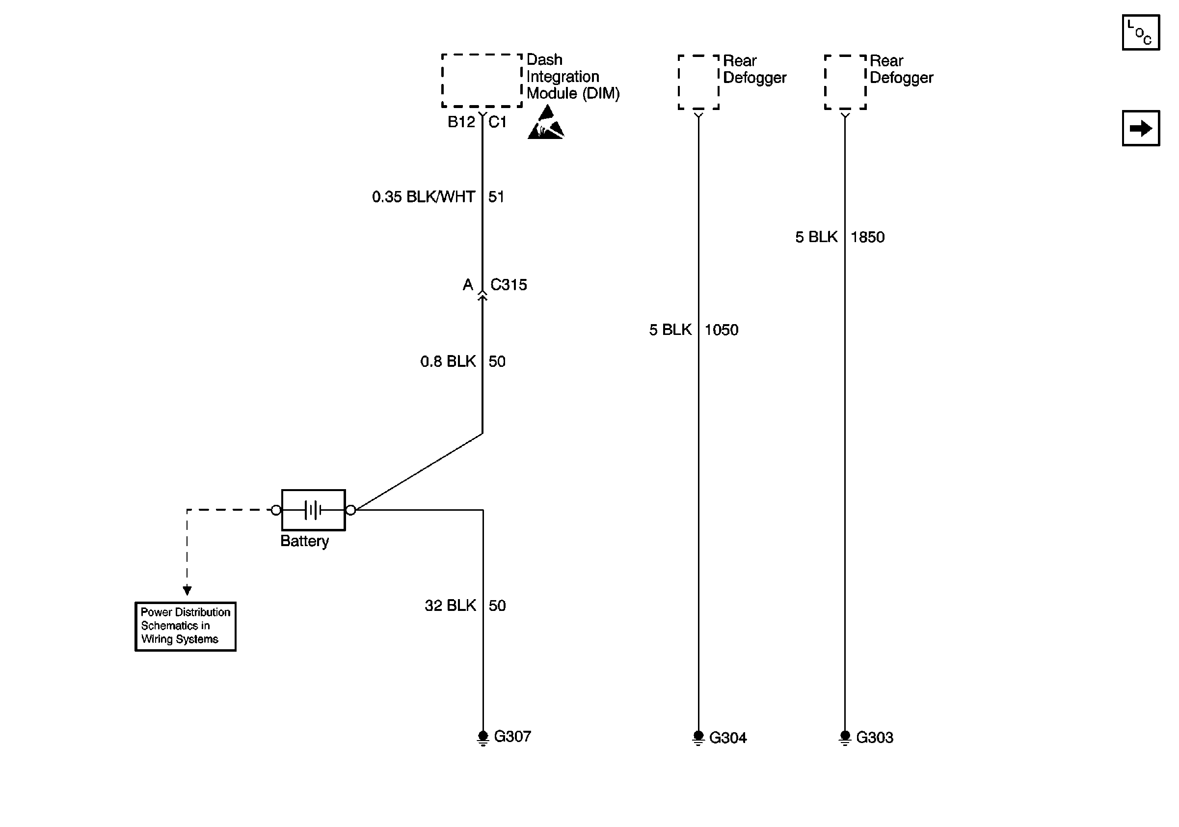
🢒 G307
G307
G307
Power and Grounding Components
G106 and G108
Handling ESD Sensitive Parts Notice
Battery Feeds