GM Service Manual Online
For 1990-2009 cars only
Makes
🢒
Cadillac
🢒
2000
🢒
Seville
🢒 G401 3 of 3
G401 3 of 3
G401 3 of 3
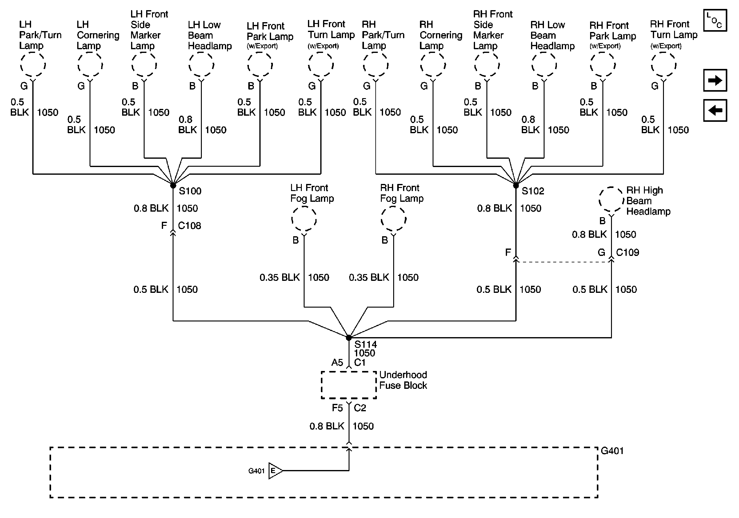
Power and Grounding Components
G402 1 of 2
G401 2 of 3
G401 2 of 3