GM Service Manual Online
For 1990-2009 cars only
Makes
🢒
Cadillac
🢒
2000
🢒
Seville
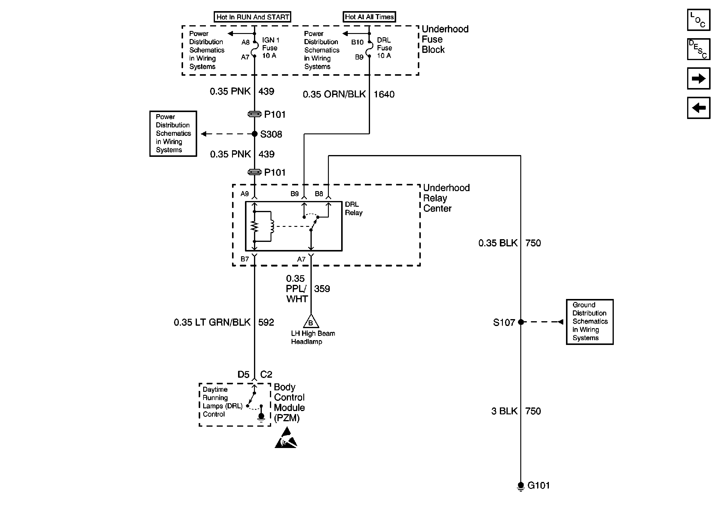
🢒 Daytime Running Lamps
Daytime Running Lamps
Daytime Running Lamps
Lighting Systems Components
Headlights Circuit Description
Headlamps
Headlamp Switch and Headlamp Control
BATT 2 Fuse and Ignition Switch (2 of 2)
LAMPS and IGN 1 Fuses
ABS and IGN 1 Fuses
Headlamps
G101
Handling ESD Sensitive Parts Notice