GM Service Manual Online
For 1990-2009 cars only
Makes
🢒
Cadillac
🢒
2000
🢒
Seville
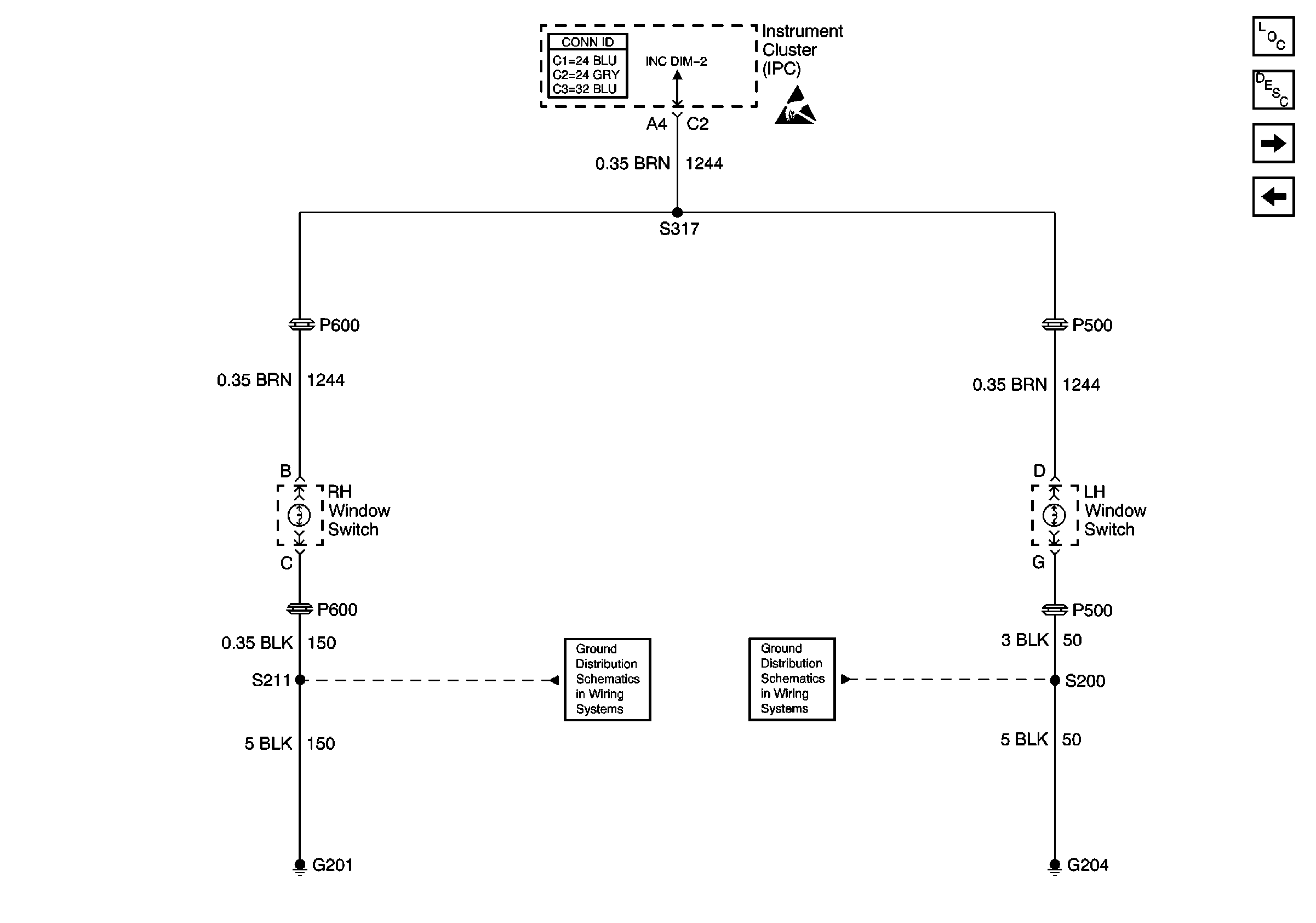
🢒 Front Door Backlighting
Front Door Backlighting
Front Door Backlighting
Lighting Systems Components
Interior Lights Dimming Circuit Description
Instrument Panel Backlighting
Headlamp Switch
Handling ESD Sensitive Parts Notice
G201
G204