GM Service Manual Online
For 1990-2009 cars only
Makes
🢒
Cadillac
🢒
2000
🢒
Seville
🢒 Headlamp Switch
Headlamp Switch
Headlamp Switch
Lighting Systems Components
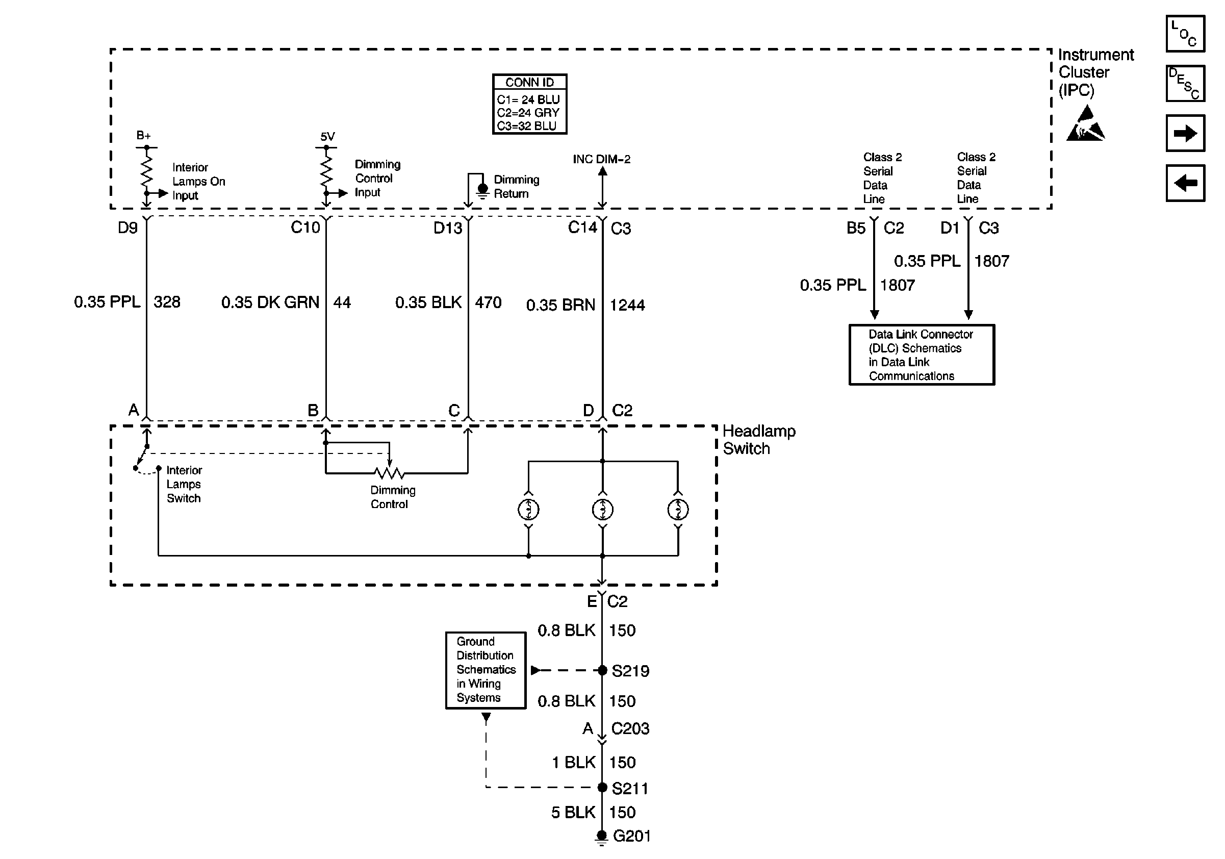
Interior Lights Dimming Circuit Description
Front Door Backlighting
PWR, GND, and Ambient Light Sensor
G201
Class 2 (2 of 2)
Handling ESD Sensitive Parts Notice