GM Service Manual Online
For 1990-2009 cars only
Makes
🢒
Cadillac
🢒
2000
🢒
Seville
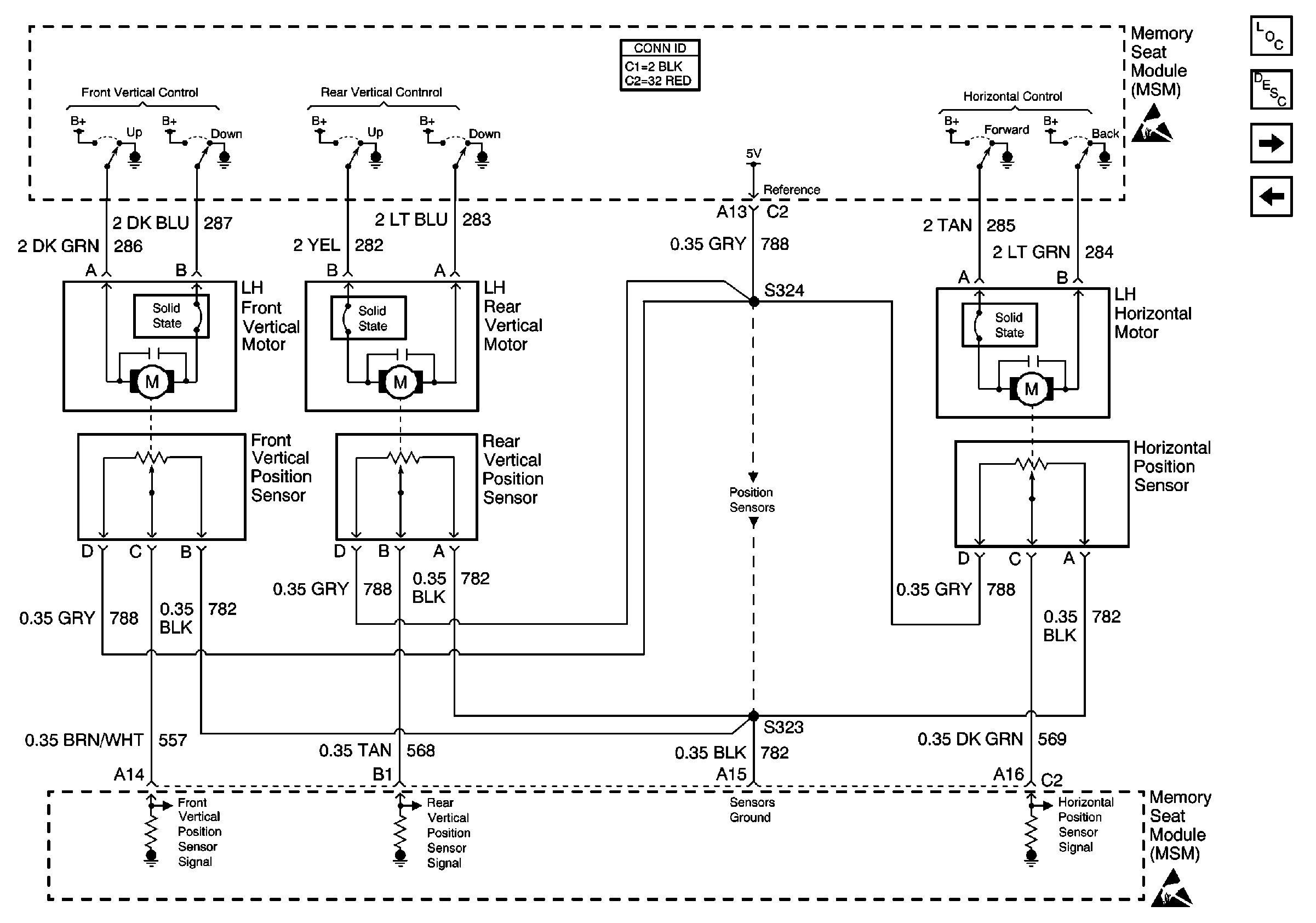
🢒 Front Height, Rear Height, Forward/Back Motors and Position Sensors
Front Height, Rear Height, Forward/Back Motors and Position Sensors
Front Height, Rear Height, Forward/Back Motors and Position Sensors
Power Seat Systems Components
Memory Seat Circuit Description
Front Height, Rear Height, Forward/Back Motors and Position Sensors
PWR, GND, LH Seat Switch, and MSM
Handling ESD Sensitive Parts Notice