GM Service Manual Online
For 1990-2009 cars only
Makes
🢒
Cadillac
🢒
2000
🢒
Seville
🢒 Cruise Control Multifunction Lever
Cruise Control Multifunction Lever
Cruise Control Multifunction Lever
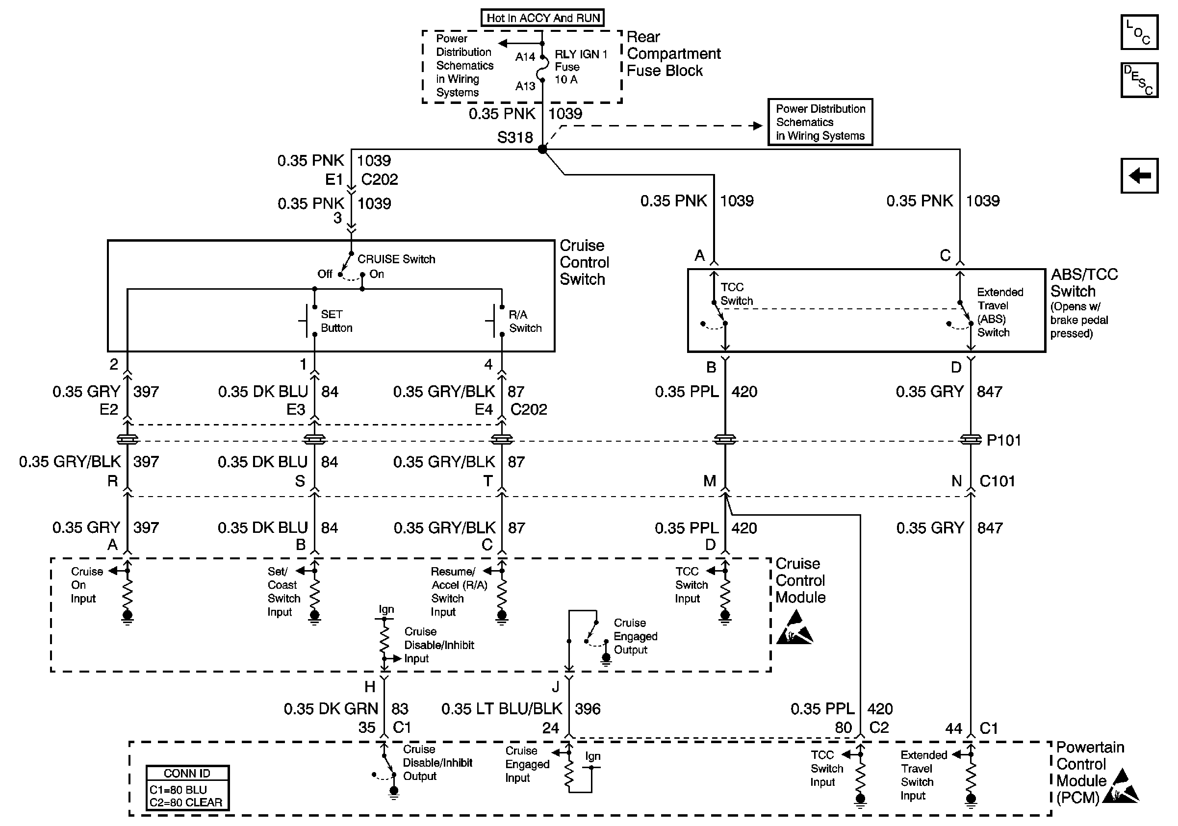
Cruise Control Components
Cruise Control System Description
Cruise Control Module
RLY IGN 1 Fuse
RLY IGN 1 Fuse
Handling ESD Sensitive Parts Notice
Handling ESD Sensitive Parts Notice