GM Service Manual Online
For 1990-2009 cars only
Makes
🢒
Cadillac
🢒
2000
🢒
Seville
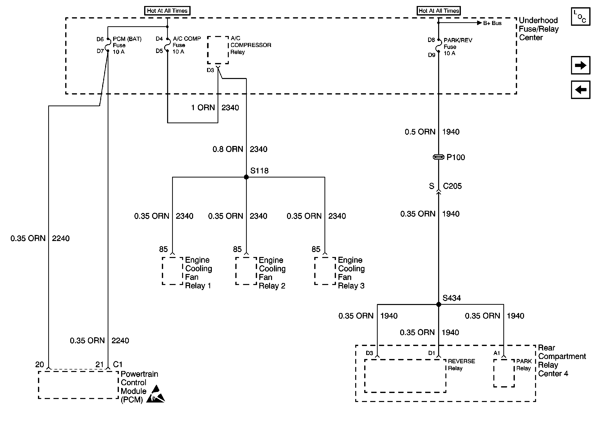
🢒 PCM (BAT), A/C COMP, PARK/REV Fuses and A/C COMPRESSOR Relay
PCM (BAT), A/C COMP, PARK/REV Fuses and A/C COMPRESSOR Relay
PCM (BAT), A/C COMP, PARK/REV Fuses and A/C COMPRESSOR Relay
Power and Grounding Components
CRUISE, DIS, and PCM (IGN) Fuses
OXY SEN 1, OXY SEN 2, FUEL PUMP, ECS Fuses and FUEL PUMP Relay
IGN 1, COOL FANS, BATT 1, and BRAKES Fuses
Handling ESD Sensitive Parts Notice