GM Service Manual Online
For 1990-2009 cars only
Makes
🢒
Cadillac
🢒
2000
🢒
Seville
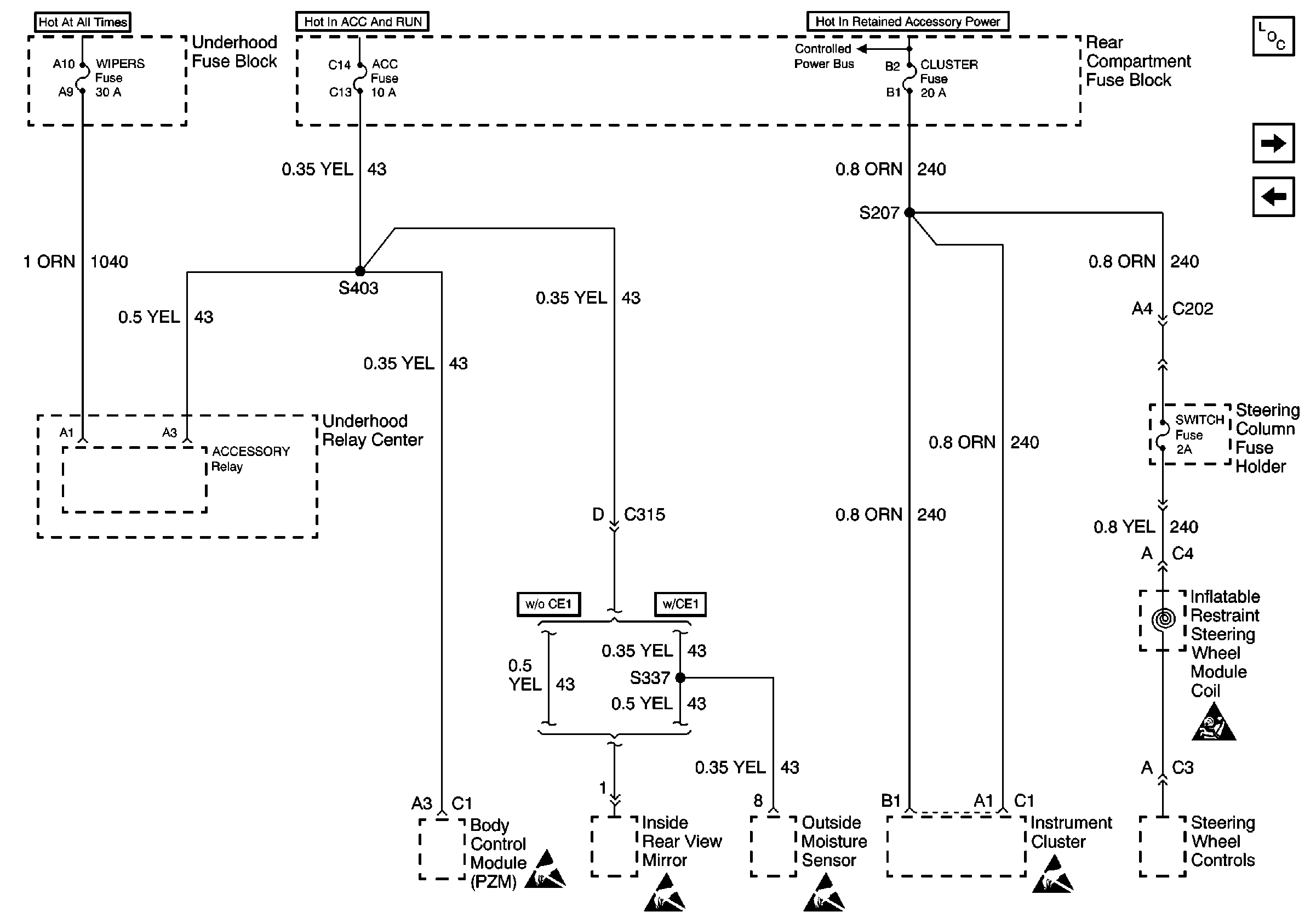
🢒 WIPERS, ACC, and CLUSTER Fuses
WIPERS, ACC, and CLUSTER Fuses
WIPERS, ACC, and CLUSTER Fuses
Power and Grounding Components
ELC Fuse and Circuit Breaker
CONVENIENCE Fuse
BODY 3 and INADVERT Fuses
Handling ESD Sensitive Parts Notice
Handling ESD Sensitive Parts Notice
Handling ESD Sensitive Parts Notice
Handling ESD Sensitive Parts Notice
Handling ESD Sensitive Parts Notice