GM Service Manual Online
For 1990-2009 cars only
Makes
🢒
Cadillac
🢒
2000
🢒
Seville
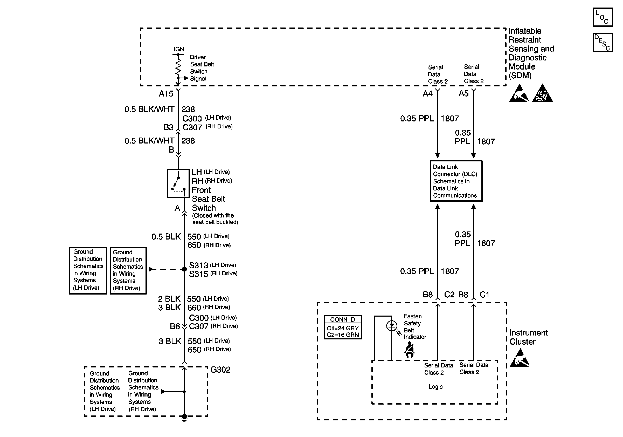
🢒 Fasten Seat Belt Switch and Indicator
Fasten Seat Belt Switch and Indicator
Fasten Seat Belt Switch and Indicator
Class 2 Serial Data Line (LH Drive)
G302 1 of 2
G302 2 of 2
G302 1 of 2
G302 2 of 2
Handling ESD Sensitive Parts Notice
Handling ESD Sensitive Parts Notice
SIR Handling Caution