GM Service Manual Online
For 1990-2009 cars only
Makes
🢒
Cadillac
🢒
2000
🢒
Seville
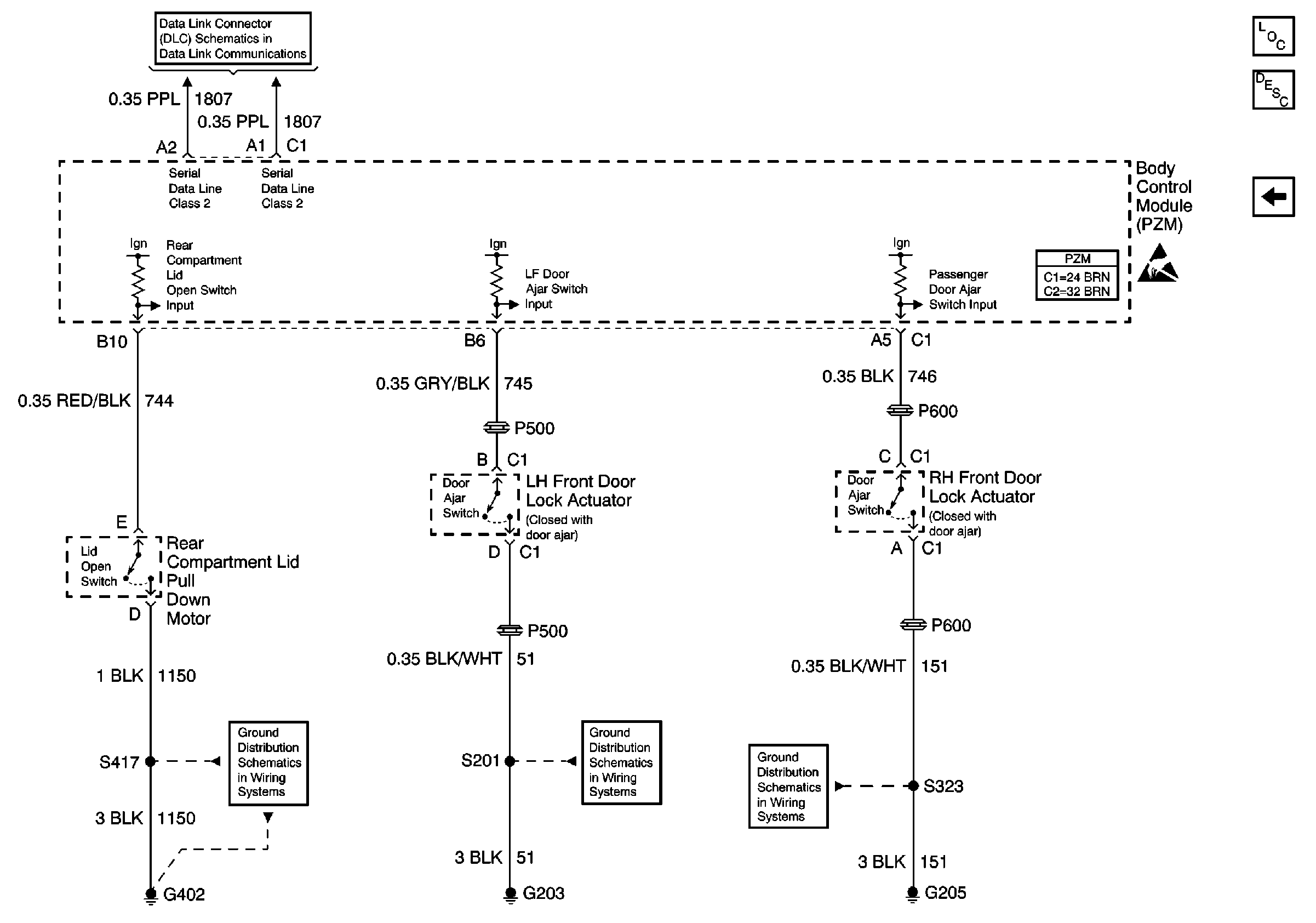
🢒 Door Jamb Switches
Door Jamb Switches
Door Jamb Switches
Power, Ground, and Class 2 (1 of 2)
Instrument Cluster Circuit Description
Light Switches
Body Control System Connector End Views
Handling ESD Sensitive Parts Notice
G402
G203
G205