GM Service Manual Online
For 1990-2009 cars only

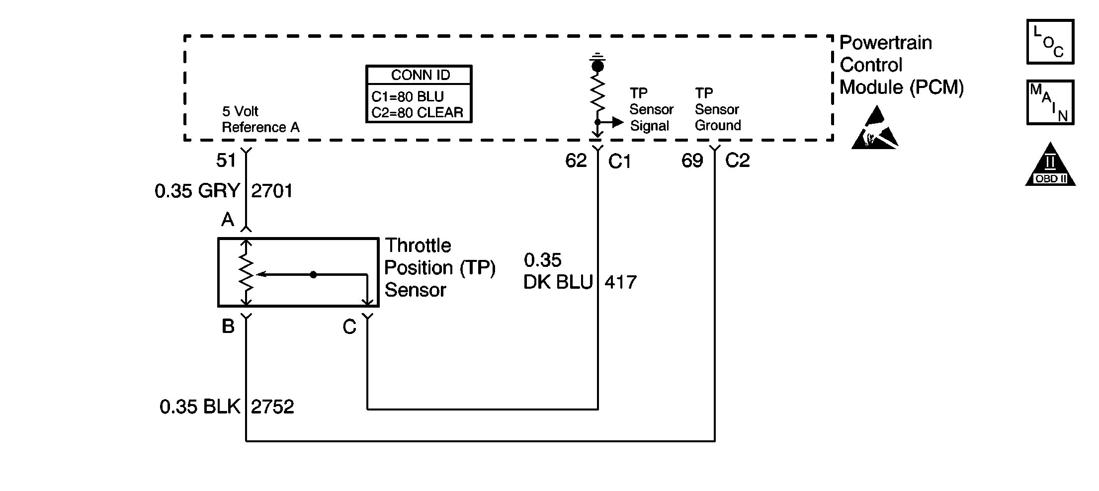
Object Number: 603343  Size: SF
Engine Controls Component Views
Sensors
OBD II Symbol Description Notice
Handling ESD Sensitive Parts Notice

Circuit Description

The throttle position (TP) sensor is potentiometer used to indicate the amount of throttle opening. The PCM supplies the TP sensor with a 5 volt reference and a ground. The TP sensor provides a signal voltage to the PCM relative to throttle blade angle. With the throttle closed, the signal voltage is low. However, the signal voltage increases as the throttle opens. During normal operation, TP signal voltage will vary from below 1 volt at idle to above 4 volts at wide open throttle (WOT). The TP signal is one of the most important sensor inputs used by the PCM for controlling fuel and most of the PCM-controlled outputs. If the PCM detects an intermittently low TP sensor signal, DTC P1122 will set.

Conditions for Running the DTC

    • The engine is running.
    • The idle air control (IAC) valve position is between 10-130 counts.

Conditions for Setting the DTC

    • The TP sensor signal voltage is intermittently less than 0.25 volts.
    • The condition exists for less than 1 second.

Action Taken When the DTC Sets

    • The PCM will illuminate the malfunction indicator lamp (MIL) the first time the malfunction is detected.
    •  The PCM will store the conditions present when the DTC set as Freeze Frame and Fail Records data.

Conditions for Clearing the MIL/DTC

    • The PCM will turn the MIL OFF after the third consecutive trip in which the diagnostic runs and passes.
    • The History DTC will clear after 40 consecutive warm-up cycles have occurred without a malfunction.
    • The DTC can be cleared by using the scan tool Clear DTC Information function.

Diagnostic Aids

If the condition is intermittent, refer to Intermittent Conditions .

Step

Action

Values

Yes

No

1

Did you perform the Powertrain On Board Diagnostic (OBD) System Check?

--

Go to Step 2

Go to Powertrain On Board Diagnostic (OBD) System Check

2

Are any other DTCs also set?

--

Go to Diagnostic Trouble Code (DTC) List/Type

Go to Step 3

3

  1. Test the 5V reference A circuit for the following intermittent conditions:
  2. • Open circuit
    • Short to chassis or TP sensor ground
    • Poor connections at the PCM or the TP sensor, refer to Testing for Intermittent Conditions and Poor Connections in Wiring Systems.
  3. If a condition is found, repair as necessary. Refer to Wiring Repairs in Wiring Systems.

Did you find and correct the condition?

--

Go to Step 5

Go to Step 4

4

  1. Test the TP sensor signal circuit for the following intermittent conditions:
  2. • Open circuit
    • Short to chassis or TP sensor ground
    • Poor connections at the PCM or the TP sensor, refer to Testing for Intermittent Conditions and Poor Connections in Wiring Systems.
  3. If a condition is found, repair as necessary. Refer to Wiring Repairs in Wiring Systems.

Did you find and correct the condition?

--

Go to Step 5

Go to Diagnostic Aids

5

  1. Review and record the scan tool Fail Records data.
  2. Clear the DTCs.
  3. Operate the vehicle within the parameters listed in the Conditions for Running the DTC.
  4. With the scan tool, monitor the Specified DTC Information for DTC P1122.

Does the scan tool indicate that DTC P1122 passed?

--

System OK

Go to Step 2