GM Service Manual Online
For 1990-2009 cars only

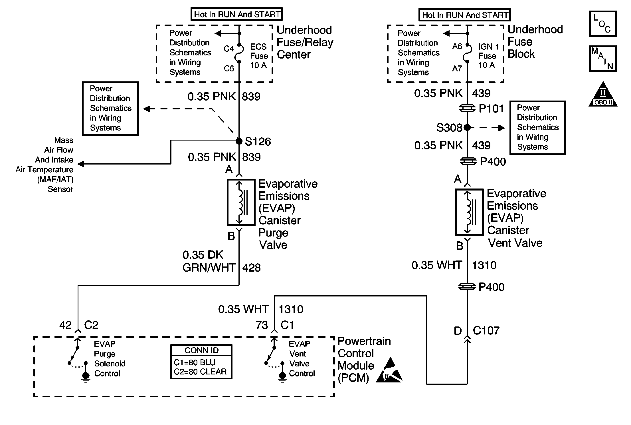
Object Number: 602223  Size: MF
Engine Controls Component Views
MAF Sensor, EVAP Components and EGR Valve
OBD II Symbol Description Notice
Handling ESD Sensitive Parts Notice

System Description

This DTC tests for undesired intake manifold vacuum flow to the evaporative emission (EVAP) system. The control module seals the EVAP system by commanding the EVAP canister purge valve Closed and the EVAP canister vent valve Closed. The control module monitors the fuel tank pressure (FTP) sensor to determine if a vacuum is being drawn on the EVAP system. If vacuum in the EVAP system is more than a predetermined value within a predetermined time, this DTC sets.

The following table illustrates the relationship between the ON and OFF states, and the Open or Closed states of the EVAP canister purge and vent valves.

Control Module Command

EVAP Canister Purge Valve

EVAP Canister Vent Valve

ON

Open

Closed

OFF

Closed

Open

Conditions for Running the DTC

    • DTCs P0107, P0108, P0112, P0113, P0116, P0117, P0118, P0121, P0122, P0123, P0125, P0440, P0442, P0443, P0446, P0449, P0452, P0453, P1106, P1107, P1111, P1112, P1114, P1115, P1121 or P1122 are not set.
    • The ignition voltage is between 10-18 volts.
    • The barometric pressure (BARO) is more than 75 kPa.
    • The fuel level is between 15-85 percent.
    • The engine coolant temperature (ECT) is between 4-30°C (39- 86°F).
    • The intake air temperature (IAT) is between 4-30°C (39-86°F).
    • The start up ECT and IAT are within 9°C (16°F).
    • The vehicle speed sensor (VSS) is less than 121 km/h (75 mph).

Conditions for Setting the DTC

The PCM detects vacuum during a non-purge condition.

Action Taken When the DTC Sets

    • The control module illuminates the malfunction indicator lamp (MIL) on the second consecutive ignition cycle that the diagnostic runs and fails.
    • The control module records the operating conditions at the time the diagnostic fails. The first time the diagnostic fails, the control module stores this information in the Failure Records. If the diagnostic reports a failure on the second consecutive ignition cycle, the control module records the operating conditions at the time of the failure. The control module writes the operating conditions to the Freeze Frame and updates the Failure Records.

Conditions for Clearing the MIL/DTC

    • The control module turns OFF the malfunction indicator lamp (MIL) after 3 consecutive ignition cycles that the diagnostic runs and does not fail.
    • A current DTC, Last Test Failed, clears when the diagnostic runs and passes.
    • A history DTC clears after 40 consecutive warm-up cycles, if no failures are reported by this or any other emission related diagnostic.
    • Clear the MIL and the DTC with a scan tool.

Diagnostic Aids

The EVAP system tests run when the engine is first started, and meets the Conditions for Running the DTC. An intermittent condition could be caused by an improperly installed or damaged EVAP canister purge valve or a temporary blockage in the EVAP canister purge valve.

A temporary blockage in the EVAP canister purge valve, purge pipe or EVAP canister could cause an intermittent condition. To repair a blockage in the EVAP system refer to Evaporative Emission System Cleaning .

Step

Action

Values

Yes

No

1

Did you perform the Diagnostic System Check-Engine Controls?

--

Go to Step 2

Go to Powertrain On Board Diagnostic (OBD) System Check

2

Are DTCs P0443, P0449, P0452 or P0453 also set?

--

Go to Diagnostic Trouble Code (DTC) List/Type

Go to Step 3

3

  1. Turn ON the ignition, with the engine OFF.
  2. Monitor the fuel tank pressure with a scan tool.

Does the scan tool indicate fuel tank pressure outside the specified value?

-0.5 to +0.5 in H2O

Go to Step 4

Go to Step 5

4

  1. Disconnect the purge pipe from the EVAP canister purge valve.
  2. Install a hand held vacuum gauge to the EVAP canister purge valve purge port.
  3. Disconnect the EVAP canister purge valve harness connector.
  4. Monitor vacuum on the vacuum gauge.
  5. Start the engine and allow the engine to idle.
  6. Increase the idle to 1,200-1,500 RPM.

Does the vacuum gage indicate an increase in vacuum?

--

Go to Step 5

Go to Diagnostic Aids

5

Replace the EVAP canister purge valve. Refer to Evaporative Emission Canister Purge Solenoid Valve Replacement .

Did you complete the replacement?

--

Go to Step 6

--

6

  1. With a scan tool, monitor the fuel tank pressure.
  2. Start the engine and allow the engine to idle for 30 seconds.

Does the scan tool indicate fuel tank pressure within the specified range?

-0.5 to +0.5 in H2O

Go to Step 7

Go to Step 3

7

With a scan tool, observe the stored information, Capture Info.

Does the scan tool display any DTCs that you have not diagnosed?

--

Go to Diagnostic Trouble Code (DTC) List/Type

System OK