GM Service Manual Online
For 1990-2009 cars only

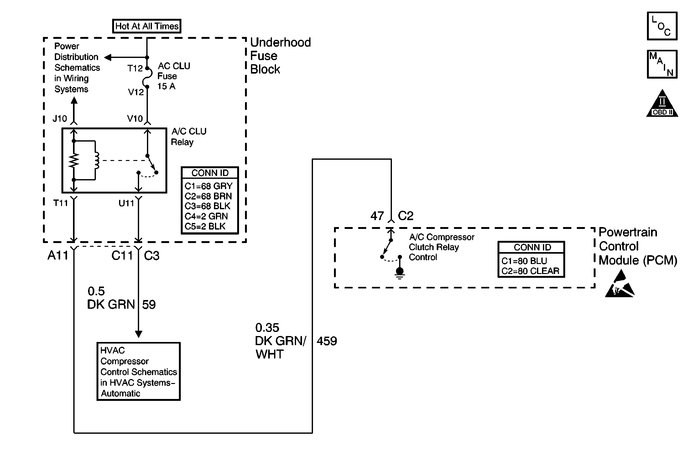
Object Number: 603438  Size: MF
Engine Controls Component Views
A/C Relay, A/C Pressure Sensor, CVRSS and EBCM
OBD II Symbol Description Notice
Handling ESD Sensitive Parts Notice

Circuit Description

The PCM uses output driver modules (ODMs) to control many functions of the engine, and the transaxle. The ODMs supply the ground path for the PCM controlled device when the PCM commands the device ON. Each ODM is able to control several outputs. Unlike the quad driver modules (QDMs) used in earlier model years, the ODMs are able to diagnose each output circuit. The PCM monitors the ODMs for circuit conditions that are incorrect for the commanded state of the ODM. If the PCM detects an improper circuit condition in the ODM that controls the A/C relay, DTC P1545 will set.

Conditions for Running the DTC

    • The engine is running.
    • The system voltage is between 8-16 volts.

Conditions for Setting the DTC

    • The PCM detects an improper voltage level on the output circuit that controls the A/C relay.
    • The condition exists for at least 10 seconds.

Action Taken When the DTC Sets

    • The PCM will not illuminate the malfunction indicator lamp (MIL).
    • The PCM will store the conditions present when the DTC set as Failure Records data only.

Conditions for Clearing the MIL/DTC

    • The history DTC will clear after 40 consecutive warm-up cycles have occurred without a malfunction.
    • The DTC can be cleared by using the scan tool Clear DTC Information function.

Diagnostic Aids

To determine whether an improper voltage level exists on the output circuit, the PCM compares the voltage level to the commanded state. For example, a failure condition exists if the PCM detects a low voltage level when the device is commanded OFF, or a high voltage level when the device is commanded ON.

Check for the following conditions:

    • Faulty connections at the PCM or the A/C relay. Refer to Wiring Repairs in Wiring Systems.
    • A damaged harness.
        Inspect the wiring harness for damage. If the harness appears to be OK, disconnect the PCM and turn the ignition ON. Connect a voltmeter between the A/C compressor clutch relay control circuit and chassis ground. Turn the ignition ON and observe the voltmeter while moving connectors and wiring harnesses related to the A/C relay. A change in voltage will indicate the location of the malfunction. If the condition is found, repair as necessary. Refer to Wiring Repairs in Wiring Systems.

Reviewing the Fail Records vehicle mileage since the diagnostic test last failed may assist in diagnosing the condition. The information may help determine how often the condition that set the DTC occurs.

Relay Terminal Identification

Use the Underhood Fuse Block Assembly and/or the Rear Fuse Block Assembly details located in Engine Controls Component Views , to locate the correct cavities to probe during diagnosis. Four blade relays can be inserted two ways. The number designations (i.e., 30, 85, 86, 87, and 87a) displayed on the relays correspond directly to the cavity and NOT the numbering on the relay.

The numbers below refer to the step numbers on the diagnostic table.

  1. Checks for proper key ON voltage throughout the A/C relay control circuit.

  2. Checks to ensure proper current draw in the A/C Relay control circuit. If the current is too high, the driver will shut down.

  3. Check the PCMs ability to control the relay.

  4. Check for a short to chassis ground or the A/C relay control circuit which resulted in the blown fuse.

  5. Checks for an open ignition feed circuit to the A/C relay.

  6. Checks for a short to ground in the A/C relay control circuit.

  7. Checks for a short to battery positive voltage in the A/C relay control circuit.

  8. This vehicle is equipped with a PCM which utilizes an Electrically Erasable Programmable Read Only Memory (EEPROM). When the PCM is replaced, the new PCM must be programmed.

Step

Action

Values

Yes

No

1

Did you perform the Powertrain On-Board Diagnostic (OBD) System Check?

--

Go to Step 2

Go to Powertrain On Board Diagnostic (OBD) System Check

2

  1. Turn the key OFF.
  2. Disconnect the PCM connector.
  3. Turn the key ON.
  4. Using a digital multimeter (DMM), measure the voltage between the A/C relay control circuit and ground.

Does the DMM display a voltage near the specified value?

B+

Go to Step 3

Go to Step 6

3

  1. Leave the PCM disconnected.
  2. Set the DMM to the 10 amp scale.
  3. Measure the current between the A/C relay control circuit and ground.
  4. Monitor the current reading for at least 2 minutes.

Does the DMM display a current reading within the specified range?

0.1-1.5 amps

Go to Step 4

Go to Step 11

4

  1. Turn OFF the ignition.
  2. Reconnect the PCM connector.
  3. Remove the A/C relay.
  4. Connect the DMM between the ignition feed and A/C relay control cavities in the relay connector.
  5. Turn ON the ignition, with the engine OFF.
  6. Using the scan tool, command the A/C relay ON and OFF.

Does the DMM display a voltage near the first specified value with A/C commanded ON and near the second specified value when commanded OFF?

B+

0V

Go to Diagnostic Aids

Go to Step 5

5

  1. Check the terminal contact at the PCM.
  2. If the condition is found, repair as necessary. Refer to Wiring Repairs in Wiring Systems.

Did you find and correct the condition?

--

Go to Step 15

Go to Step 14

6

Check the fuse?

Is the fuse blown?

--

Go to Step 7

Go to Step 8

7

  1. Check for a short between the ignition feed circuit and the following circuits:
  2. • The A/C relay control circuit
    • The chassis ground circuit

    Important: Replace the fuse.

  3. If the condition is found, repair as necessary. Refer to Wiring Repairs in Wiring Systems.

Did you find and correct the condition?

--

Go to Step 15

Go to Step 13

8

  1. Turn OFF the ignition.
  2. Leave the PCM disconnected.
  3. Remove the A/C relay.
  4. Turn ON the ignition, with the engine OFF.
  5. Connect the DMM between the ignition feed cavity in the relay connector and chassis ground.

Does the DMM display a voltage near the specified value?

B+

Go to Step 9

Go to Step 12

9

  1. Check for a short to ground in the A/C relay control circuit
  2. If the condition is found, repair as necessary. Refer to Wiring Repairs in Wiring Systems.

Did you find and correct the condition?

--

Go to Step 15

Go to Step 10

10

  1. Check the terminal contact in the A/C relay connector.
  2. If the condition is found, repair as necessary. Refer to Wiring Repairs in Wiring Systems.

Did you find and correct the condition?

--

Go to Step 15

Go to Step 13

11

  1. Turn OFF the ignition.
  2. Leave the PCM disconnected.
  3. Remove the A/C relay.
  4. Using the DMM, check the A/C relay control circuit for a short to battery positive voltage.
  5. If the condition is found, repair as necessary. Refer to Wiring Repairs in Wiring Systems.

Did you find and correct the condition?

--

Go to Step 15

Go to Step 13

12

Locate and repair the open in the ignition feed circuit to the A/C relay. Refer to Wiring Repairs in Wiring Systems.

Is the action complete?

--

Go to Step 15

--

13

Replace the A/C Relay. Refer to A/C Compressor Relay Replacement.

Is the action complete?

--

Go to Step 15

--

14

Important: The replacement PCM must be reprogrammed.

Replace the PCM. Refer to Powertrain Control Module Replacement/Programming .

Is the action complete?

--

Go to Step 15

--

15

  1. Review and record scan tool Fail Records data.
  2. Clear DTCs.
  3. Operate vehicle within Fail Records conditions as noted.
  4. Using the scan tool, monitor Specific DTC information DTC P1545.

Does the scan tool indicate that DTC P1545 passed?

--

System OK

Go to Step 2