GM Service Manual Online
For 1990-2009 cars only

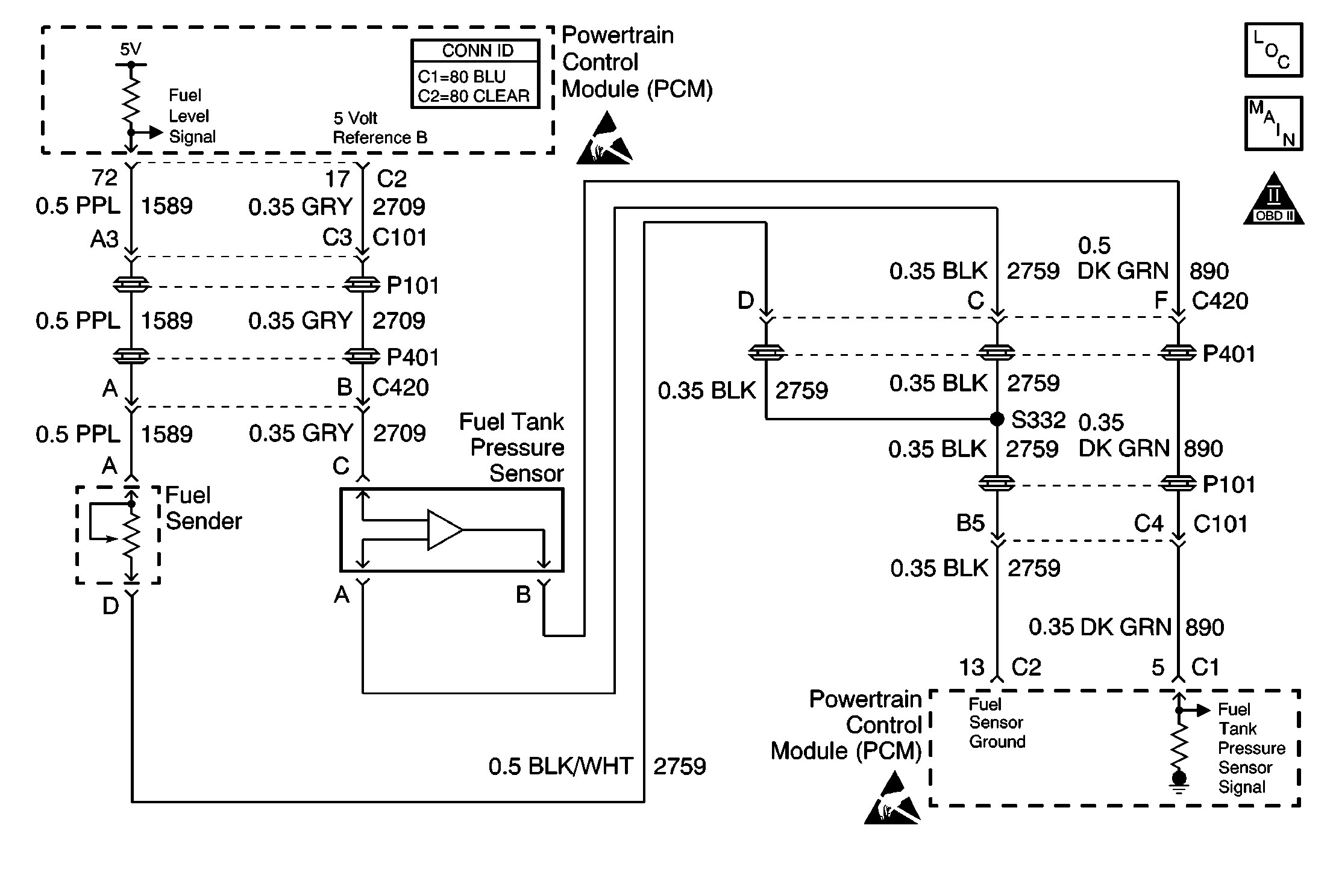
Object Number: 603358  Size: MF
Engine Controls Components
Sensors
OBD II Symbol Description Notice
Handling ESD Sensitive Parts Notice
Handling ESD Sensitive Parts Notice

Circuit Description

The fuel level sensor is a device used to determine the level of fuel in the tank. The PCM applies an ignition voltage to the sensor. The sensor varies the voltage based on the level of fuel in the tank. When the tank is full, the sensor resistance is high, and the PCM senses a high signal voltage. As the fuel level in the tank decreases, the sensor resistance drops, and the signal voltage at the PCM is pulled low. The PCM uses the fuel level input to run certain system tests. Some of these system tests include the following:

    • EVAP system tests
    • Misfire tests
    • Oxygen sensor tests

The PCM also sends the fuel level information via class 2 serial data to the instrument panel cluster (IPC). The IPC uses the information to control the fuel gauge.

The PCM monitors the fuel level sensor to detect a fixed signal voltage. The PCM checks for a change in signal voltage (tank volume) over a calibrated distance. If the signal voltage indicates that the change in tank volume is less than the calibrated amount, the PCM will set DTC P0461.

Conditions for Running the DTC

    • VSS DTCs are not set.
    • The engine is running.
    • System voltage is between 11-16 volts.
    • Vehicle speed is more than 5 km/h (3.1 mph).

Conditions for Setting the DTC

The fuel level sensor voltage indicates that tank volume has not changed over a distance of 60 kilometers (37.5 miles).

Action Taken When the DTC Sets

    • The PCM will not illuminate the malfunction indicator lamp (MIL).
    • The PCM will store the conditions present when the DTC set as Failure Records data only.

Conditions for Clearing the MIL/DTC

    • The history DTC will clear after 40 consecutive warm-up cycles have occurred without a malfunction.
    • The DTC can be cleared by using the scan tool Clear DTC Information function.

Diagnostic Aids

Important: Fuel level is used to determine EVAP system diagnosis. Always diagnose the fuel level sensor before any other EVAP system components or DTCs.

Refer to Instrument Cluster Operation in Instrument Panel, Gauges, and Console for additional diagnostic information.

If the condition is intermittent, refer to Intermittent Conditions .

Test Description

Step

Action

Values

Yes

No

1

Did you perform the Powertrain On-Board Diagnostic (OBD) System Check ?

--

Go to Step 2

Go to Powertrain On Board Diagnostic (OBD) System Check

2

  1. Turn ON the ignition with the engine OFF.
  2. Observe the fuel level sensor display on the scan tool.

Does the fuel level sensor display indicate a voltage within the specified range.

0.5-3.1V

Go to Step 5

Go to Step 3

3

Is the voltage below the specified value?

0.5V

Go to DTC P0462 Fuel Level Sensor Circuit Low Voltage

Go to Step 4

4

  1. Turn OFF the ignition.
  2. Disconnect the PCM connector.
  3. Disconnect the fuel level sensor connector.
  4. Test the fuel level sensor signal circuit for a short to 5 volts.
  5. If the condition is found, repair as necessary. Refer to Wiring Repairs in Wiring Systems.

Did you find and correct the condition?

--

Go to Step 10

Go to Step 9

5

  1. Turn OFF the ignition.
  2. Disconnect the fuel sender assembly connector.
  3. Connect the resistance substitution dial of the J 33431-C signal generator and instrument panel between the fuel sensor terminals in the harness connector.
  4. Turn the resistance dial to the lowest setting.
  5. Monitor the fuel level sensor display on the scan tool while slowly increasing the resistance.

Does the fuel level sensor display increase smoothly as the resistance increases?

--

Go to Step 6

Go to Step 7

6

  1. Test for poor connections or high resistance at the fuel sender assembly.
  2. If the condition is found, repair as necessary. Refer to Wiring Repairs in Wiring Systems.

Did you find and correct the condition?

--

Go to Step 10

Go to Step 8

7

  1. Test the following circuits for poor connections or high resistance at the PCM.
  2. • Fuel level signal
    • Fuel level ground
  3. If the condition is found, repair as necessary. Refer to Wiring Repairs in Wiring Systems.

Did you find and correct the condition?

--

Go to Step 10

Go to Step 9

8

Replace the fuel level sensor. Refer to Fuel Level Sensor Replacement .

Is the action complete?

--

Go to Step 10

--

9

Important: The replacement PCM must be programmed.

Replace the PCM. Refer to Powertrain Control Module Replacement/Programming .

Is the action complete?

--

Go to Step 10

--

10

  1. Review and records the scan tool Fail Records information.
  2. Clear the DTCs.
  3. Operate the vehicle within the Fail Records conditions.
  4. Monitor the scan tool Specific DTC Information for DTC P0461 until the test runs.

Does the scan tool indicate that DTC P0461 passed?

--

System OK

Go to Step 2