GM Service Manual Online
For 1990-2009 cars only

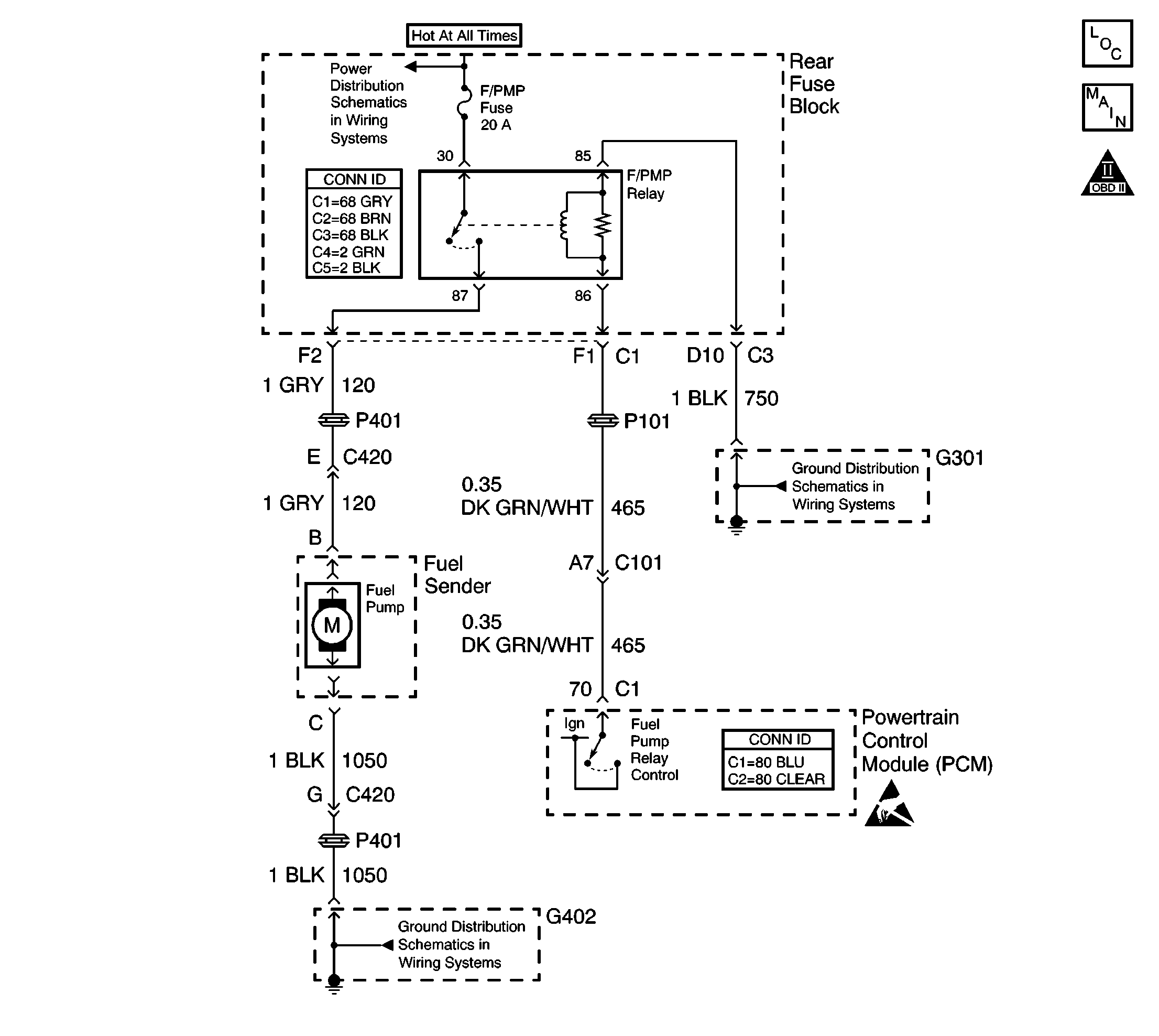
Object Number: 603348  Size: LF
Engine Controls Component Views
Fuel Pump and Engine Oil Pressure Switch
OBD II Symbol Description Notice
Handling ESD Sensitive Parts Notice

Circuit Description

The PCM provides ignition voltage to control the fuel pump relay. The PCM applies the ignition voltage through an ignition feed driver within the PCM. The PCM energizes the fuel pump relay for approximately 2 seconds when the ignition is first turned ON. The fuel pump relay contacts close to supply the fuel pump with battery voltage. The fuel pump primes the fuel rail assembly within the 2 second ON time. The PCM monitors the ignition feed driver for circuit conditions that are incorrect for the commanded state of the driver. If the PCM detects an improper circuit condition in the fuel pump relay control circuit, DTC P0230 will set.

Conditions for Running the DTC

    • The engine is running.
    • The system voltage is between 8-16 volts.

Conditions for Setting the DTC

    • The PCM detects an electrical malfunction on the fuel pump relay control circuit.
    • The condition exists for at least 10 seconds.

Action Taken When the DTC Sets

    • The PCM will not illuminate the malfunction indicator lamp (MIL).
    • The PCM will store the conditions present when the DTC set as Failure Records data only.

Conditions for Clearing the MIL/DTC

    • The history DTC will clear after 40 consecutive warm-up cycles have occurred without a malfunction.
    • The DTC can be cleared by using the scan tool Clear DTC Information function.

Diagnostic Aids

The fuel pump can be turned ON using the Special Functions, Engine Output Controls selection on the scan tool.

If the condition is intermittent, refer to Intermittent Conditions .

Test Description

The numbers below refer to the step numbers on the diagnostic table.

  1. Listen for an audible click when the fuel pump relay operates. Command both the ON and OFF states. Repeat the commands as necessary.

  2. Verifies that the PCM is providing voltage to the fuel pump relay.

  3. Tests for an open in the ground circuit to the fuel pump relay.

  4. Tests if voltage is constantly being applied to the fuel pump relay.

Step

Action

Yes

No

1

Did you perform the Diagnostic System Check - Engine Controls?

Go to Step 2

Go to Powertrain On Board Diagnostic (OBD) System Check

2

  1. Install the scan tool.
  2. Turn ON the ignition, with the engine OFF.
  3. Using the scan tool, command the fuel pump relay ON and OFF.

Does the fuel pump relay turn ON and OFF?

Go to Step 3

Go to Step 4

3

  1. Review the Freeze Frame and/or Failure records data for this DTC.
  2. Turn OFF the ignition for 30 seconds.
  3. Start the engine.
  4. Operate the vehicle within the Conditions for Running the DTC as specified in the supporting text or as close to the Freeze Frame and/or Failure records data that you observed.

Does the DTC reset?

Go to Step 4

Go to Intermittent Conditions

4

  1. Turn OFF the ignition.
  2. Disconnect the fuel pump relay.
  3. Turn ON the ignition, with the engine OFF.
  4. Probe the control circuit of the fuel pump relay with a test lamp connected to a good ground.
  5. Using the scan tool, command the fuel pump relay ON and OFF.

Does the test lamp turn ON and OFF?

Go to Step 5

Go to Step 6

5

  1. Connect a test lamp between the control circuit of the fuel pump relay and the ground circuit of the fuel pump relay.
  2. Using the scan tool, command the fuel pump relay ON and OFF.

Does the test lamp turn ON and OFF?

Go to Step 9

Go to Step 11

6

Does the test lamp remain illuminated with each command?

Go to Step 8

Go to Step 7

7

Test the control circuit of the fuel pump relay for a short to ground or an open. Refer to Circuit Testing and Wiring Repairs in Wiring Systems.

Did you find and correct the condition?

Go to Step 14

Go to Step 10

8

Test the control circuit of the fuel pump relay for a short to voltage. Refer to Circuit Testing and Wiring Repairs in Wiring Systems.

Did you find and correct the condition?

Go to Step 14

Go to Step 13

9

Inspect for poor connections at the fuel pump relay. Refer to Testing for Intermittent Conditions and Poor Connections and Wiring Repairs in Wiring Systems.

Did you find and correct the condition?

Go to Step 14

Go to Step 12

10

Inspect for poor connections at the harness connector of the PCM. Refer to Testing for Intermittent Conditions and Poor Connections and Wiring Repairs in Wiring Systems.

Did you find and correct the condition?

Go to Step 14

Go to Step 13

11

Repair the ground circuit of the fuel pump relay. Refer to Wiring Repairs in Wiring Systems.

Did you complete the repair?

Go to Step 14

--

12

Replace the fuel pump relay.

Did you complete the replacement?

Go to Step 14

--

13

Important: The replacement PCM must be programmed.

Replace the PCM. Refer to Powertrain Control Module Replacement/Programming .

Is the replacement complete?

Go to Step 14

--

14

  1. Using the scan tool, clear the DTCs.
  2. Operate the vehicle within the Conditions for Running the DTC as specified in the supporting text.
  3. Monitor the scan tool Specific DTC for DTC P0230 until the test runs.

Does the scan tool indicate that DTC P0230 passed?

Go to Step 15

Go to Step 2

15

With a scan tool review the Stored information (Capture Info).

Does the scan tool display any DTCs that you have not diagnosed?

Go to Diagnostic Trouble Code (DTC) List/Type

System OK