GM Service Manual Online
For 1990-2009 cars only

Object Number: 154511  Size: MF
Lighting Systems Components
Headlamp Switch, Ambient Light Sensor
Headlamp Switch, Ambient Light Sensor
Headlamp Switch, Ambient Light Sensor
Handling ESD Sensitive Parts Notice
Temperature Sensors

Circuit Description

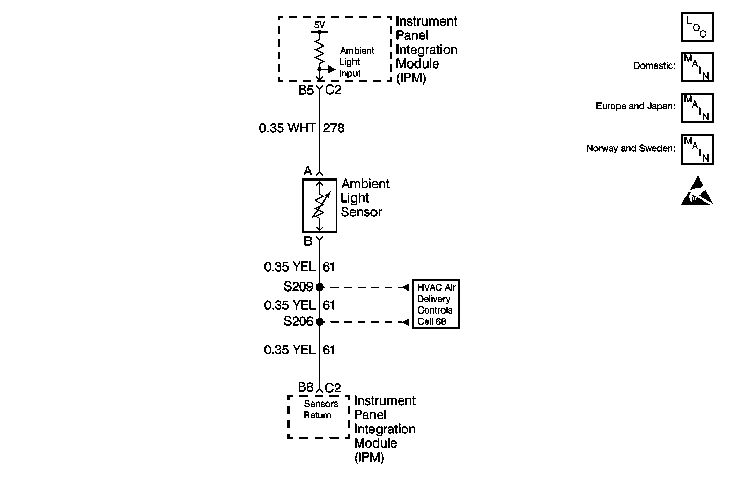
The instrument panel integration module (IPM) receives an input from the ambient light sensor. The IPM supplies the ground for the sensor through the sensor return. The resistance of the ambient light sensor varies as the outside light changes. When the resistance of the ambient light sensor is less than 23 Kohms for bright light. It is greater than 31 Kohms for complete darkness. As the resistance of the ambient light sensor varies, the voltage input to the IPM changes. The IPM determines whether it is light or dark outside. The IPM then sends a message via the class 2 serial data line to the dash integration module (DIM) and the rear integration module (RIM) indicating whether it is light or dark outside.

Conditions for Setting the DTC

The IPM will set the DTC B2419 any time it detects that the ambient sensor input voltage is out of range.

Specification
Normal sensor input voltage: 0.33-4.70 V

Action Taken When the DTC Sets

The IPM will assume that the ambient light level indicates darkness for all functions needing the outside light status.

Conditions for Clearing the DTC

    • The IPM sees that the ambient light sensor input voltage is within the valid range.
    • Use the On-Boards clearing DTCs feature.
    • Use a scan tool.

Test Description

The numbers below refer to the step numbers on the diagnostic table:

  1. Perform the Lighting Systems Diagnostic System Check before continuing with the diagnosis of this DTC.

  2. Checks if the value that the instrument panel integration module (IPM) is reading from the ambient light sensor is too high.

  3. Checks if the value that the instrument panel integration module (IPM) is reading from the ambient light sensor is too low.

  4. Checks if the DTC is still set.

  5. Checks if the resistance of the ambient light sensor is too high.

  6. Checks if the resistance of the ambient light sensor is too low.

  7. Clear all DTCs after the repair procedure is complete.

Step

Action

Value(s)

Yes

No

1

Did you perform the Lighting Systems Diagnostic System Check?

--

Go to Step 2

Go to Diagnostic System Check - Lighting Systems

2

  1. Turn the ignition switch to the ON position.
  2. Connect a scan tool to the data link connector (DLC).
  3. Select Open/Short Data from the Instrument Panel Integration Module (IPM) Data Display.
  4. Set the Ambient Light Sensor units to Counts.
  5. Cover the ambient light sensor.

Is the ambient light sensor value greater than the specified value?

250 Counts

Go to Step 6

Go to Step 3

3

Expose the ambient light sensor to a bright incandescent light.

Is the ambient light sensor value less than the specified value?

5 Counts

Go to Step 9

Go to Step 4

4

  1. Clear DTCs.
  2. Cycle the ignition switch from the OFF to ON position.
  3. Check the instrument panel integration module (IPM) for DTCs.

Is DTC B2419 set as current?

--

Go to Step 5

Go to Testing for Intermittent Conditions and Poor Connections in Wiring Systems.

5

Replace the instrument panel integration module (IPM). Refer to Instrument Panel Module Replacement in Body Control System.

Is the IPM replacement complete?

--

Go to Step 14

--

6

  1. Turn the ignition switch to the OFF position.
  2. Disconnect the ambient light sensor connector.
  3. Connect a DMM from the ambient light sensor cavity A (WHT) to cavity B (YEL).

Is the resistance greater than the specified value?

31 Kohms

Go to Step 12

Go to Step 7

7

  1. Disconnect the instrument panel integration module (IPM) connector C2.
  2. Connect a DMM from the IPM connector C2 cavity B5 (WHT) to the ambient light sensor connector cavity A (WHT).

Is the resistance less than the specified value?

5 ohms

Go to Step 8

Go to Step 13

8

Repair the open in CKT 61 (YEL) between S209 and the ambient light sensor. Refer to Wiring Repairs in Wiring Systems.

Is the circuit repair complete?

--

Go to Step 14

--

9

  1. Turn the ignition switch to the OFF position.
  2. Disconnect the ambient light sensor connector.
  3. Connect a DMM from the ambient light sensor cavity A (WHT) to cavity B (YEL).

Is the resistance greater than the specified value?

23 Kohms

Go to Step 12

Go to Step 10

10

  1. Disconnect the instrument panel integration module (IPM) connector C2.
  2. Connect a DMM from the IPM connector C2 cavity B8 (YEL) to ground.

Is the resistance less than the specified value?

5 ohms

Go to Step 11

Go to Step 5

11

Repair the short to ground in CKT 61 (YEL). Refer to Wiring Repairs in Wiring Systems.

Is the circuit repair complete?

--

Go to Step 14

--

12

Replace the ambient light sensor. Refer to Sunload and Twilight Sentinel Sensor Replacement in Instument Panel, Gauges and Console.

Is the ambient light sensor replacement complete?

--

Go to Step 14

--

13

Repair the open in CKT 278 (WHT) between the IPM and the ambient light sensor. Refer to Wiring Repairs in Wiring Systems.

Is the circuit repair complete?

--

Go to Step 14

--

14

  1. Use the scan tool in order to clear the DTCs.
  2. Operate the vehicle within the Conditions for Running the DTC as specified in the supporting text.

Does the DTC reset?

--

Go to Step 2

System OK.