GM Service Manual Online
For 1990-2009 cars only
Figure 1:

Power, Ground, and Components


Object Number: 642352  Size: FS
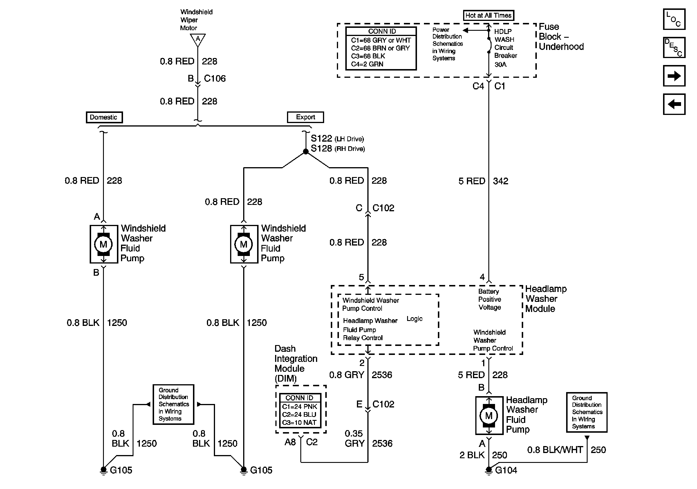
Headlamp Washer (Export)
Wiper/Washer Component Views
Wiper/Washer System Description and Operation
Power to Underhood Fuse Block
G101 and G105
Headlamp Washer (Export)
Figure 2:

Headlamp Washer (Export)


Object Number: 700394  Size: FS
Wiper/Washer Component Views
Power, Ground, and Components
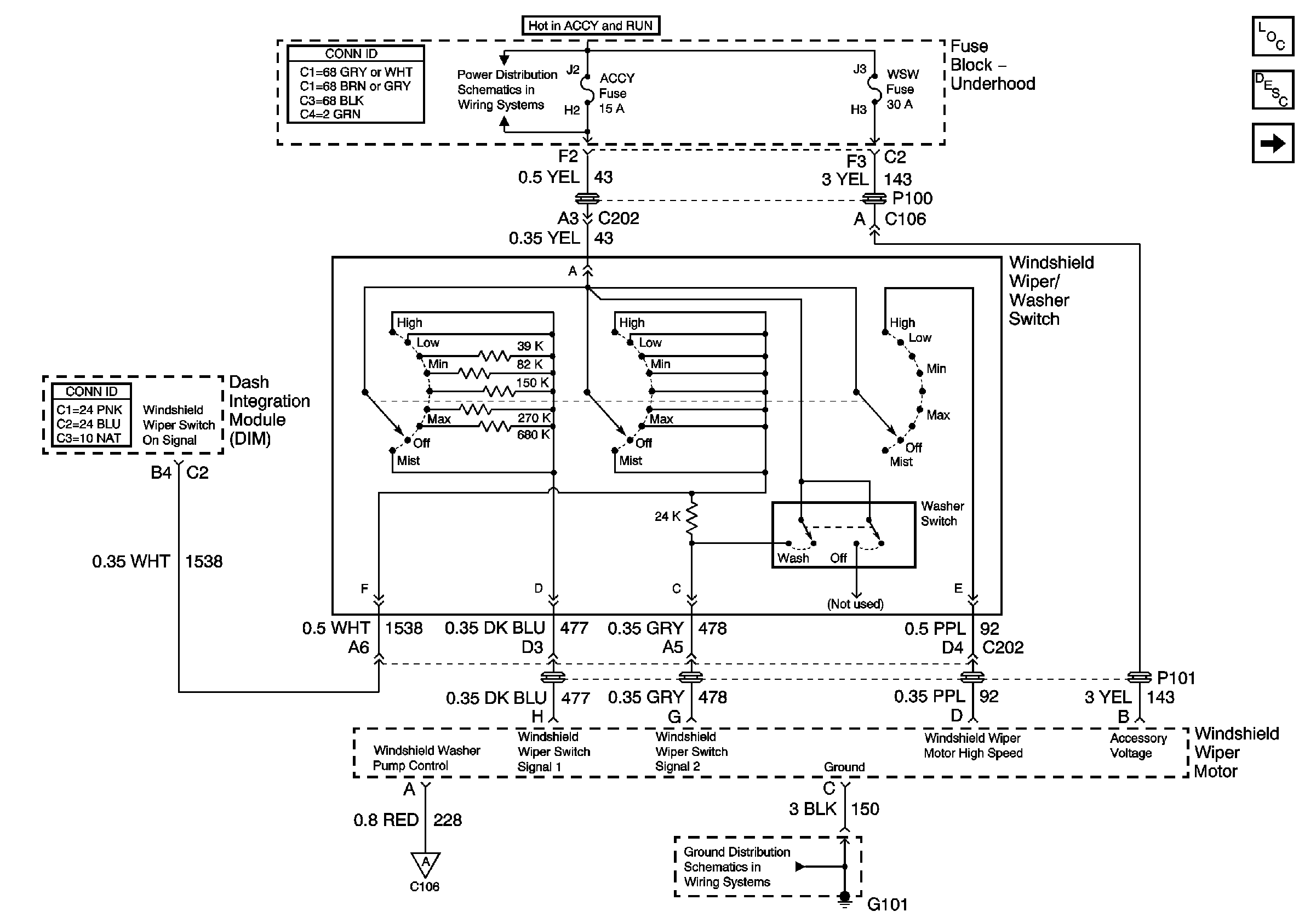
Wiper System w/CE1
Headlamp Washer System Description and Operation
Power, Ground, and Components
Power to Underhood Fuse Block
G101 and G105
G104
Figure 3:

Wiper System w/CE1


Object Number: 642353  Size: FS
Headlamp Washer (Export)
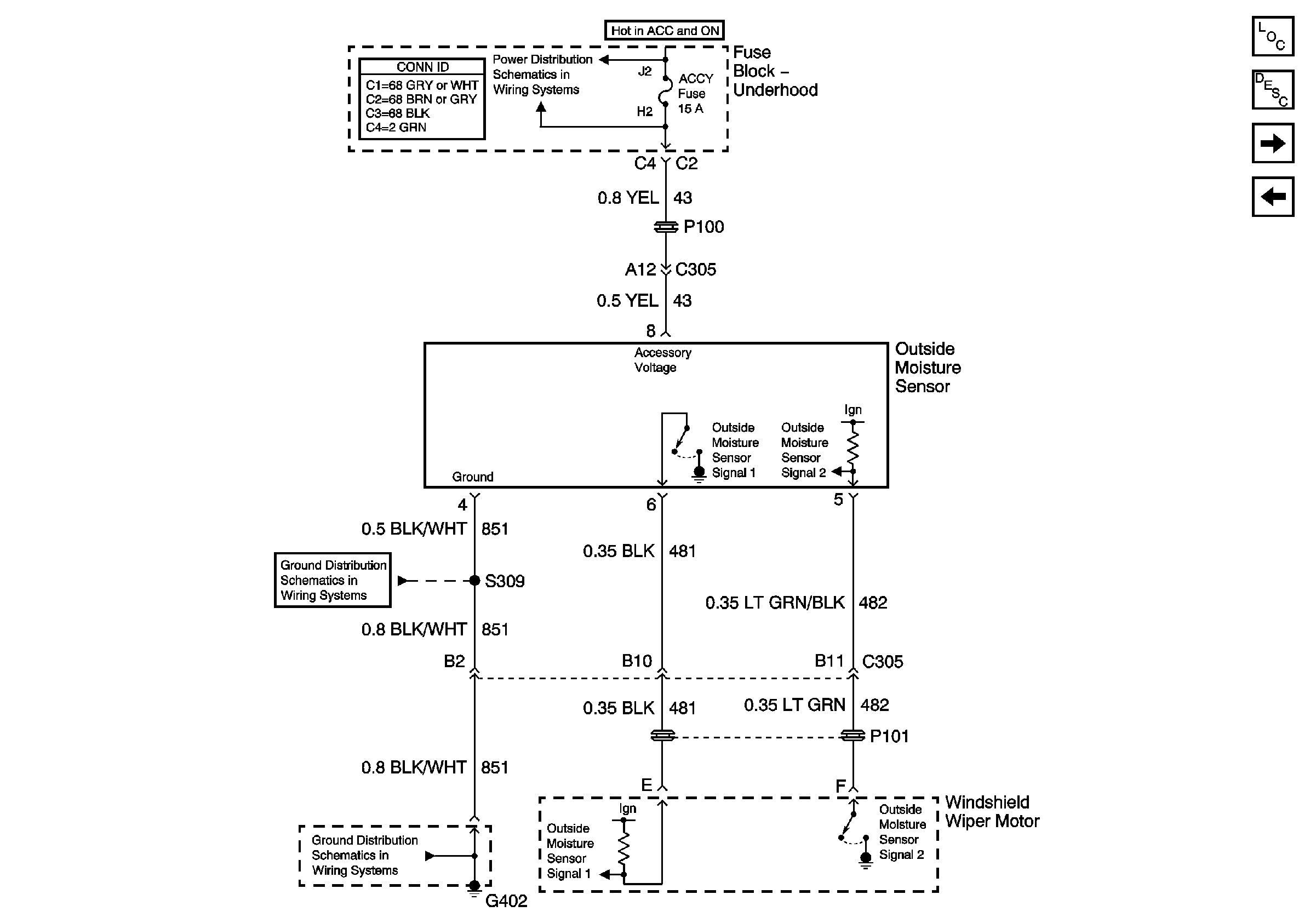
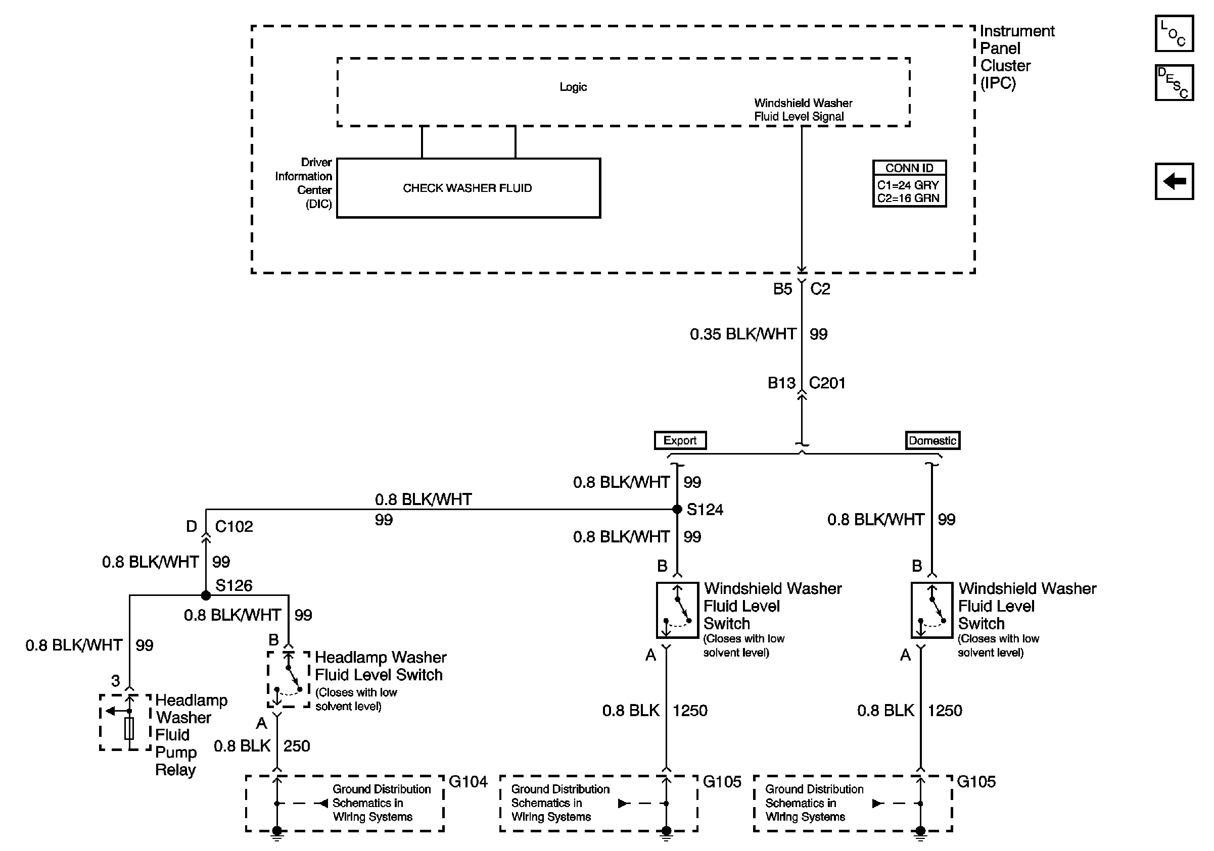
Washer Solvent Level Switch
Wiper/Washer Component Views
Wiper/Washer System Description and Operation
Power to Underhood Fuse Block
G402 (1 of 2)
G402 (1 of 2)
Figure 4:

Washer Solvent Level Switch


Object Number: 642354  Size: FS
Wiper System w/CE1
Wiper/Washer Component Views
Headlamp Washer System Description and Operation
G104
G101 and G105
G101 and G105