GM Service Manual Online
For 1990-2009 cars only
Makes
🢒
Cadillac
🢒
2001
🢒
Seville
🢒
Body and Accessories
🢒
Wiring Systems
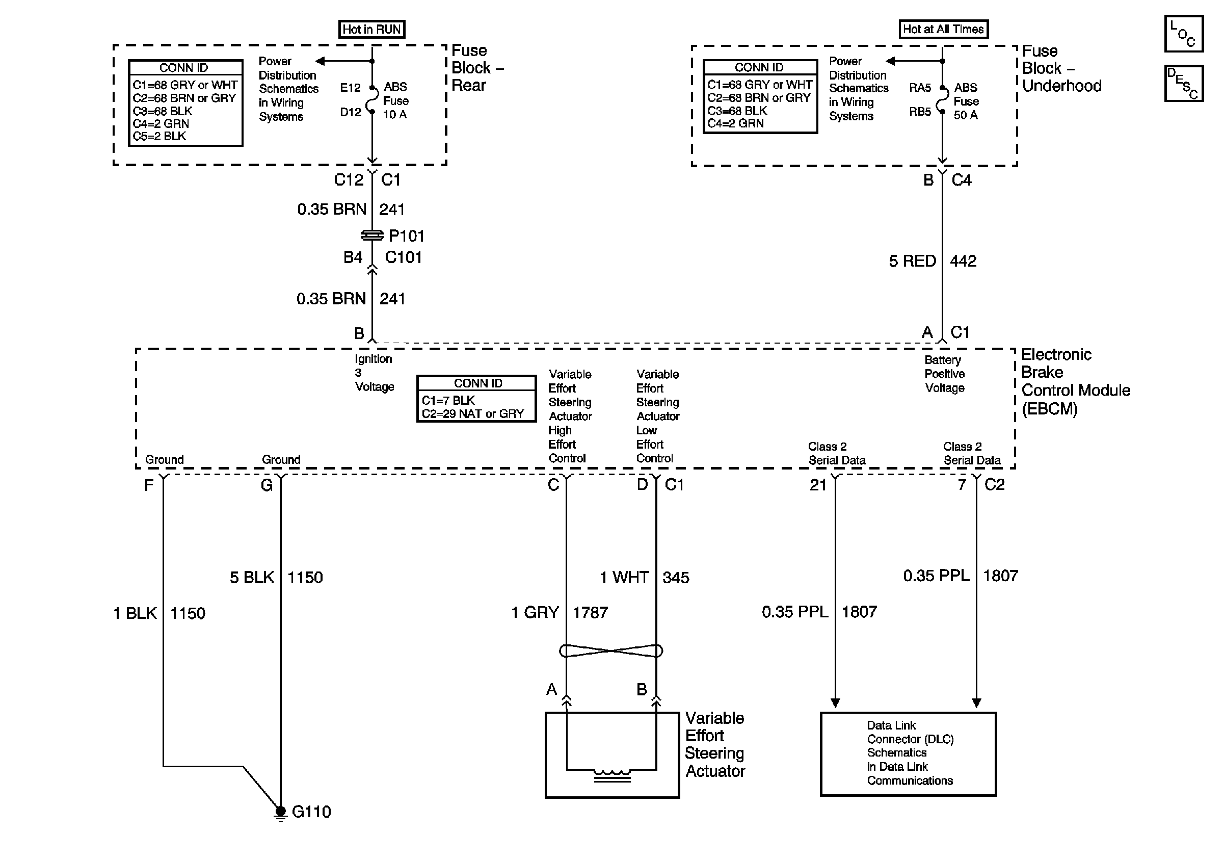
🢒 Steering Assist Schematics
Power and Ground
Steering Assist Component Views
Variable Effort Steering System Description and Operation
Battery Feeds
Power to Underhood Fuse Block
Class 2 Serial Data Line (LH Drive) (1 of 2)