GM Service Manual Online
For 1990-2009 cars only
Makes
🢒
Cadillac
🢒
2001
🢒
Seville
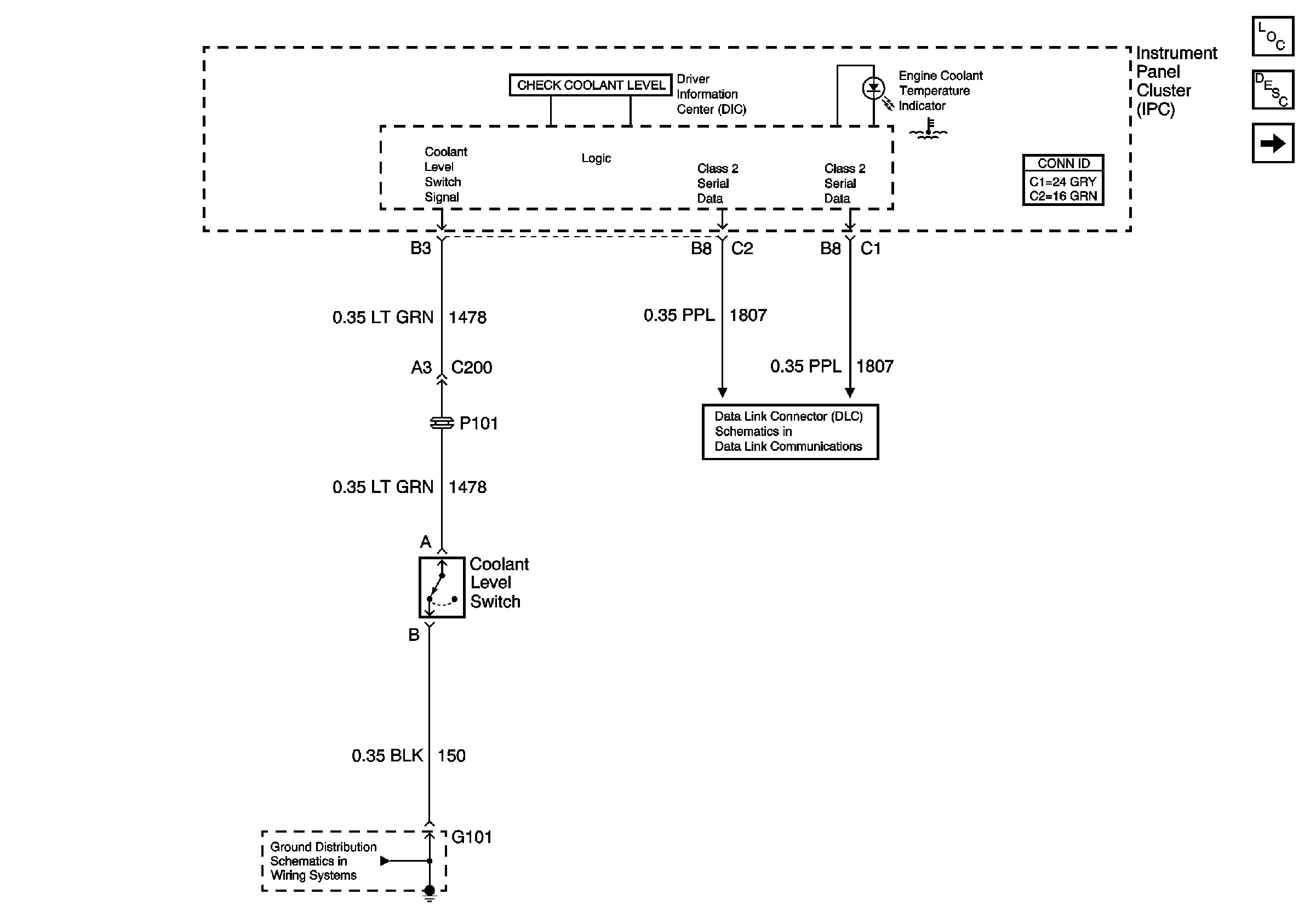
🢒 Engine Coolant Temperature Indicator
Engine Coolant Temperature Indicator
Engine Coolant Temperature Indicator
Cooling Fans
Cooling System Component Views
Cooling System Description and Operation
Class 2 Serial Data Line (LH Drive) (1 of 2)
G101 and G105