GM Service Manual Online
For 1990-2009 cars only
Makes
🢒
Cadillac
🢒
2001
🢒
Seville
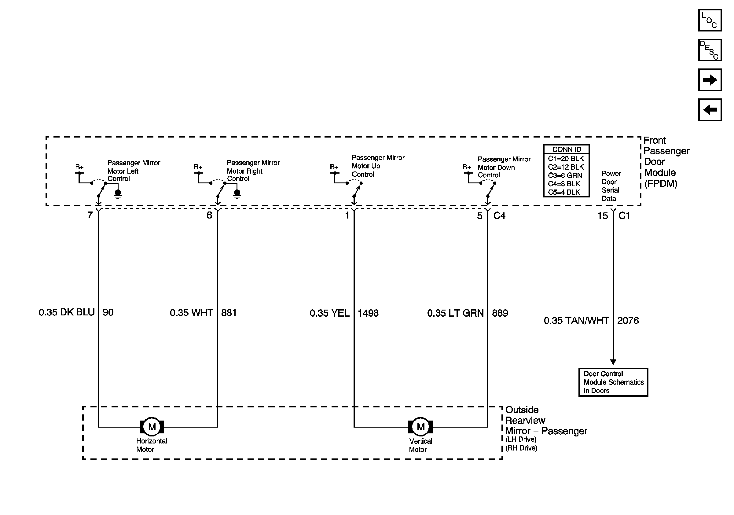
🢒 Passenger Power Mirror (w/o A45)
Passenger Power Mirror (w/o A45)
Passenger Power Mirror (w/o A45)
Driver Power Mirror (w/o A45)
Heated Mirrors
Power Door Systems Component Views
Outside Mirror Description and Operation
Power Door Serial Data