GM Service Manual Online
For 1990-2009 cars only
Makes
🢒
Cadillac
🢒
2001
🢒
Seville
🢒 Heated Mirrors
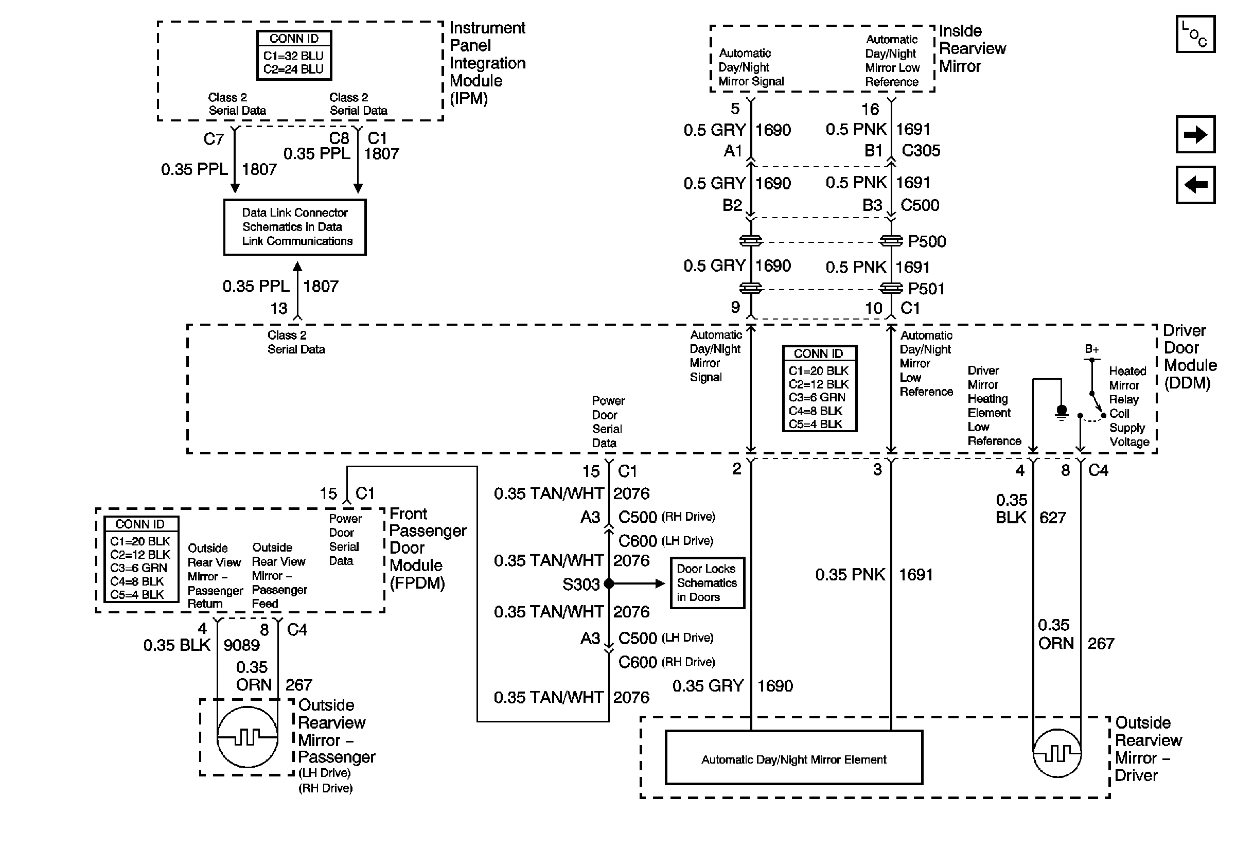
Heated Mirrors
Heated Mirrors
Passenger Power Mirror (w/o A45)
Express Folding Mirrors
Power Door Systems Component Views
Outside Mirror Description and Operation
Class 2 Serial Data Line (LH Drive) (2 of 2)
Driver and LR Doors