GM Service Manual Online
For 1990-2009 cars only
Makes
🢒
Cadillac
🢒
2001
🢒
Seville
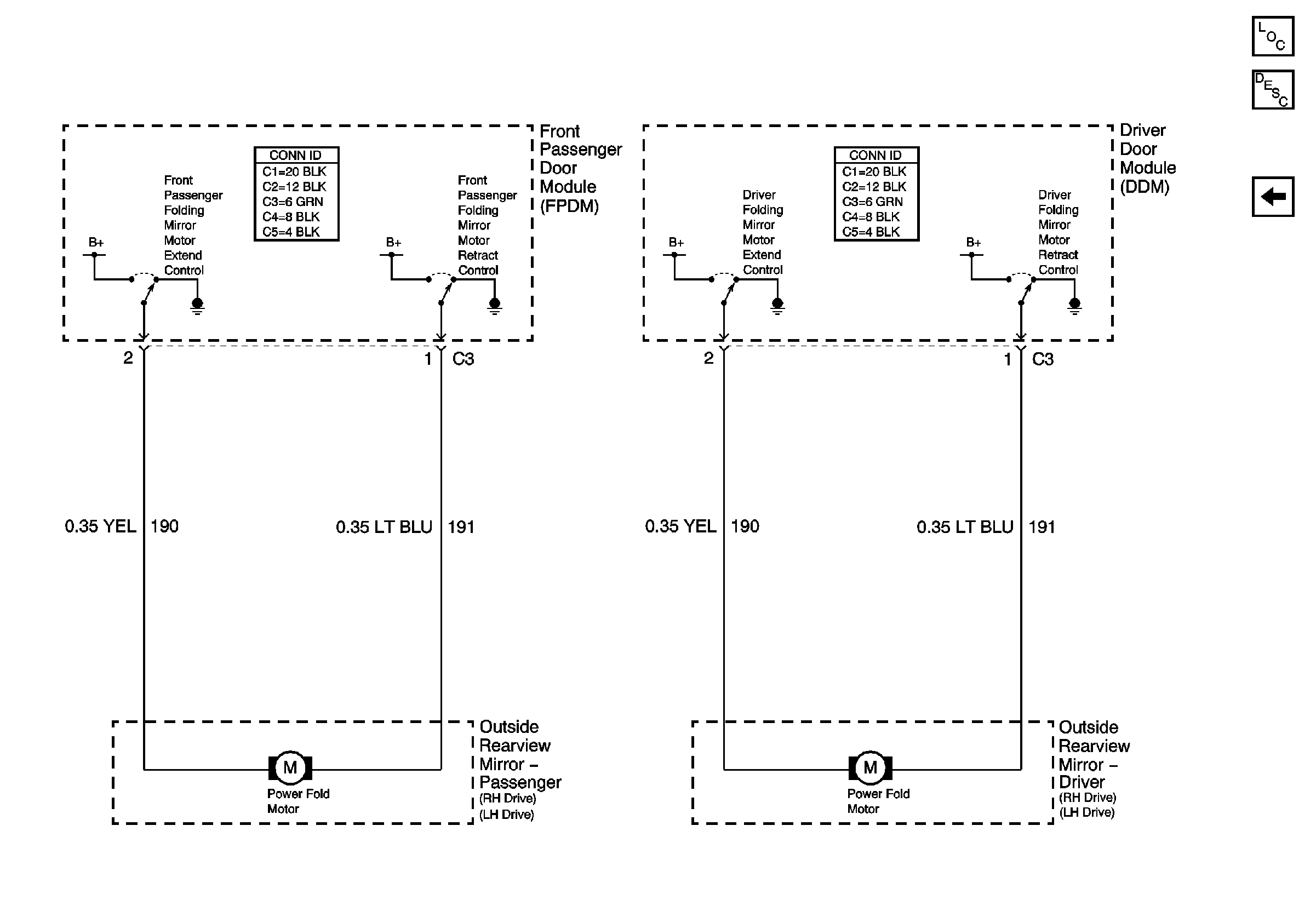
🢒 Express Folding Mirrors
Express Folding Mirrors
Express Folding Mirrors
Heated Mirrors
Power Door Systems Component Views
Outside Mirror Description and Operation