GM Service Manual Online
For 1990-2009 cars only
Makes
🢒
Cadillac
🢒
2001
🢒
Seville
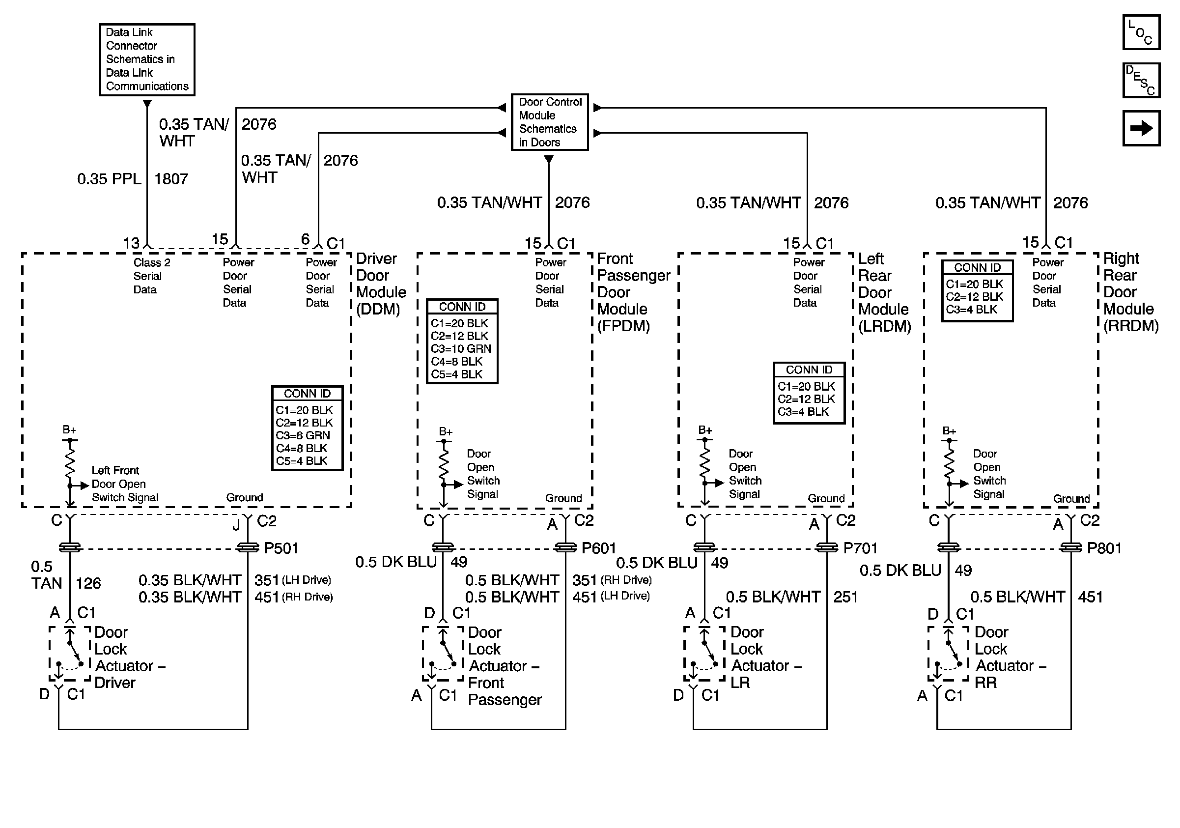
🢒 Door Lock Actuators
Door Lock Actuators
Door Lock Actuators
Interior Lamp Relays
Lighting Systems Component Views
Interior Lighting Systems Description and Operation
Power Door Serial Data
Class 2 Serial Data Line (LH Drive) (2 of 2)