GM Service Manual Online
For 1990-2009 cars only
Makes
🢒
Cadillac
🢒
2001
🢒
Seville
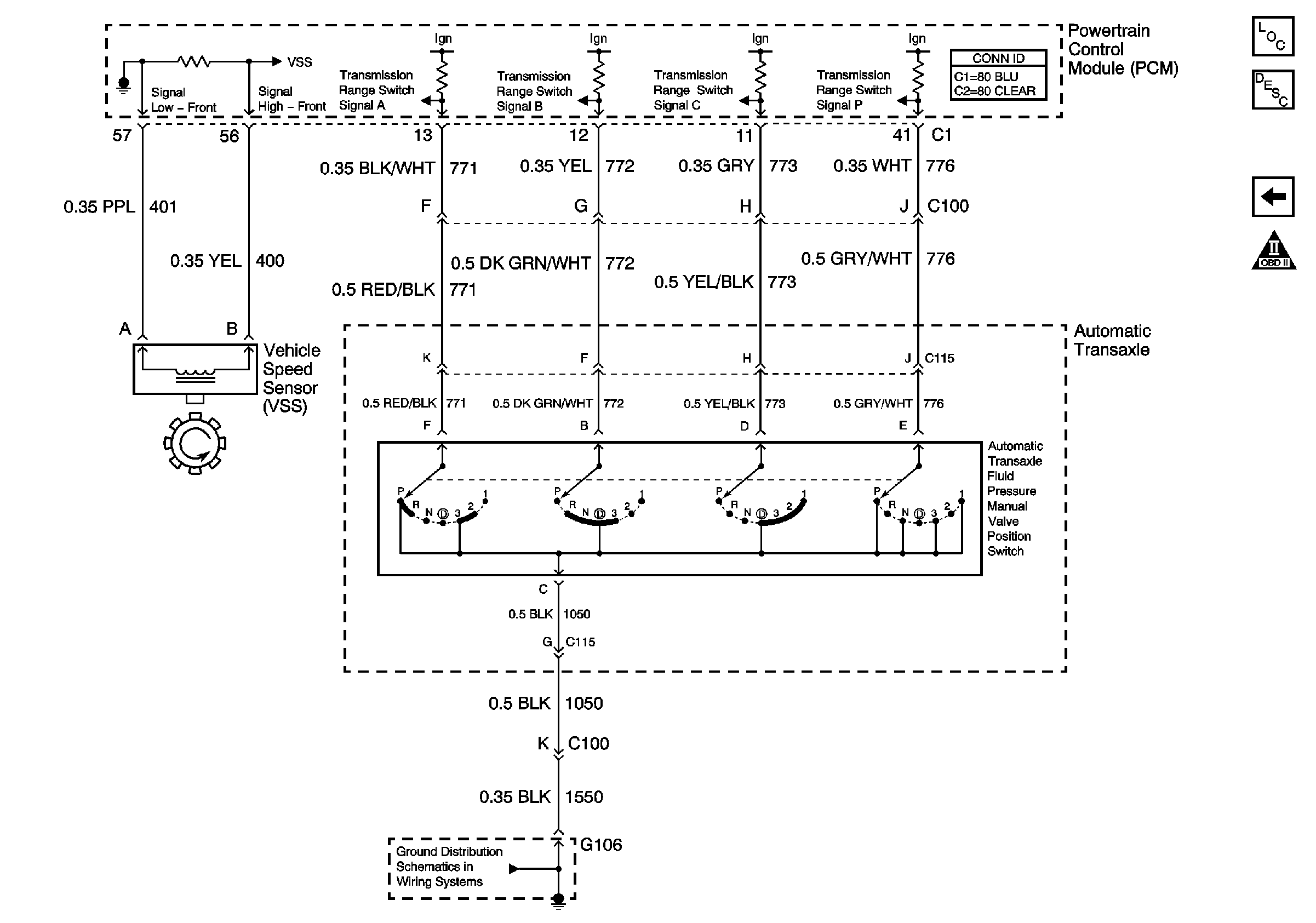
🢒 Automatic Transaxle Fluid Pressure Manual Valve Position Switch and VSS
Automatic Transaxle Fluid Pressure Manual Valve Position Switch and VSS
Automatic Transaxle Fluid Pressure Manual Valve Position Switch and VSS
Transaxle Sensors
Automatic Transmission Electronic Component Views
Transmission General Description
G106 and G108