GM Service Manual Online
For 1990-2009 cars only
Makes
🢒
Cadillac
🢒
2002
🢒
Seville
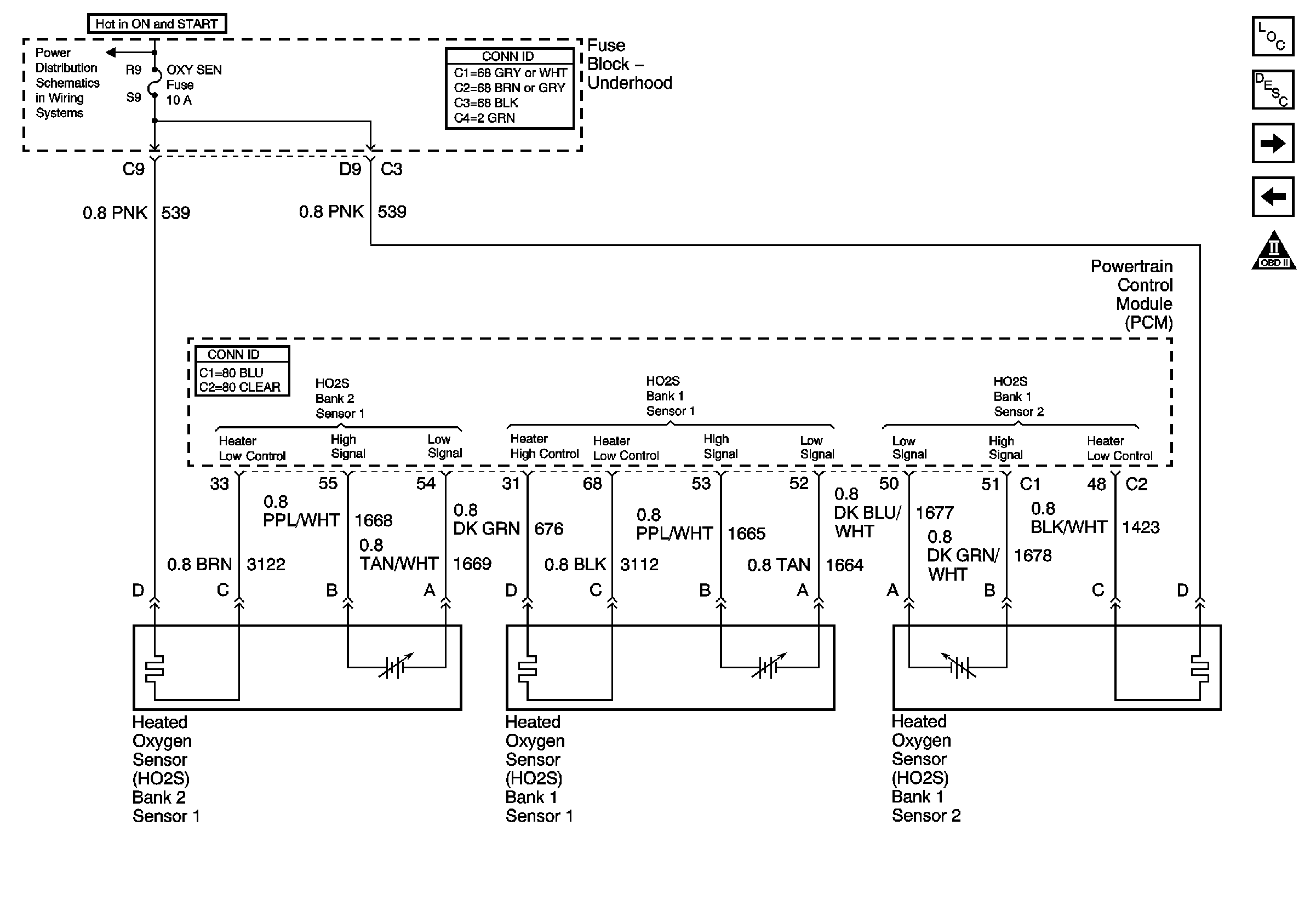
🢒 Engine Data Sensors-O2S and/or HO2S
Engine Data Sensors-O2S and/or HO2S
Engine Data Sensors-O2S and/or HO2S
Master Electrical Component List
Powertrain Control Module Description
Ignition Controls-Ignition System
Engine Data Sensors-Pressure and Temperature
Engine Controls Schematic Icons