GM Service Manual Online
For 1990-2009 cars only
Makes
🢒
Cadillac
🢒
2003
🢒
Seville
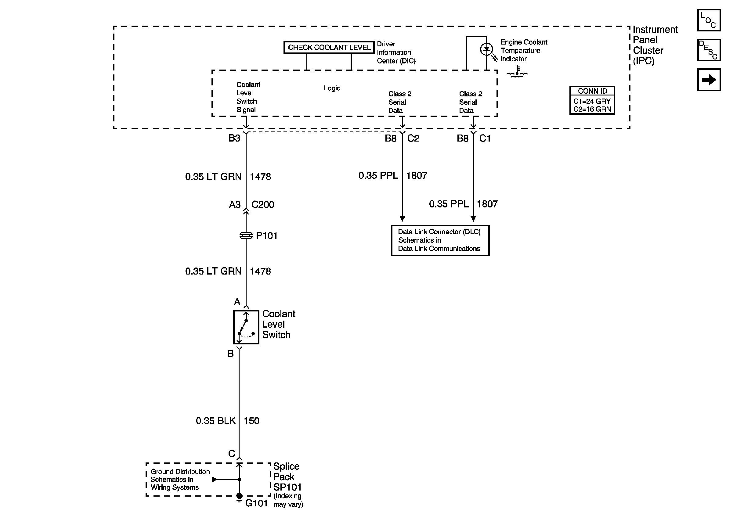
🢒 Engine Coolant Level Indicator
Engine Coolant Level Indicator
Engine Coolant Level Indicator
Master Electrical Component List
Cooling System Description and Operation
Cooling Fans
G101 and G105