GM Service Manual Online
For 1990-2009 cars only
Makes
🢒
Cadillac
🢒
1998
🢒
Seville - RHD
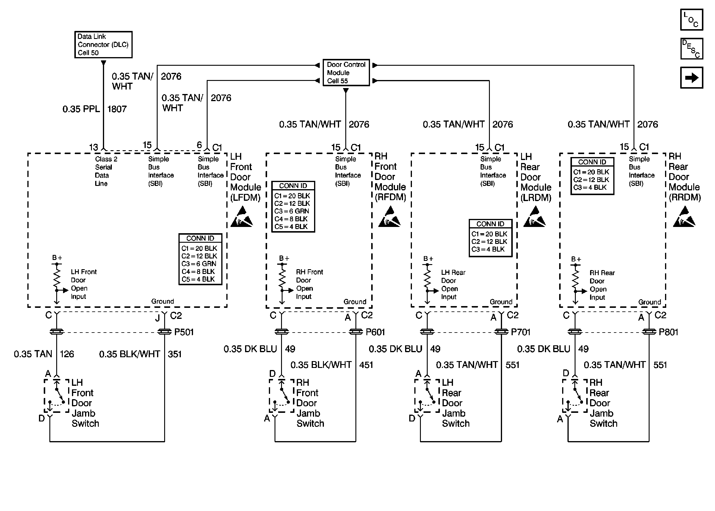
🢒 Cell 114: Door Jamb Switches
Cell 114: Door Jamb Switches
Cell 114: Door Jamb Switches
Lighting Systems Components
Interior Lights Circuit Description
Cell 114: Interior Lamp Relays
Handling ESD Sensitive Parts Notice
Handling ESD Sensitive Parts Notice
Handling ESD Sensitive Parts Notice
Handling ESD Sensitive Parts Notice
Cell 50: Class Serial Data Line (1 of 2)
Door Control Module Schematics
Power Door Systems Connector End Views
Power Door Systems Connector End Views
Power Door Systems Connector End Views
Power Door Systems Connector End Views