GM Service Manual Online
For 1990-2009 cars only

Tools Required

    • J 42155 Getrag Axle Differential Housing Lifting Tool
    • J 42168-1 Shim Measuring Tool
    • J 42168-2 Shim Measuring Tool
    • J 42168-7 Shim Measuring Tool
    • J 42168-9 Shim Measuring Tool
    • J 42168-11 Shim Measuring Tool
    • J 42168-13 Gage Plate Assembly
    • J 42168-15 Compressor Assembly
    • J 42168-16 Spacers
    • J 42170 Getrag Axle Bearing Race Installer
    • J 42173 Getrag Axle Ring Gear Holder

    Object Number: 354439  Size: SH
  1. Remove the J 42168-9 and thumbscrew from the J 42168-1 .

  2. Object Number: 354433  Size: SH
  3. Remove the J 42168-1 from the left bearing race bore of the differential housing.

  4. Object Number: 708132  Size: SH

    Important: Level the tool in order to obtain accurate measurements.

  5. Install the J 42168-13 into a vice.

  6. Object Number: 1041946  Size: SH
  7. Position the bearing race (104) onto the J 42168-13 .
  8. Use the J 42173 in order to position the differential case (1) onto the J 42168-13 and into the bearing race (104). Rotate the differential, in both directions, in order to seat the bearing to the race.

  9. Object Number: 84676  Size: SH
  10. Install the J 42168-7  (2) into the hole in J 42168-2  (1). Loosen the thumbscrew and allow the rod to contact the bottom of the bearing race bore, machined surface (3).
  11. Tighten the thumbscrew.
  12. Remove the J 42168-7 from the J 42168-2 .

  13. Object Number: 1041947  Size: SH
  14. Install the J 42168-7  (2) into one of the two oil passages of the differential (1). The tapered portion of the tool will wedge and be retained into the differential.
  15. Rotate the differential until the rod of J 42168-7 is above the J 42168-13  (3) gage block.

  16. Object Number: 1041955  Size: SH
  17. The J 42168-13 upper gage block location (1) is used when servicing 2.73 and 2.93 ratio differentials. The lower gage block location (2) is used when servicing the 3.15 and 3.42 ratio differentials.

  18. Object Number: 1041958  Size: SH
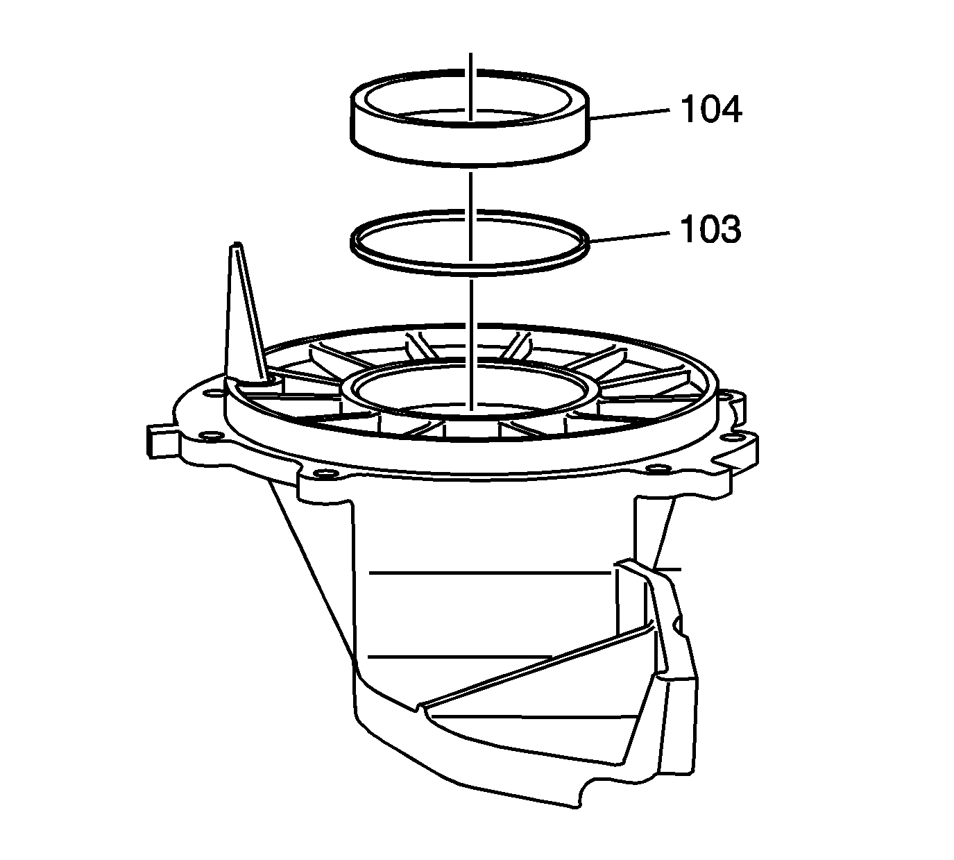
  19. Using a feeler gage, measure the distance between the rod of J 42168-7 and the gage block of J 42168-13 . Record the measurement as dimension C1.
  20. Subtract C1 value from a C nominal value of 5 mm (0.197 in). Record that calculation as C2.
  21. Refer to the applicable calculation table in Spacer and Shim Specifications .


    Object Number: 708130  Size: SH
  22. Locate the A2 value (2) on the side of the ring gear.
  23. Important: The A2 value is a manufacturing variation between the ring gear and pinion. The A2 value may be higher, lower, or equal to 74.5 mm (2.93 in), 2.93 ratio differential, nominal value. When subtracting the D nominal value from the A2 value, the C3 calculation may compute to a positive, negative, or zero total.

  24. Subtract the D nominal value of 74.5 mm (2.93 in) from the A2 value. Record the calculation as C3.
  25. Add the C2 value to the C3 value for the proper left side differential bearing shim thickness. The C3 value may be a positive, negative, or zero value.

  26. Object Number: 177407  Size: SH
  27. Select shims equal to the calculated value. It may be necessary to round the shim or shims total to obtain the proper shim sizes. If the shim thickness calculation is past the midpoint value, round the number to the next decimal value. Refer to Rear Axle Specifications .
  28. Remove the pinion housing/cage bolts (1).

  29. Object Number: 1041943  Size: SH
  30. Remove the pinion housing/cage (4) from the differential.

  31. Object Number: 354430  Size: SH
  32. Remove the J 42168-11 , bearings (3 and 6), spacer (5), and J 42168-2  (7) from the pinion housing/cage (4).

  33. Object Number: 1041924  Size: SH
  34. Use the J 42170 and a hydraulic press in order to install the selected shims (103) and bearing race (104) to the differential housing.

  35. Object Number: 1041940  Size: SH
  36. Install the differential assembly (1) onto the J 42173  (2).
  37. Notice: Use the correct fastener in the correct location. Replacement fasteners must be the correct part number for that application. Fasteners requiring replacement or fasteners requiring the use of thread locking compound or sealant are identified in the service procedure. Do not use paints, lubricants, or corrosion inhibitors on fasteners or fastener joint surfaces unless specified. These coatings affect fastener torque and joint clamping force and may damage the fastener. Use the correct tightening sequence and specifications when installing fasteners in order to avoid damage to parts and systems.

  38. Install 4 M8 x 1.25 bolts (3).
  39. Tighten
    Tighten the bolts to 28 N·m (20 lb ft).


    Object Number: 1041963  Size: SH
  40. Use the J 42155 in order to install the differential case into the differential housing.

  41. Object Number: 1041967  Size: SH
  42. Install the right side bearing race (104), and the J 42168-15 onto the differential.

  43. Object Number: 1041970  Size: SH

    Important: In order to perform the shim selection procedure:

       • The oil seal must be removed from the cover - right.
       • The pinion housing/cage must NOT be installed to the differential case.

  44. Install the cover - right (3) and J 42168-16 bolts (1) and spacers (2) to the differential. Position the J 42168-16 bolts and spacers evenly apart.
  45. Tighten
    Tighten the bolts to 28 N·m (20 lb ft).


    Object Number: 1041973  Size: SH
  46. Insert a feeler gage into the J 42168-15 and measure the gap. The measured dimension is the right side differential bearing shim size.

  47. Object Number: 1041970  Size: SH
  48. Remove the bolts (1), cover (3), and tools.

  49. Object Number: 1041772  Size: SH
  50. Install the selected shim (103) and bearing race (104) to the cover - right.

  51. Object Number: 1041975  Size: SH
  52. Install the shim or shims and bearing race into the cover - right using the J 42170 and a hydraulic press. Refer to Rear Axle Assemble .