GM Service Manual Online
For 1990-2009 cars only

DTC P0748 Pressure Control Solenoid Circuit Electrical 2.4L


Object Number: 316067  Size: MF
Automatic Transmission Components
Automatic Transmission Controls Schematics
OBD II Symbol Description Notice
Handling ESD Sensitive Parts Notice

Circuit Description

The PCM uses the pressure control (PC) solenoid valve in order to regulate the transmission line pressure. The PC solenoid valve consists of an electrical connector, a coil, an armature, a regulating spring, and a poppet valve. The PC solenoid valve is attached to the upper control body. The PCM compares TP voltage, fluid temperature, gear states, and other inputs in order to determine the line pressure appropriate for a given load. The PCM regulates the pressure by applying a varying amperage to the PC solenoid valve. The applied amperage varies from 0.1 amps for maximum line pressure to 1.1 amps for minimum line pressure. The PCM then monitors the amperage at the return line.

When the PCM detects a continuous open or short to ground in the PC solenoid valve circuit, or the PC solenoid valve, then DTC P0748 sets. DTC P0748 is a type D DTC.

Conditions for Running the DTC

The system voltage is 8-18 volts.

Conditions for Setting the DTC

The PC solenoid valve duty cycle is 0% or greater than 95%.

Action Taken When the DTC Sets

    • The PCM does not illuminate the malfunction indicator lamp (MIL).
    • The PCM commands maximum line pressure (0 amps).
    • The PCM freezes shift adapts from being updated.
    • The PCM stores DTC P0748 in PCM history.

Conditions for Clearing the DTC

    • A scan tool clears the DTC from PCM history.
    • The PCM clears the DTC from PCM history if the vehicle completes 40 consecutive warm-up cycles without a non-emission-related diagnostic fault occurring.
    • The PCM cancels the DTC default actions when the fault no longer exists and the ignition switch is OFF long enough in order to power down the PCM.

Diagnostic Aids

    • Inspect the wiring at the PCM, the transmission 20-way connector and the PC solenoid valve 2-way connector for the following conditions:
       - A backed out terminal
       - A damaged terminal
       - Reduced terminal tension
       - A chafed wire
       - A broken wire inside the insulation
       - Moisture intrusion
       - Corrosion
    • When diagnosing for an intermittent short or open condition, massage the wiring harness while watching the test equipment for a change.
    • Extended engine cranking with a weak battery could set DTC P0748.

Test Description

The numbers below refer to the step numbers on the diagnostic table.

  1. This step verifies the ability of the PCM to command the PC solenoid valve.

  2. This step verifies that the automatic transmission wiring harness and the PC solenoid valve have correct resistance.

DTC P0748 Pressure Control Solenoid Circuit -- Electrical (2.4L)

Step

Action

Value(s)

Yes

No

1

Was the Powertrain On-Board Diagnostic (OBD) System Check performed?

--

Go to Step 2

Go to Powertrain On Board Diagnostic (OBD) System Check

2

  1. Install the Scan Tool .
  2. Turn the ignition switch to the RUN position.
  3. Important: Before clearing the DTCs, use the scan tool in order to record the Failure Records. Using the Clear Info function erases the Failure Records from the PCM.

  4. Record the Failure Records.
  5. Clear the DTCs.
  6. Start the engine.
  7. Using the scan tool, apply 0.1 amps through 1.0 amps.
  8. Observe the scan tool display.

Does the PC Sol. Actual Current amp reading differ from the PC Sol. Ref. Current amp reading by no more than the specified amount?

0.16 amps

Go to Diagnostic Aids

Go to Step 3

3

  1. Turn the ignition switch OFF.
  2. Disconnect the transmission 20-way connector (additional DTCs will set).
  3. Install the J 39775 jumper harness to the transmission side of the 20-way connector.
  4. Using the J 35616-A connector test adapter kit, connect the J 39200 digital multimeter (DMM) from terminal C to terminal D and measure the resistance.

Is the resistance within the specified range?

3-7 ohms

Go to Step 7

Go to Step 4

4

Is the resistance greater than the specified value?

7 ohms

Go to Step 5

Go to Step 6

5

  1. Inspect circuit 1228 from the transmission 20-way connector to the PC solenoid valve for an open.
  2. Inspect circuit 1229 from the transmission 20-way connector to the PC solenoid valve for an open.

Refer to General Electrical Diagnosis in Wiring Systems.

Was a condition found?

--

Go to Step 19

Go to Step 9

6

Inspect circuit 1228 and circuit 1229 from the transmission 20-way connector to the PC solenoid valve for being shorted together.

Refer to General Electrical Diagnosis in Wiring Systems.

Was the condition found?

--

Go to Step 19

Go to Step 9

7

Measure the resistance from terminal D to a good ground.

Is the resistance less than the specified value?

1,000 ohms

Go to Step 8

Go to Step 10

8

  1. Inspect circuit 1228 from the transmission 20-way connector to the PC solenoid valve for a short to ground.
  2. Inspect circuit 1229 from the transmission 20-way connector to the PC solenoid valve for a short to ground.

Refer to General Electrical Diagnosis in Wiring Systems.

Was a condition found?

--

Go to Step 19

Go to Step 9

9

Replace the PC solenoid valve.

Refer to Control and Shift Solenoids Replacement.

Is the replacement complete?

--

Go to Step 21

--

10

  1. Disconnect the J 39775 from the transmission 20-way connector.
  2. Install the J 39775 to the engine side of the 20-way connector.
  3. Disconnect the C2 PCM connector (additional DTCs will set).
  4. Using the J 35616-A , connect the J 39200 DMM from terminal D of the jumper harness to a good ground and measure the resistance.

Is the resistance less than the specified value?

10 ohms

Go to Step 11

Go to Step 12

11

Inspect circuit 1229 from the engine 20-way connector to the PCM connector for a short to ground.

Refer to General Electrical Diagnosis in Wiring Systems.

Was the condition found?

--

Go to Step 18

--

12

Using the J 35616-A , connect the J 39200 DMM from terminal D of the J 39775 to the PCM terminal C2-9 and measure the resistance.

Is the resistance less than the specified value?

10 ohms

Go to Step 14

Go to Step 13

13

Inspect circuit 1229 from the engine 20-way connector to the PCM connector for an open.

Refer to General Electrical Diagnosis in Wiring Systems.

Was the condition found?

--

Go to Step 18

--

14

Using the J 35616-A , connect the J 39200 DMM from terminal C of the J 39775 to a good ground and measure the resistance.

Is the resistance less than the specified value?

10 ohms

Go to Step 15

Go to Step 16

15

Inspect circuit 1228 from the engine 20-way connector to the PCM connector for a short to ground.

Refer to General Electrical Diagnosis in Wiring Systems.

Was the condition found?

--

Go to Step 18

--

16

Using the J 35616-A , connect the J 39200 DMM from terminal C of the jumper harness to the PCM terminal C2-6 and measure the resistance.

Is the resistance less than the specified value?

10 ohms

Go to Step 20

Go to Step 17

17

Inspect circuit 1228 from the engine 20-way connector to the PCM connector for an open.

Refer to General Electrical Diagnosis in Wiring Systems.

Was the condition found?

--

Go to Step 18

--

18

Repair the wiring as necessary.

Refer to Wiring Repairs in Wiring Systems.

Is the repair complete?

--

Go to Step 21

--

19

Replace the automatic transmission wiring harness.

Refer to Unit Repair.

Is the replacement complete?

--

Go to Step 21

--

20

Replace the PCM.

Refer to Powertrain Control Module Replacement/Programming in Engine Controls.

Is the replacement complete?

--

Go to Step 21

--

21

Perform the following procedure in order to verify the repair:

  1. Select DTC.
  2. Select Clear Info.
  3. Turn the ignition switch to the RUN position.
  4. Select Specific DTC.
  5. Enter DTC P0748.

Has the test run and passed?

--

System OK

Go to Step 1

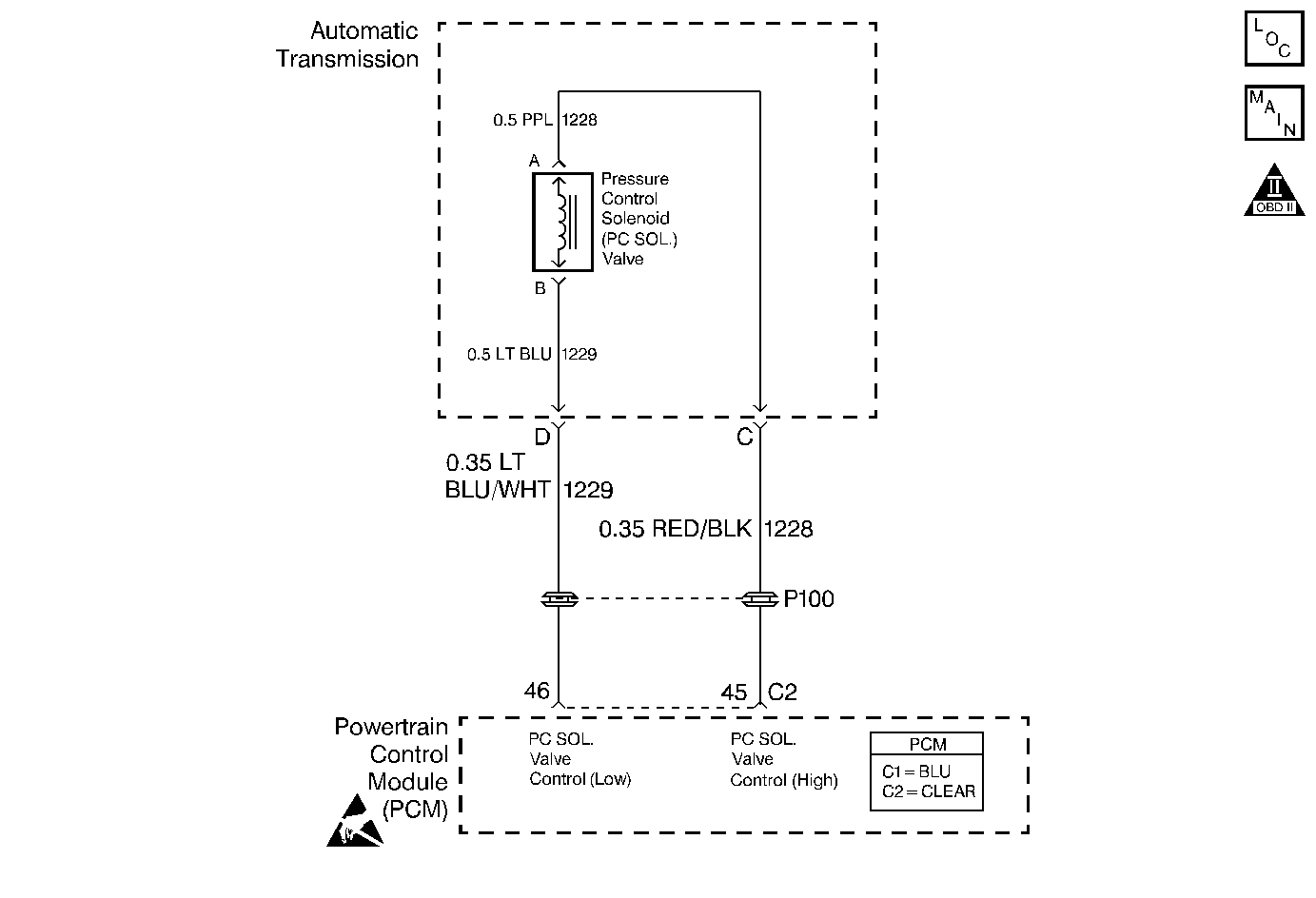
DTC P0748 Pressure Control Solenoid Circuit Electrical 3.4L


Object Number: 316134  Size: MF
Automatic Transmission Components
Automatic Transmission Controls Schematics
OBD II Symbol Description Notice
Handling ESD Sensitive Parts Notice

Circuit Description

The PCM uses the pressure control (PC) solenoid valve in order to regulate the transmission line pressure. The PC solenoid valve consists of an electrical connector, a coil, an armature, a regulating spring, and a poppet valve. The PC solenoid valve is attached to the upper control body. The PCM compares TP voltage, fluid temperature, gear states, and other inputs in order to determine the line pressure appropriate for a given load. The PCM regulates the pressure by applying a varying amperage to the PC solenoid valve. The applied amperage varies from 0.1 amps for maximum line pressure to 1.1 amps for minimum line pressure. The PCM then monitors the amperage at the return line.

When the PCM detects a continuous open or short to ground in the PC solenoid valve circuit, or the PC solenoid valve, then DTC P0748 sets. DTC P0748 is a type D DTC.

Conditions for Running the DTC

The system voltage is 8-18 volts.

Conditions for Setting the DTC

The PC solenoid valve duty cycle is 0% or greater than 95%.

Action Taken When the DTC Sets

    • The PCM does not illuminate the malfunction indicator lamp (MIL).
    • The PCM commands maximum line pressure (0 amps).
    • The PCM freezes shift adapts from being updated.
    • The PCM stores DTC P0748 in PCM history.

Conditions for Clearing the DTC

    • A scan tool clears the DTC from PCM history.
    • The PCM clears the DTC from PCM history if the vehicle completes 40 consecutive warm-up cycles without a non-emission-related diagnostic fault occurring.
    • The PCM cancels the DTC default actions when the fault no longer exists and the ignition switch is OFF long enough in order to power down the PCM.

Diagnostic Aids

    • Inspect the wiring at the PCM, the transmission 20-way connector and the PC solenoid valve 2-way connector for the following conditions:
       - A backed out terminal
       - A damaged terminal
       - Reduced terminal tension
       - A chafed wire
       - A broken wire inside the insulation
       - Moisture intrusion
       - Corrosion
    • When diagnosing for an intermittent short or open condition, massage the wiring harness while watching the test equipment for a change.
    • Extended engine cranking with a weak battery could set DTC P0748.

Test Description

The numbers below refer to the step numbers on the diagnostic table.

  1. This step verifies the ability of the PCM to command the PC solenoid valve.

  2. This step verifies that the automatic transmission wiring harness and the PC solenoid valve have correct resistance.

DTC P0748 Pressure Control Solenoid Circuit -- Electrical (3.4L)

Step

Action

Value(s)

Yes

No

1

Was the Powertrain On-Board Diagnostic (OBD) System Check performed?

--

Go to Step 2

Go to Powertrain On Board Diagnostic (OBD) System Check

2

  1. Install the Scan Tool .
  2. Turn the ignition switch to the RUN position.
  3. Important: Before clearing the DTCs, use the scan tool in order to record the Failure Records. Using the Clear Info function erases the Failure Records from the PCM.

  4. Record the Failure Records.
  5. Clear the DTCs.
  6. Start the engine.
  7. Using the scan tool, apply 0.1 amps through 1.0 amps.
  8. Observe the scan tool display.

Does the PC Sol. Actual Current amp reading differ from the PC Sol. Ref. Current amp reading by no more than the specified amount?

0.16 amps

Go to Diagnostic Aids

Go to Step 3

3

  1. Turn the ignition switch OFF.
  2. Disconnect the transmission 20-way connector (additional DTCs will set).
  3. Install the J 39775 jumper harness to the transmission side of the 20-way connector.
  4. Using the J 35616-A connector test adapter kit, connect the J 39200 digital multimeter (DMM) from terminal C to terminal D and measure the resistance.

Is the resistance within the specified range?

3-7 ohms

Go to Step 7

Go to Step 4

4

Is the resistance greater than the specified value?

7 ohms

Go to Step 5

Go to Step 6

5

  1. Inspect circuit 1228 from the transmission 20-way connector to the PC solenoid valve for an open.
  2. Inspect circuit 1229 from the transmission 20-way connector to the PC solenoid valve for an open.

Refer to General Electrical Diagnosis in Wiring Systems.

Was a condition found?

--

Go to Step 19

Go to Step 9

6

Inspect circuit 1228 and circuit 1229 from the transmission 20-way connector to the PC solenoid valve for being shorted together.

Refer to General Electrical Diagnosis in Wiring Systems.

Was the condition found?

--

Go to Step 19

Go to Step 9

7

Measure the resistance from terminal D to a good ground.

Is the resistance less than the specified value?

1,000 ohms

Go to Step 8

Go to Step 10

8

  1. Inspect circuit 1228 from the transmission 20-way connector to the PC solenoid valve for a short to ground.
  2. Inspect circuit 1229 from the transmission 20-way connector to the PC solenoid valve for a short to ground.

Refer to General Electrical Diagnosis in Wiring Systems.

Was a condition found?

--

Go to Step 19

Go to Step 9

9

Replace the PC solenoid valve.

Refer to Control and Shift Solenoids Replacement.

Is the replacement complete?

--

Go to Step 21

--

10

  1. Disconnect the J 39775 from the transmission 20-way connector.
  2. Install the J 39775 to the engine side of the 20-way connector.
  3. Disconnect the C2 PCM connector (additional DTCs will set).
  4. Using the J 35616-A , connect the J 39200 DMM from terminal D of the jumper harness to a good ground and measure the resistance.

Is the resistance less than the specified value?

10 ohms

Go to Step 11

Go to Step 12

11

Inspect circuit 1229 from the engine 20-way connector to the PCM connector for a short to ground.

Refer to General Electrical Diagnosis in Wiring Systems.

Was the condition found?

--

Go to Step 18

--

12

Using the J 35616-A , connect the J 39200 DMM from terminal D of the jumper harness to the PCM terminal C2-46 and measure the resistance.

Is the resistance less than the specified value?

10 ohms

Go to Step 14

Go to Step 13

13

Inspect circuit 1229 from the engine 20-way connector to the PCM connector for an open.

Refer to General Electrical Diagnosis in Wiring Systems.

Was the condition found?

--

Go to Step 18

--

14

Using the J 35616-A , connect the J 39200 DMM from terminal C of the jumper harness to a good ground and measure the resistance.

Is the resistance less than the specified value?

10 ohms

Go to Step 15

Go to Step 16

15

Inspect circuit 1228 from the engine 20-way connector to the PCM connector for a short to ground.

Refer to General Electrical Diagnosis in Wiring Systems.

Was the condition found?

--

Go to Step 18

--

16

Using the J 35616-A , connect the J 39200 DMM from terminal C of the jumper harness to the PCM terminal C2-45 and measure the resistance.

Is the resistance less than the specified value?

10 ohms

Go to Step 20

Go to Step 17

17

Inspect circuit 1228 from the engine 20-way connector to the PCM connector for an open.

Refer to General Electrical Diagnosis in Wiring Systems.

Was the condition found?

--

Go to Step 18

--

18

Repair the wiring as necessary.

Refer to Wiring Repairs in Wiring Systems.

Is the repair complete?

--

Go to Step 21

--

19

Replace the automatic transmission wiring harness.

Refer to Unit Repair.

Is the replacement complete?

--

Go to Step 21

--

20

Replace the PCM.

Refer to Powertrain Control Module Replacement/Programming in Engine Controls.

Is the replacement complete?

--

Go to Step 21

--

21

Perform the following procedure in order to verify the repair:

  1. Select DTC.
  2. Select Clear Info.
  3. Turn the ignition switch to the RUN position.
  4. Select Specific DTC.
  5. Enter DTC P0748.

Has the test run and passed?

--

System OK

Go to Step 1