GM Service Manual Online
For 1990-2009 cars only

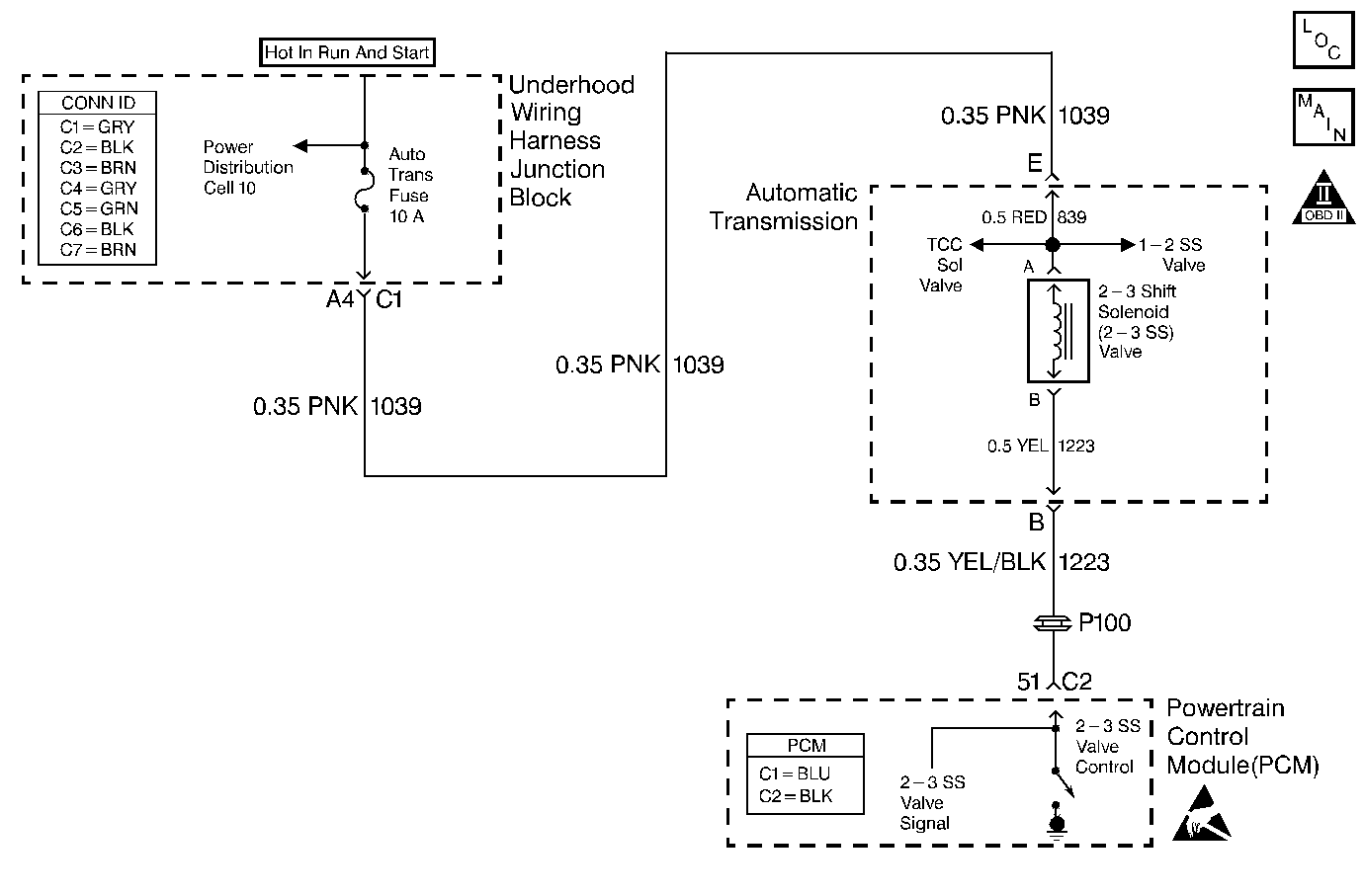
DTC P0758 2-3 Shift Solenoid Circuit Electrical 2.4L


Object Number: 316075  Size: MF
Automatic Transmission Components
Automatic Transmission Controls Schematics
OBD II Symbol Description Notice
Handling ESD Sensitive Parts Notice

Circuit Description

The 2-3 shift solenoid valve (2-3 SS valve) is a normally-open exhaust valve that, in conjunction with the 1-2 shift solenoid valve (1-2 SS valve), allows 4 different shifting combinations (Refer to the 4T40-E Shift Solenoid State Table). The 2-3 SS valve is attached to the control valve body, within the transmission.

The solenoid receives ignition voltage through the fused circuit. The PCM commands the solenoid ON or OFF by providing a ground path through circuit 1223.

When the PCM detects a continuous open, short to ground, or short to power in the 2-3 SS valve circuit, then DTC P0758 sets. DTC P0758 is a type A DTC.

Conditions for Running the DTC

    • The ignition switch is in the RUN position.
    • The system voltage is 8-18 volts.

Conditions for Setting the DTC

One of the following conditions occurs for 4.3 seconds:

    • The PCM commands the solenoid ON, and the voltage remains high (B+).
    • The PCM commands the solenoid OFF, and the voltage remains low (0 volts).

Action Taken When the DTC Sets

    • The PCM illuminates the malfunction indicator lamp (MIL).
    • The PCM commands maximum line pressure.
    • The PCM commands an immediate landing to 2nd gear.
    • The PCM inhibits TCC engagement.
    • The PCM freezes shift adapts from being updated.
    • The PCM stores DTC P0758 in PCM history.

Conditions for Clearing the MIL/DTC

    • The PCM turns OFF the MIL during the third consecutive trip in which the diagnostic test runs and passes.
    • A scan tool clears the DTC from PCM history.
    • The PCM clears the DTC from PCM history if the vehicle completes 40 warm-up cycles without an emission-related diagnostic fault occurring.
    • The PCM cancels the DTC default actions when the fault no longer exists and the ignition switch is OFF long enough in order to power down the PCM.

Diagnostic Aids

    • An open in circuit 1039 will cause multiple DTCs to set.
    • Inspect for a stuck TP sensor.
    • Inspect the wiring at the PCM, the transmission 20-way connector, the 2-3 SS valve 2-way connector, and all other circuit connecting points for the following conditions:
       - A backed out terminal
       - A damaged terminal
       - Reduced terminal tension
       - A chafed wire
       - A broken wire inside the insulation
       - Moisture intrusion
       - Corrosion
    • When diagnosing for an intermittent short or open condition, massage the wiring harness while watching the test equipment for a change.
        Refer to Shift Solenoid Valve State and Gear Ratio .

Test Description

The numbers below refer to the step numbers on the diagnostic table.

  1. DTCs P0753 and P1860 will also set if the power circuit is open.

  2. This step tests the electrical operation of the solenoid.

  3. This step verifies the PCMs ability to command the solenoid.

  4. This step tests circuit 1223 for a short to battery power.

  5. This step verifies that the circuit has the correct resistance.

DTC P0758 2-3 Shift Solenoid Circuit -- Electrical (2.4L)

Step

Action

Value(s)

Yes

No

1

Was the Powertrain On-Board Diagnostic (OBD) System Check performed?

--

Go to Step 2

Go to Powertrain On Board Diagnostic (OBD) System Check

2

  1. Install the Scan Tool .
  2. Turn the ignition switch to the RUN position.
  3. Important: Before clearing the DTCs, use the scan tool in order to record the Freeze Frame and Failure Records. Using the Clear Info function erases the Freeze Frame and Failure Records from the PCM.

  4. Record the Freeze Frame and Failure Records.
  5. Clear the DTCs.

Are DTCs P0753 and P1860 also set?

--

Go to Step 3

Go to Step 8

3

  1. Remove the AUTO TRANS fuse.
  2. Inspect the fuse for an open.

Was the condition found?

--

Go to Step 4

Go to Step 6

4

Important: The condition that affects this circuit may exist in other connecting branches of the circuit. Refer to Power Distribution Schematics in Wiring Systems, for complete circuit distribution.

Inspect circuit 1039 for a short to ground.

Refer to General Electrical Diagnosis in Wiring Systems.

Was the condition found?

--

Go to Step 22

Go to Step 5

5

Important: The condition that affects this circuit may exist in other connecting branches of the circuit. Refer to Power Distribution Schematics in Wiring Systems, for complete circuit distribution.

Inspect circuit 839 for a short to ground.

Refer to General Electrical Diagnosis in Wiring Systems.

Was the condition found?

--

Go to Step 23

--

6

Inspect circuit 1039 for an open.

Refer to General Electrical Diagnosis in Wiring Systems.

Was the condition found?

--

Go to Step 22

Go to Step 7

7

Inspect circuit 839 for an open.

Refer to General Electrical Diagnosis in Wiring Systems.

Was the condition found?

--

Go to Step 23

--

8

  1. Use the scan tool in order to command the 2-3 SS valve ON and OFF 3 times.
  2. Listen at the transmission side cover.

Does the solenoid click when commanded ON and OFF?

--

Go to Diagnostic Aids

Go to Step 9

9

  1. Turn the ignition switch OFF.
  2. Disconnect the transmission 20-way connector (additional DTCs will set).
  3. Install the J 39775 jumper harness to the engine side of the 20-way connector.
  4. Using the J 35616-A connector test adapter kit, connect a test lamp from terminal E to terminal B.
  5. Turn the ignition switch to the RUN position.
  6. Command the 2-3 SS valve ON and OFF three times.

Is the test lamp ON when you command the solenoid ON, and OFF when you command the solenoid OFF?

--

Go to Step 17

Go to Step 10

10

Is the test lamp always ON?

--

Go to Step 11

Go to Step 13

11

  1. Turn the ignition switch OFF.
  2. Disconnect the C2 PCM connector (additional DTCs will set).
  3. Turn the ignition switch to the RUN position.

Is the test lamp ON?

--

Go to Step 12

Go to Step 25

12

Inspect circuit 1223 for a short to ground.

Refer to General Electrical Diagnosis in Wiring Systems.

Was the condition found?

--

Go to Step 22

--

13

Is the test lamp always OFF?

--

Go to Step 14

--

14

Inspect circuit 1223 for an open.

Refer to General Electrical Diagnosis in Wiring Systems.

Was the condition found?

--

Go to Step 22

Go to Step 15

15

Connect a test lamp from terminal B to a good ground.

Is the test lamp ON?

--

Go to Step 16

Go to Step 25

16

Inspect circuit 1223 for a short to battery power.

Refer to General Electrical Diagnosis in Wiring Systems.

Was the condition found?

--

Go to Step 22

--

17

  1. Turn the ignition switch OFF.
  2. Disconnect the J 39775 from the engine side of the 20-way connector.
  3. Connect the J 39775 to the transmission side of the 20-way connector.
  4. Using the J 35616-A , connect the J 39200 digital multimeter (DMM) from terminal E to terminal B and measure the resistance.

Is the resistance within the specified range?

19-31 ohms

Go to Step 20

Go to Step 18

18

Is the resistance greater than the specified value?

250 ohms

Go to Step 19

Go to Step 20

19

  1. Inspect circuit 1223 for an open.
  2. Inspect circuit 1223 for a poor connection at the connector.
  3. Inspect circuit 839 for an open.
  4. Inspect circuit 839 for a poor connection at the connector.

Refer to General Electrical Diagnosis in Wiring Systems.

Was a condition found?

--

Go to Step 23

Go to Step 24

20

Measure the resistance from terminal B to a good ground.

Is the resistance less than the specified value?

1,000 ohms

Go to Step 21

Go to Step 24

21

Inspect circuit 1223 for a short to ground.

Refer to General Electrical Diagnosis in Wiring Systems.

Was the condition found?

--

Go to Step 23

--

22

Repair the wiring as necessary.

Refer to Wiring Repairs in Wiring Systems.

Is the repair complete?

--

Go to Step 26

--

23

Replace the automatic transmission wiring harness.

Refer to Unit Repair.

Is the replacement complete?

--

Go to Step 26

--

24

Replace the 2-3 SS valve.

Refer to Control and Shift Solenoids Replacement.

Is the replacement complete?

--

Go to Step 26

--

25

Replace the PCM.

Refer to Powertrain Control Module Replacement/Programming in Engine Controls.

Is the replacement complete?

--

Go to Step 26

--

26

Perform the following procedure in order to verify the repair:

  1. Select DTC.
  2. Select Clear Info.
  3. Operate the vehicle under the following conditions:
  4. • Drive the vehicle in D4.
    • Allow the transmission to obtain a 2-3 upshift.
  5. Select Specific DTC.
  6. Enter DTC P0758.

Has the test run and passed?

--

System OK

Go to Step 1

DTC P0758 2-3 Shift Solenoid Circuit Electrical 3.4L


Object Number: 316143  Size: MF
Automatic Transmission Components
Automatic Transmission Controls Schematics
OBD II Symbol Description Notice
Handling ESD Sensitive Parts Notice

Circuit Description

The 2-3 shift solenoid valve (2-3 SS valve) is a normally-open exhaust valve that, in conjunction with the 1-2 shift solenoid valve (1-2 SS valve), allows 4 different shifting combinations (Refer to the 4T40-E Shift Solenoid State Table). The 2-3 SS valve is attached to the control valve body, within the transmission.

The solenoid receives ignition voltage through the fused circuit. The PCM commands the solenoid ON or OFF by providing a ground path through circuit 1223.

When the PCM detects a continuous open, short to ground, or short to power in the 2-3 SS valve circuit, then DTC P0758 sets. DTC P0758 is a type A DTC.

Conditions for Running the DTC

    • The ignition switch is in the RUN position.
    • The system voltage is 8-18 volts.

Conditions for Setting the DTC

One of the following conditions occurs for 4.3 seconds:

    • The PCM commands the solenoid ON, and the voltage remains high (B+).
    • The PCM commands the solenoid OFF, and the voltage remains low (0 volts) .

Action Taken When the DTC Sets

    • The PCM illuminates the malfunction indicator lamp (MIL).
    • The PCM commands maximum line pressure.
    • The PCM commands an immediate landing to 2nd gear.
    • The PCM inhibits TCC engagement.
    • The PCM freezes shift adapts from being updated.
    • The PCM stores DTC P0758 in PCM history.

Conditions for Clearing the MIL/DTC

    • The PCM turns OFF the MIL during the third consecutive trip in which the diagnostic test runs and passes.
    • A scan tool clears the DTC from PCM history.
    • The PCM clears the DTC from PCM history if the vehicle completes 40 warm-up cycles without an emission-related diagnostic fault occurring.
    • The PCM cancels the DTC default actions when the fault no longer exists and the ignition switch is OFF long enough in order to power down the PCM.

Diagnostic Aids

    • An open in circuit 1039 will cause multiple DTCs to set.
    • Inspect for a stuck TP sensor.
    • Inspect the wiring at the PCM, the transmission 20-way connector, the 2-3 SS valve 2-way connector, and all other circuit connecting points for the following conditions:
       - A backed out terminal
       - A damaged terminal
       - Reduced terminal tension
       - A chafed wire
       - A broken wire inside the insulation
       - Moisture intrusion
       - Corrosion
    • When diagnosing for an intermittent short or open condition, massage the wiring harness while watching the test equipment for a change.
        Refer to Shift Solenoid Valve State and Gear Ratio .

Test Description

The numbers below refer to the step numbers on the diagnostic table.

  1. DTCs P0753 and P1860 will also set if the power circuit is open.

  2. This step tests the electrical operation of the solenoid.

  3. This step verifies the PCMs ability to command the solenoid.

  4. This step tests circuit 1223 for a short to battery power.

  5. This step verifies that the circuit has the correct resistance.

DTC P0758 2-3 Shift Solenoid Circuit -- Electrical (3.4L)

Step

Action

Value(s)

Yes

No

1

Was the Powertrain On-Board Diagnostic (OBD) System Check performed?

--

Go to Step 2

Go to Powertrain On Board Diagnostic (OBD) System Check

2

  1. Install the Scan Tool .
  2. Turn the ignition switch to the RUN position.
  3. Important: Before clearing the DTCs, use the scan tool in order to record the Freeze Frame and Failure Records. Using the Clear Info function erases the Freeze Frame and Failure Records from the PCM.

  4. Record the Freeze Frame and Failure Records.
  5. Clear the DTCs.

Are DTCs P0753 and P1860 also set?

--

Go to Step 3

Go to Step 8

3

  1. Remove the AUTO TRANS fuse.
  2. Inspect the fuse for an open.

Was the condition found?

--

Go to Step 4

Go to Step 6

4

Important: The condition that affects this circuit may exist in other connecting branches of the circuit. Refer to Power Distribution Schematics in Wiring Systems, for complete circuit distribution.

Inspect circuit 1039 for a short to ground.

Refer to General Electrical Diagnosis in Wiring Systems.

Was the condition found?

--

Go to Step 22

Go to Step 5

5

Important: The condition that affects this circuit may exist in other connecting branches of the circuit. Refer to Power Distribution Schematics in Wiring Systems, for complete circuit distribution.

Inspect circuit 839 for a short to ground.

Refer to General Electrical Diagnosis in Wiring Systems.

Was the condition found?

--

Go to Step 23

--

6

Inspect circuit 1039 for an open.

Refer to General Electrical Diagnosis in Wiring Systems.

Was the condition found?

--

Go to Step 22

Go to Step 7

7

Inspect circuit 839 for an open.

Refer to General Electrical Diagnosis in Wiring Systems.

Was the condition found?

--

Go to Step 23

--

8

  1. Use the scan tool in order to command the 2-3 SS valve ON and OFF 3 times.
  2. Listen at the transmission side cover.

Does the solenoid click when commanded ON and OFF?

--

Go to Diagnostic Aids

Go to Step 9

9

  1. Turn the ignition switch OFF.
  2. Disconnect the transmission 20-way connector (additional DTCs will set).
  3. Install the J 39775 jumper harness to the engine side of the 20-way connector.
  4. Using the J 35616-A connector test adapter kit, connect a test lamp from terminal E to terminal B.
  5. Turn the ignition switch to the RUN position.
  6. Command the 2-3 SS valve ON and OFF three times.

Is the test lamp ON when you command the solenoid ON, and OFF when you command the solenoid OFF?

--

Go to Step 17

Go to Step 10

10

Is the test lamp always ON?

--

Go to Step 11

Go to Step 13

11

  1. Turn the ignition switch OFF.
  2. Disconnect the C1 PCM connector (additional DTCs will set).
  3. Turn the ignition switch to the RUN position.

Is the test lamp ON?

--

Go to Step 12

Go to Step 25

12

Inspect circuit 1223 for a short to ground.

Refer to General Electrical Diagnosis in Wiring Systems.

Was the condition found?

--

Go to Step 22

--

13

Is the test lamp always OFF?

--

Go to Step 14

--

14

Inspect circuit 1223 for an open.

Refer to General Electrical Diagnosis in Wiring Systems.

Was the condition found?

--

Go to Step 22

Go to Step 15

15

Connect a test lamp from terminal B to a good ground.

Is the test lamp ON?

--

Go to Step 16

Go to Step 25

16

Inspect circuit 1223 for a short to battery power.

Refer to General Electrical Diagnosis in Wiring Systems.

Was the condition found?

--

Go to Step 22

--

17

  1. Turn the ignition switch OFF.
  2. Disconnect the J 39775 from the engine side of the 20-way connector.
  3. Connect the J 39775 to the transmission side of the 20-way connector.
  4. Using the J 35616-A , connect the J 39200 digital multimeter (DMM) from terminal E to terminal B and measure the resistance.

Is the resistance within the specified range?

19-31 ohms

Go to Step 20

Go to Step 18

18

Is the resistance greater than the specified value?

250 ohms

Go to Step 19

Go to Step 20

19

  1. Inspect circuit 1223 for an open.
  2. Inspect circuit 1223 for a poor connection at the connector.
  3. Inspect circuit 839 for an open.
  4. Inspect circuit 839 for a poor connection at the connector.

Refer to General Electrical Diagnosis in Wiring Systems.

Was a condition found?

--

Go to Step 23

Go to Step 24

20

Measure the resistance from terminal B to a good ground.

Is the resistance less than the specified value?

1,000 ohms

Go to Step 21

Go to Step 24

21

Inspect circuit 1223 for a short to ground.

Refer to General Electrical Diagnosis in Wiring Systems.

Was the condition found?

--

Go to Step 23

--

22

Repair the wiring as necessary.

Refer to Wiring Repairs in Wiring Systems.

Is the repair complete?

--

Go to Step 26

--

23

Replace the automatic transmission wiring harness.

Refer to Unit Repair.

Is the replacement complete?

--

Go to Step 26

--

24

Replace the 2-3 SS valve.

Refer to Control and Shift Solenoids Replacement.

Is the replacement complete?

--

Go to Step 26

--

25

Replace the PCM.

Refer to Powertrain Control Module Replacement/Programming in Engine Controls.

Is the replacement complete?

--

Go to Step 26

--

26

Perform the following procedure in order to verify the repair:

  1. Select DTC.
  2. Select Clear Info.
  3. Operate the vehicle under the following conditions:
  4. • Drive the vehicle in D4.
    • Allow the transmission to obtain a 2-3 upshift.
  5. Select Specific DTC.
  6. Enter DTC P0758.

Has the test run and passed?

--

System OK

Go to Step 1