GM Service Manual Online
For 1990-2009 cars only
Makes
🢒
Chevrolet
🢒
2001
🢒
Alero Export
🢒 Generator, PNP, Oil, Indicators, and IAC
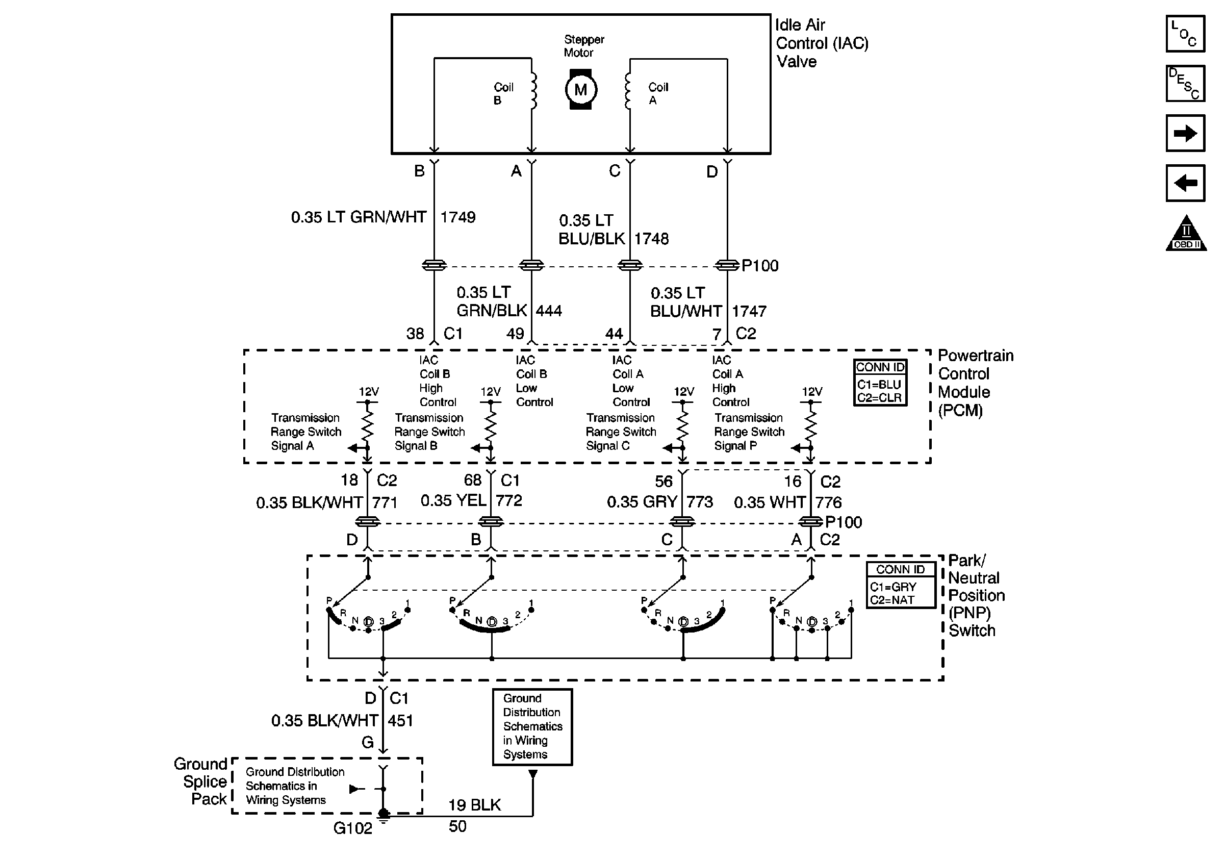
Generator, PNP, Oil, Indicators, and IAC
Generator, PNP, Oil, Indicators, and IAC
Master Electrical Component List
Powertrain Control Module Description
Power, Cruise Control Brake Switch, VSS
HO2S 1 and HO2S 2
OBD II Symbol Description Notice
G102 and G104
G102 and G104