GM Service Manual Online
For 1990-2009 cars only

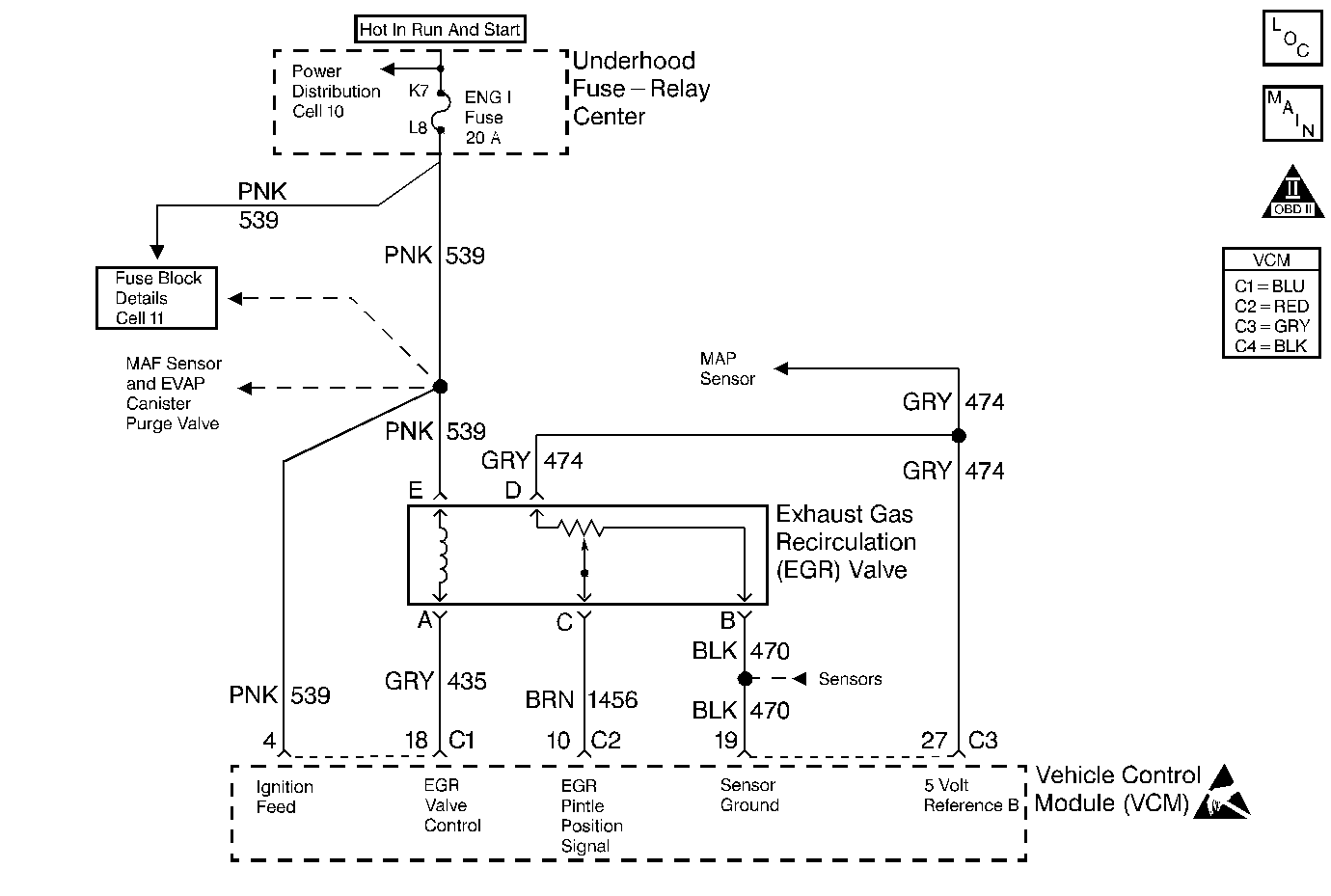
Object Number: 58203  Size: MF
Handling ESD Sensitive Parts Notice
Handling ESD Sensitive Parts Notice
Engine Controls Components
Fuel Mixture Input Controls
OBD II Symbol Description Notice

Circuit Description

The VCM constantly monitors the linear EGR valve pintle position sensor in order to ensure that the valve is responding properly to the commands from the VCM. The DTC P1406 is a type A DTC.

Conditions for Setting the DTC

    • Ignition voltage is greater than 9.0 volts.
    • The difference between actual EGR position and desired EGR position is greater than 10% for 10 seconds.

Action Taken When DTC Sets

If a current DTC P1406 sets during 2 consecutive test cycles, the VCM turns ON the MIL.

Conditions for Clearing the MIL/DTC

The VCM turns OFF the MIL after 3 consecutive driving trips without a fault condition present. A history DTC will clear if no fault conditions have been detected for 40 warm-up cycles (the coolant temperature has risen 22°C (40°F) from the start-up coolant temperature and the engine coolant temperature exceeds 71°C (160°F) during that same ignition cycle) or the scan tool clearing feature has been used.

Diagnostic Aids

A poor connection or a rubbed-through wire insulation may cause an intermittent condition. Check for the following conditions:

    • A poor connection or a damaged harness - Inspect VCM harness connectors for backed out terminals BLK 18, GRY 27, GRY19, or RED 10 for the following items:
    • Improper mating
    • Broken locks
    • Improperly formed or damaged terminals
    • A poor terminal to wire connection
    • A damaged harness

Intermittent test - If the connections and the harness check OK, monitor a digital voltmeter connected between the affected terminals and the ground while moving the related connectors and the wiring harness. If the failure is induced, the voltage reading will change.

Test Description

The numbers below refer to the step numbers on the diagnostic table.

  1. Checks for an EGR valve sticking partially open or an incorrect pintle position sensor feedback signal.

  2. This step determines if this DTC was set during an intermittent condition. If the fault that set this DTC is not present, check for other stored DTCs.

  3. Checks the EGR valve driver in the VCM and the EGR Control circuit.

  4. This checks for EGR Valve Ignition Feed at the EGR valve.

  5. Clearing the DTC Information is a very important step in this diagnostic. This allows the EGR Valve to relearn a new minimum pintle position.

Step

Action

Value(s)

Yes

No

1

Important: Before clearing the DTCs, use the scan tool in order to record the Freeze Frame and the Failure Records for reference. This data will be lost when the Clear DTC Information function is used.

Was the Powertrain On-Board Diagnostic (OBD) System Check performed?

--

Go to Step 2

Go to Powertrain On Board Diagnostic (OBD) System Check

2

  1. Turn the ignition switch ON, with the engine OFF.
  2. Connect the scan tool.
  3. Monitor the Actual EGR Pintle Position.

Does the scan tool display the specified value?

0%

Go to Step 3

Go to Step 9

3

  1. Turn the ignition switch ON, with the engine OFF.
  2. Command the EGR Valve through the specified values.

Does the Actual EGR Position follow the Commanded Position?

20%, 50%, 70%,100%

Go to Diagnostic Aids

Go to Step 4

4

  1. Turn the ignition switch ON, with the engine OFF.
  2. Command the EGR Valve to the specified value.

Does the Actual EGR Position fluctuate severely?

30%

Go to Step 34

Go to Step 5

5

  1. Disconnect the EGR Valve electrical connector.
  2. Connect a test light between the EGR Valve harness connector terminals A and E.
  3. Command the EGR Position to the specified value.

Is the test light ON?

100%

Go to Step 23

Go to Step 6

6

  1. Connect a test light to a known good ground.
  2. Probe the EGR Valve harness connector terminal E.

Is the test light ON?

--

Go to Step 7

Go to Step 13

7

  1. Check for a faulty connection at the EGR Valve harness connector terminal A.
  2. Check for an open in the EGR Valve Control Circuit.

Was a problem found?

--

Go to Step 8

Go to Step 36

8

Repair the faulty connections or open in the EGR Valve Control circuit as necessary. Refer to Wiring Repairs in Electrical Diagnosis.

Is the action complete?

--

Go to Step 38

--

9

Is DTC P0108 also set?

--

Go to DTC P0108 Manifold Absolute Pressure (MAP) Sensor Circuit High Voltage

Go to Step 10

10

Disconnect the EGR Valve electrical connector.

Is the Actual EGR Valve Position at the specified value?

0%

Go to Step 17

Go to Step 11

11

Check for a short to voltage in the EGR Pintle Position circuit.

Was a problem found?

--

Go to Step 12

Go to Step 36

12

Repair short to voltage in the EGR Pintle Position circuit. Refer to Wiring Repairs in Electrical Diagnosis.

Is the action complete?

--

Go to Step 38

--

13

Check for a blown EGR Ignition Feed fuse.

Was the EGR Ignition Feed fuse blown?

--

Go to Step 14

Go to Step 16

14

Replace EGR Ignition Feed fuse.

Is the action complete?

--

Go to Step 15

--

15

Repair the short to ground in the EGR Ignition Feed circuit. Refer to Wiring Repairs in Electrical Diagnosis.

Is the action complete?

--

Go to Step 38

--

16

Repair the open EGR Ignition Feed circuit. Refer to Wiring Repairs in Electrical Diagnosis.

Is the action complete?

--

Go to Step 38

--

17

  1. Connect a test light to B+.
  2. Probe the EGR valve harness connector terminal B.

Is the test light ON?

--

Go to Step 18

Go to Step 25

18

  1. Connect a test light to B+.
  2. Probe the EGR valve harness connector terminal A.

Is the test light ON?

--

Go to Step 19

Go to Step 21

19

  1. Turn the ignition switch OFF.
  2. Disconnect the Blue VCM connector.
  3. Turn the ignition switch ON, with engine OFF.
  4. Connect a test light to B+.
  5. Probe the EGR valve harness connector terminal A.

Is the test light ON?

--

Go to Step 20

Go to Step 36

20

Repair short to ground in the EGR Valve Control circuit. Refer to Wiring Repairs in Electrical Diagnosis.

Is the action complete?

--

Go to Step 38

--

21

Check for a faulty connection at the EGR valve harness connector.

Was a problem found?

--

Go to Step 22

Go to Step 33

22

Repair the faulty connection at the EGR valve harness connector. Refer to Wiring Repairs in Electrical Diagnosis.

Is the action complete?

--

Go to Step 38

--

23

Connect a DMM J 39200 between the EGR Valve connector terminals B and D.

Is the voltage near the specified value?

5.0V

Go to Step 27

Go to Step 24

24

Connect a DMM J 39200 between the EGR harness connector terminal D and a known good ground.

Is the voltage at the specified value?

5.0V

Go to Step 25

Go to Step 26

25

Check for open in EGR Sensor Ground circuit and repair as necessary. Refer to Wiring Repairs in Electrical Diagnosis.

Was repair necessary?

--

Go to Step 38

Go to Step 36

26

Check for open in EGR 5 Volt reference circuit and repair as necessary. Refer to Wiring Repairs in Electrical Diagnosis.

Was a repair necessary?

--

Go to Step 38

Go to Step 36

27

  1. Connect a test light to B+.
  2. Probe the EGR valve harness connector terminal C.

Is the test light ON?

--

Go to Step 28

Go to Step 30

28

Check for a short to ground in the EGR Pintle Position circuit.

Was a problem found?

--

Go to Step 29

Go to Step 36

29

Repair the short to ground in the EGR Pintle Position circuit. Refer to Wiring Repairs in Electrical Diagnosis.

Is the action complete?

--

Go to Step 38

--

30

Using proper test adapters from Connector Test Adapter kit J 35616 , install a jumper between terminals D and C of the EGR harness connector.

Is the Actual EGR Position near the specified value?

100%

Go to Step 33

Go to Step 31

31

  1. Check for open in the EGR Pintle Position circuit.
  2. Check for a poor connection at the EGR Valve connector.

Was a problem found?

--

Go to Step 32

Go to Step 36

32

Repair the open or poor connection in the EGR pintle position circuit . Refer to Wiring Repairs in Electrical Diagnosis.

Is the action complete?

--

Go to Step 38

--

33

Replace the EGR valve. Refer to EGR Valve Replacement in Repair Instructions.

Is the action complete?

--

Go to Step 38

--

34

  1. Turn the ignition switch OFF.
  2. Disconnect the C1 (Blue) VCM connector.
  3. Turn the ignition switch ON, with the engine OFF.
  4. Connect a test light to a known good ground.
  5. Probe Pin 4 of the C1 (Blue) VCM connector with proper test adapter from Connector Test Adapter kit J 35616 .

Is the test light ON?

--

Go to Step 36

Go to Step 35

35

Repair open in ignition feed circuit to Pin 4 of the C1 (Blue) VCM connector. Refer to Wiring Repairs in Electrical Diagnosis.

Is the action complete?

--

Go to Step 38

--

36

Check for poor connections at the VCM harness connectors and repair as necessary. Refer to Wiring Repairs in Electrical Diagnosis.

Was a repair necessary?

--

Go to Step 38

Go to Step 37

37

Important: Program the new VCM. Refer to VCM Replacement/Programming in Repair Instructions.

Replace the VCM.

Is the action complete?

--

Go to Step 38

--

38

  1. Use the scan tool, in order to select the DTC and the Clear DTC Information function.
  2. Start the engine.
  3. Allow the engine to idle until the normal operating temperature is reached.
  4. Select the DTC and the Specific DTC functions.
  5. Enter the DTC number which was set.
  6. Operate the vehicle within the conditions for setting this DTC as specified in the supporting text.

Does scan tool indicate that this diagnostic ran and passed?

--

Go to Step 39

Go to Step 2

39

Use the scan tool in order to display the Capture Info and the Review Capture Info functions.

Are there any DTCs displayed that have not been diagnosed?

--

Go to the applicable DTC table

System OK