GM Service Manual Online
For 1990-2009 cars only
Makes
🢒
Chevrolet
🢒
1998
🢒
Astro - 2WD
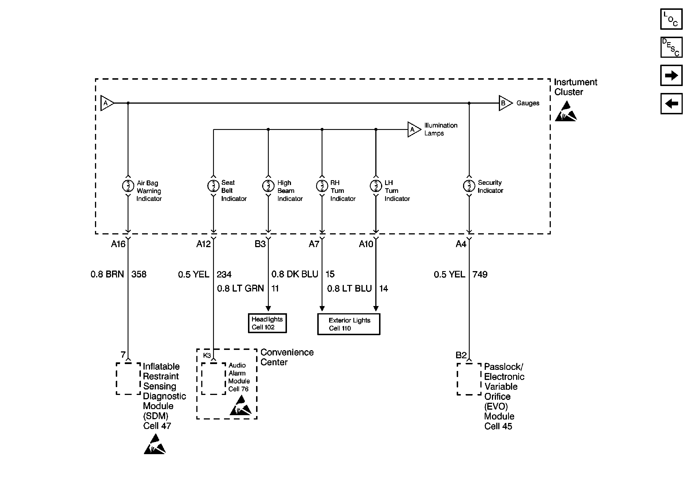
🢒 Cell 81 Instrument Cluster with Gauges (2 of 5)
Cell 81 Instrument Cluster with Gauges (2 of 5)
Cell 81 (Instrument Cluster, Inflatable Restraint Sensing Diatnostic Module, Passlock/Electronic Variable Orifiec Module)
Instrument Cluster Components
Cell 81 Instrument Cluster with Gauges (3 of 5)
Cell 81 (IP Fuse Block, Daytime Running Lamp Module, Park Brake Warning Switch, Convenience Center)
Handling ESD Sensitive Parts Notice
Exterior Lights Schematics
Headlights/Daytime Running Lights (DRL) Schematics
Handling ESD Sensitive Parts Notice
Handling ESD Sensitive Parts Notice