GM Service Manual Online
For 1990-2009 cars only

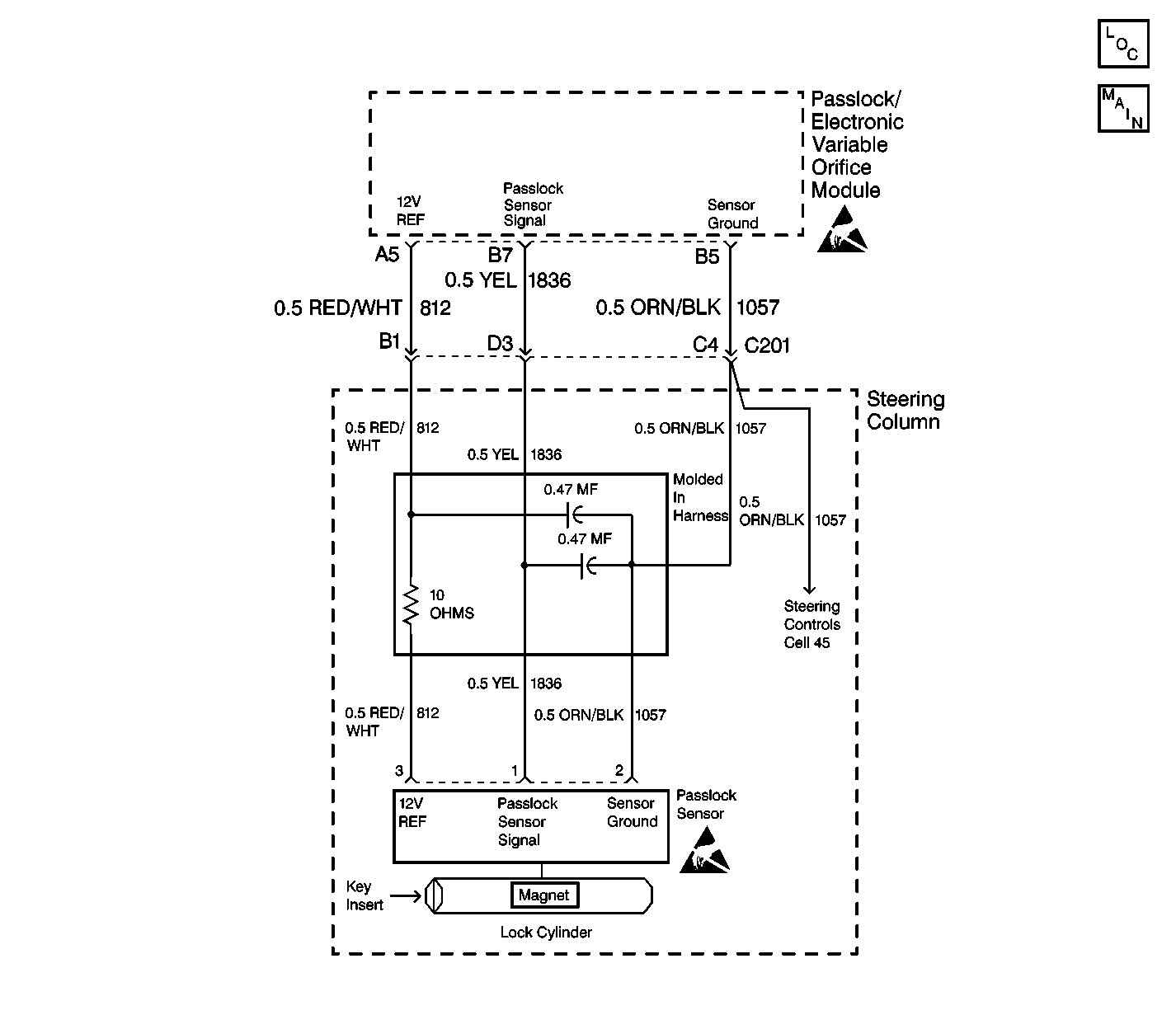
Object Number: 500721  Size: LF
Theft Deterrent System Components
Theft Deterrent System Schematics
Steering Assist Schematics
Theft Deterrent System Schematic Icons
Theft Deterrent System Schematic Icons

Circuit Description

The Passlock/EVO module supplies power to the Passlock sensor on CKT 812.

When the Passlock sensor is powered and the ignition switch is rotated to the crank position, the hall effect security sensor will latch holding an internal code value. The Passlock/EVO module will compare this code to the value the Passlock module measured in the last ignition cycle. If the latched value is the same as the last ignition cycle value the test has passed. When the ignition switch is switched to the OFF position, the sensor is no longer powered and resets the sensor latch circuit.

In the next ignition cycle, the Passlock sensor waits for an ignition switch crank input and verifies the sensor code. The Passlock sensor compares the input to the last recognized code.

If the Passlock sensor power is shorted to battery voltage, the sensor will not reset. This renders the Passlock system ineffective.

Conditions for Setting the DTC

    • The ignition switch if OFF.
    • The Passlock/EVO module turns the sensor power, approximately 12 volts, OFF when the ignition switch is turned OFF. If the Passlock sensor power has 12 volts applied after the ignition switch is turned OFF, DTC B2948 is set.

Action Taken When the DTC Sets

The vehicle will continue to start and run with the security telltale ON.

Conditions for Clearing the DTC

    • The DTC will clear after an ignition cycle has occurred without the fault.
    • Passlock/EVO module history codes will be cleared after 100 ignition cycles with no current codes active.
    • Using a scan tool.

Diagnostic Aids

    • When replacing the Passlock sensor, all the sensor components lock, sensor, filter, and harness are included as a replacement part and must be replaced.
    • Use the scan tool in order to inspect the Passlock data voltage and the Passlock code.
    • Perform a visual inspection of the wiring and the connectors.
    • Inspect the Passlock sensor harness for an intermittent or a short to battery. Refer to Intermittents and Poor Connections .

Test Description

The numbers below refer to the numbers on the diagnostic table.

  1. This step isolates the short to battery between the Passlock/EVO module and the harness.

  2. This step isolates the short to battery between the Passlock sensor and the harness.

Step

Action

Value(s)

Yes

No

1

Did you perform the VTD Diagnostic System Check?

--

Go to Step 2

Go to Diagnostic System Check - Theft Deterrent

2

  1. Turn the ignition switch OFF.
  2. Disconnect the Passlock/EVO module connector. Refer to Theft Deterrent Module Replacement .
  3. Use a J 39200 digital multimeter (DMM) in order to measure the voltage from the Passlock module connector terminal A5 to ground.

Is the voltage within the specified range?

9-16 V

Go to Step 3

Go to Step 6

3

  1. Disconnect connector C201 at the base of the steering column.
  2. Use a J 39200 DMM in order to measure the voltage from the Passlock/EVO module connector terminal A5 to ground.

Is the voltage within the specified range?

9-16 V

Go to Step 4

Go to Step 5

4

Repair the short to battery in CKT 812.

Is the repair complete?

--

Go to Diagnostic System Check - Theft Deterrent

--

5

Replace the Passlock sensor in the electronic column lock module assembly.

    • With Tilt Wheel
       - To disassemble the lock module assembly, refer to Electronic Column Lock Module - Disassemble - Off Vehicle in Steering Wheel and Column - Tilt.
       - To assemble the lock module assembly, refer to Electronic Column Lock Module - Assemble - Off Vehicle in Steering Wheel and Column - Tilt.
    • With Standard Wheel
       - To disassemble the lock module assembly, refer to Electronic Column Lock Module - Disassemble - Off Vehicle in Steering Wheel and Column - Standard.
       - To assemble the lock module assembly, refer to Electronic Column Lock Module - Assemble - Off Vehicle in Steering Wheel and Column - Standard.

Is the repair complete?

--

Go to Step 7

--

6

Replace the Passlock/EVO module. Refer to Theft Deterrent Module Replacement .

Is the repair complete?

--

Go to Step 7

--

7

  1. Reconnect all of the previously disconnected connectors and the components.
  2. Turn the ignition switch ON.
  3. Connect the scan tool.
  4. Clear the DTCs.
  5. Perform 1 of the following Passlock reprogramming procedures:

Is the repair complete?

--

Go to Diagnostic System Check - Theft Deterrent

--