GM Service Manual Online
For 1990-2009 cars only

DTC C0498


Object Number: 284797  Size: MF
Steering Controls Components
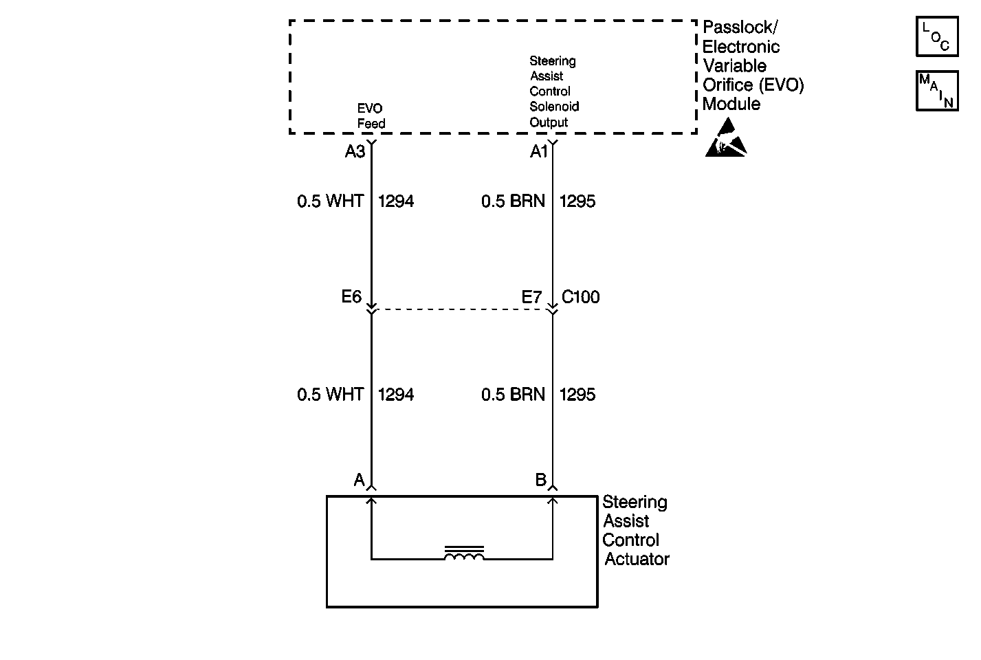
Steering Assist Schematics
Handling ESD Sensitive Parts Notice

Circuit Description

The electronic variable orifice (EVO)/Passlock™ module supplies a 0-850 milliamperes percentage duty cycle current to the steering assist control solenoid. The current extends or retracts the actuator valve inside the solenoid. The extension or retraction will regulate an orifice on the power steering pump. The regulated orifice will cause the fluid flow output to modulate. The fluid flow output will increase or decrease in steering wheel effort. Supplying a 0 milliampere to the steering valve control solenoid will fully retract the valve. This provides the maximum fluid flow and power steering assist. Suppling 850 milliamperes to the steering assist control solenoid extends the valve. The extended valve will decrease the fluid flow and minimize the power steering assist. The EVO/Passlock™ module constantly adjusts the current flow to the steering assist control solenoid based on the vehicle speed and the steering wheel position. The adjusting current flow provides vehicle speed related power steering assist.

Conditions for Setting the DTC

    • There is a short to ground in CKT 1294 (WHT).
    • When cycling the ignition switch to the OFF position and then to the ON position.
    • The conditions must be met for 1 second or longer.

Action Taken When the DTC Sets

The EVO/Passlock™ module will not send any current to the steering assist control solenoid. This will cause the solenoid valve to retract. The retracting valve will provide the maximum fluid flow and full power steering assist at all time.

Conditions for Clearing the MIL/DTC

    • A history DTC will clear after 100 consecutive ignition cycles occur without a fault.
    • Use a scan tool in order to clear the history and the current DTC(s).

Diagnostic Aids

    • The following conditions may cause an intermittent problem:
       - A poor connection.
       - A break in the wire insulation that exposes the internal wire.
       - A wire that is broken on the inside of the insulation.
    • Thoroughly check the EVO/Passlock™ module and the vehicle control module (VCM) for the following conditions:
       - Backed out terminals
       - Broken locks
       - Improperly formed terminals
       - Damaged terminals
       - Weak terminal retaining tension
       - Proper routing
    • The steering assist control solenoid valve may be stuck. The stuck valve provides uncalculated power steering assist.
        Refer to Power Steering System Test in Power Steering System.

Test Description

The number(s) below refer to the step number(s) on the diagnostic table.

  1. This step ensures that you perform the Diagnostic System Check.

  2. This step checks for a short to voltage in CKT 1294 (WHT) with the EVO/Passlock™ module disconnected.

  3. This step checks the steering assist control solenoid harness for a short to voltage with the actuator disconnected. If voltage is indicated, there is a short to voltage on CKT 1294 (WHT).

Step

Action

Value(s)

Yes

No

1

Did you perform the Diagnostic System Check?

--

Go to Step 2

Go to the Diagnostic System Check

2

  1. Turn the ignition switch to the OFF position.
  2. Disconnect the 16-way EVO/Passlock™ module connector.
  3. Turn the ignition switch to the ON position.
  4. Use a J 39200 digital multimeter (DMM) in order to measure the voltage between EVO/Passlock™ module connector (harness side) terminal A3 to ground.

Did the voltmeter display a voltage?

Greater than 1.0 volt

Go to Step 3

Go to Step 7

3

  1. Turn the ignition switch to the OFF position
  2. Disconnect the steering assist control solenoid connector.
  3. Turn the ignition switch to the ON position.
  4. Measure the voltage between terminal A and ground at the steering assist control solenoid connector (harness side).

Did the J 39200 DMM display a voltage?

Greater than 1.0 volt

Go to Step 5

Go to Step 4

4

  1. Turn the ignition switch to the OFF position.
  2. Use a J 39200 DMM in order to measure the resistance between terminal A and terminal B.

Did the J 39200 DMM display the specified resistance values?

7-15ohms

Go to Step 7

Go to Step 6

5

Repair the short to voltage in CKT 1294 (WHT).

Is the repair complete?

--

Go to Step 9

--

6

Replace the steering assist control solenoid.

Refer to Power Steering Solenoid Actuator and Discharge Fitting Replacement .

Is the repair complete?

--

Go to Step 9

--

7

  1. Test the steering assist control solenoid connector and the harness for intermittent short to voltage.
  2. Test for intermittent short to voltage on CKT 1294 (WHT).

Did you find a problem?

--

Go to Step 5

Go to Step 8

8

Replace the EVO/Passlock™ module.

Refer to Elec Variable Orifice Passlock Module Replacement .

Is the replacement complete?

--

Go to Diagnostic System Check

--

9

  1. Turn the ignition switch to the OFF position.
  2. Install the connectors and the components that were removed.
  3. Clear the DTCs.

Is the repair complete?

--

Go to the Diagnostic System Check

--