GM Service Manual Online
For 1990-2009 cars only

Object Number: 426065  Size: MF
Handling ESD Sensitive Parts Notice
Engine Controls Components
Emission Controls
OBD II Symbol Description Notice

Circuit Description

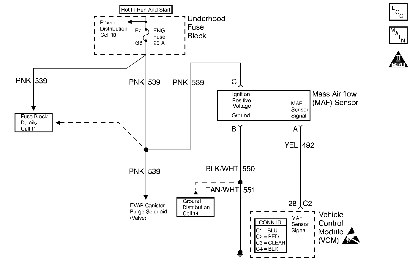
The mass air flow (MAF) sensor is an air flow meter. The control module supplies the MAF sensor a signal circuit. An ignition positive voltage circuit and a ground circuit are supplied to the MAF sensor by independent circuits. The MAF sensor heats a wire element, or grid, within the MAF sensor in order to maintain a calculated temperature. As inlet air flows across and cools the grid, the MAF sensor increases current flow to the grid in order to maintain the constant grid temperature. The MAF sensor converts the grid current flow into a frequency signal. The control module converts the MAF signal frequency into a grams per second value. During low air flow rates, such as at engine idle, the MAF sensor produces a low frequency signal. During high air flow rates, such as at wide open throttle-road load, the MAF sensor increases the frequency signal. The control module monitors the MAF sensor signal frequency in order to calculate the flow and mass of the air entering the engine.

This DTC is designed to detect an unusually low MAF sensor signal frequency. If a MAF sensor frequency is detected by the VCM below the possible range of a normally operating MAF sensor, this DTC will be set.

Conditions for Running the DTC

    • The engine is running
    • The engine speed is more than 300 RPM
    • The system voltage is more than 8 volts

Conditions for Setting the DTC

The MAF frequency is 10 Hz or less for more than 1 second.

Action Taken When the DTC Sets

    • The control module illuminates the malfunction indicator lamp (MIL) if a failure is detected during 2 consecutive key cycles.
    • The control module sets the DTC and records the operating conditions at the time the diagnostic failed. The failure information is stored in the scan tool Freeze Frame/Failure Records.

Conditions for Clearing the MIL or DTC

    • The control module turns OFF the MIL after 3 consecutive drive trips when the test has run and passed.
    • A history DTC will clear if no fault conditions have been detected for 40 warm-up cycles. A warm-up cycle occurs when the coolant temperature has risen 22°C (40°F) from the startup coolant temperature and the engine coolant reaches a temperature that is more than 70°C (158°F) during the same ignition cycle.
    • Use a scan tool in order to clear the DTCs.

Diagnostic Aids

Check for the following conditions:

    • A misrouted harness. Inspect the MAF sensor harness in order to ensure that it is not routed too close to high voltage wires such as spark plug leads.
    • A damaged harness. Inspect the wiring harness for damage. If the harness appears to be OK, observe the scan tool while moving the connectors and the wiring harnesses related to the MAF sensor. A change in the display indicates the location of the fault.
    • A plugged intake air duct or filter element. A wide open throttle acceleration from a stop should cause the Mass Air Flow displayed on a scan tool to increase from about 4-7 g/s at idle to 100 g/s or more at the time of the 1-2 shift. If not, check for a restriction.

An intermittent may be caused by any of the following conditions:

    • A poor connection
    • Rubbed through wire insulation
    • A broken wire inside the insulation

Thoroughly check any circuitry that is suspected of causing the intermittent complaint. Refer to Intermittents and Poor Connections Diagnosis in Wiring Systems.

If a repair is necessary, refer to Wiring Repairs or Connector Repairs in Wiring Systems.

Test Description

The numbers below refer to step numbers on the diagnostic table.

  1. This step verifies that the problem is present at idle.

  2. A voltage reading of less than 4 or more than 6 volts at the MAF sensor signal circuit indicates a malfunction in the wiring or a poor connection.

  3. This step verifies that the ignition positive voltage and a good ground are available at the MAF sensor.

  4. This step determines if the fuse is open. If the fuse is open, locate and repair the short to ground in the ignition positive voltage circuit.

Step

Action

Value(s)

Yes

No

1

Important: Before clearing the DTCs, use the scan tool Capture Info to save the Freeze Frame and the Failure Records for reference. The control module's data is deleted once the Clear DTC Information function is used.

Did you perform the Powertrain On-Board Diagnostic (OBD) System Check?

--

Go to Step 2

Go to Powertrain On Board Diagnostic (OBD) System Check

2

  1. Start the engine.
  2. With the engine idling, monitor the MAF reading on the scan tool.

Is the MAF reading below the specified value?

2 g/s

Go to Step 4

Go to Step 3

3

  1. Turn ON the ignition leaving the engine OFF.
  2. Review the scan tool Failure Records data.
  3. Record the scan tool Failure Records data.
  4. Operate vehicle within the Failure Records conditions as noted.
  5. Using a scan tool, monitor the Specific DTC information for DTC P0102.

Does the scan tool indicate DTC P0102 Failed This Ignition?

--

Go to Step 4

Go to Diagnostic Aids

4

Inspect the MAF ignition positive voltage fuse. Refer to Electrical Center Identification Views in Wiring Systems.

Is the fuse open?

--

Go to Sep 11

Go to Step 5

5

  1. Check for the following conditions:
  2. • Objects blocking the MAF sensor inlet screen.
    • Crankcase ventilation valve malfunction, missing or incorrectly installed.
    • Vacuum leaks in the following areas:
       - Throttle body
       - EGR valve flange and pipes
       - MAP sensor seal
       - EVAP canister purge valve seal
       - Fuel meter body seal
  3. If a problem is found, repair as necessary.

Did you find a problem?

--

Go to Step 17

Go to Step 6

6

  1. Turn OFF the ignition.
  2. Disconnect the MAF sensor harness connector.
  3. Turn ON the ignition leaving the engine OFF.
  4. Using a J 39200 DMM, measure the voltage between the MAF signal circuit and battery ground.

Is the voltage near the specified value?

5.0 V

Go to Step 7

Go to Step 10

7

Connect a test lamp between the MAF sensor ignition positive voltage and ground circuits at the MAF sensor harness connector.

Is the test lamp ON?

--

Go to Step 9

Go to Step 8

8

Connect a test lamp between the MAF sensor ignition positive voltage circuit and the battery ground.

Is the test lamp ON?

--

Go to Step 12

Go to Step 13

9

  1. Check for a poor connection at the MAF sensor.
  2. Repair as necessary. Refer to Connector Repairs in Wiring Systems.

Did you find a problem?

--

Go to Step 17

Go to Step 14

10

  1. Check the MAF sensor signal circuit between the VCM and the MAF sensor for an open, short to ground, short to the MAF ground circuit, or short to voltage.
  2. Repair as necessary. Refer to Wiring Repairs in Wiring Systems.

Did you find a problem?

--

Go to Step 17

Go to Step 15

11

  1. Check for a short to ground in the MAF ignition positive voltage circuit. Repair as necessary. Refer to Wiring Repairs in Wiring Systems.
  2. Replace the open fuse.

Is the action complete?

--

Go to Step 17

--

12

  1. Locate the open in the ground circuit to the MAF sensor.
  2. Repair as necessary. Refer to Wiring Repairs in Wiring Systems.

Is the action complete?

--

Go to Step 17

--

13

  1. Check the ignition positive voltage circuit to the MAF sensor for an open.
  2. Repair as necessary. Refer to Wiring Repairs in Wiring Systems.

Is the action complete?

--

Go to Step 17

--

14

Replace the MAF sensor. Refer to Mass Airflow Sensor Replacement .

Is the action complete?

--

Go to Step 17

--

15

  1. Check for a poor connection at the VCM connector.
  2. Repair as necessary. Refer to Connector Repairs in Wiring Systems.

Did you find a problem?

--

Go to Step 17

Go to Step 16

16

  1. Replace the VCM.
  2. Program the new VCM. Refer to VCM Replacement/Programming .
  3. Perform the Passlock Reprogramming Procedure. Refer to PASSLOCK Reprogramming Seed and Key in Theft Deterrent.
  4. Perform the CKP System Variation Learn Procedure. Refer to Crankshaft Position System Variation Learn .

Is the action complete?

--

Go to Step 17

--

17

  1. Using the scan tool, clear the DTCs.
  2. Start the engine.
  3. Allow the engine to idle until the engine reaches normal operating temperature.
  4. Select the DTC and the Specific DTC functions.
  5. Enter the DTC number which was set.
  6. Operate the vehicle, with the Conditions for Setting this DTC, until the scan tool indicates that the diagnostic Ran.

Does the scan tool indicate that the diagnostic Passed?

--

Go to Step 18

Go to Step 2

18

Does the scan tool display any additional undiagnosed DTCs?

--

Go to the applicable DTC table

System OK