GM Service Manual Online
For 1990-2009 cars only
Makes
🢒
Chevrolet
🢒
2000
🢒
Astro - 2WD
🢒
Body and Accessories
🢒
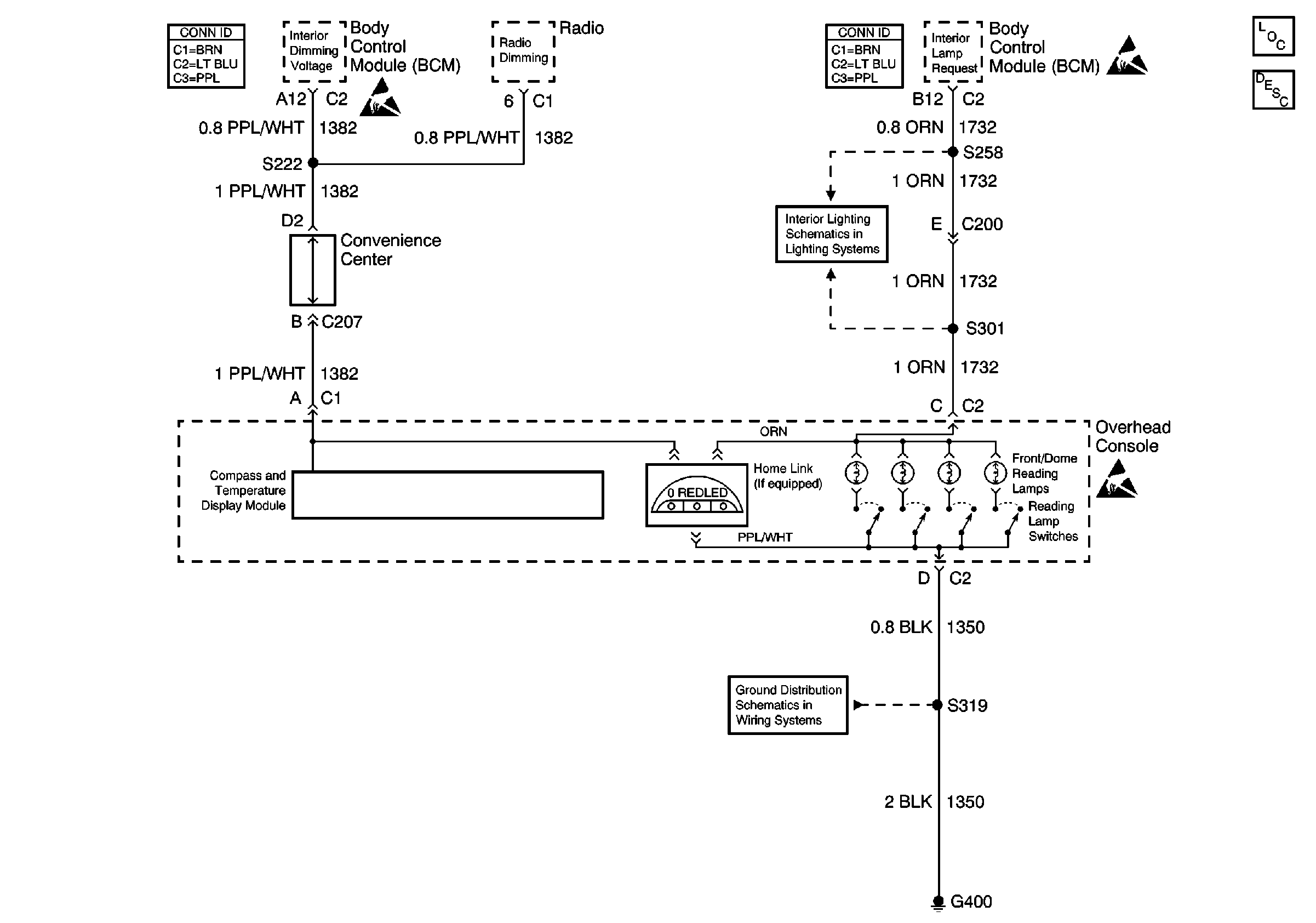
Garage Door Opener
🢒 Garage Door Opener Schematics
Garage Door Opener
Garage Door Opener Components
Garage Door Opener Circuit Description
Courtesy Lamp Relay
G301, G303, G400 and G404
Garage Door Opener Schematic Icons
Garage Door Opener Schematic Icons
Garage Door Opener Schematic Icons