GM Service Manual Online
For 1990-2009 cars only
Makes
🢒
Chevrolet
🢒
2000
🢒
Astro - 2WD
🢒
Body and Accessories
🢒
Stationary Windows
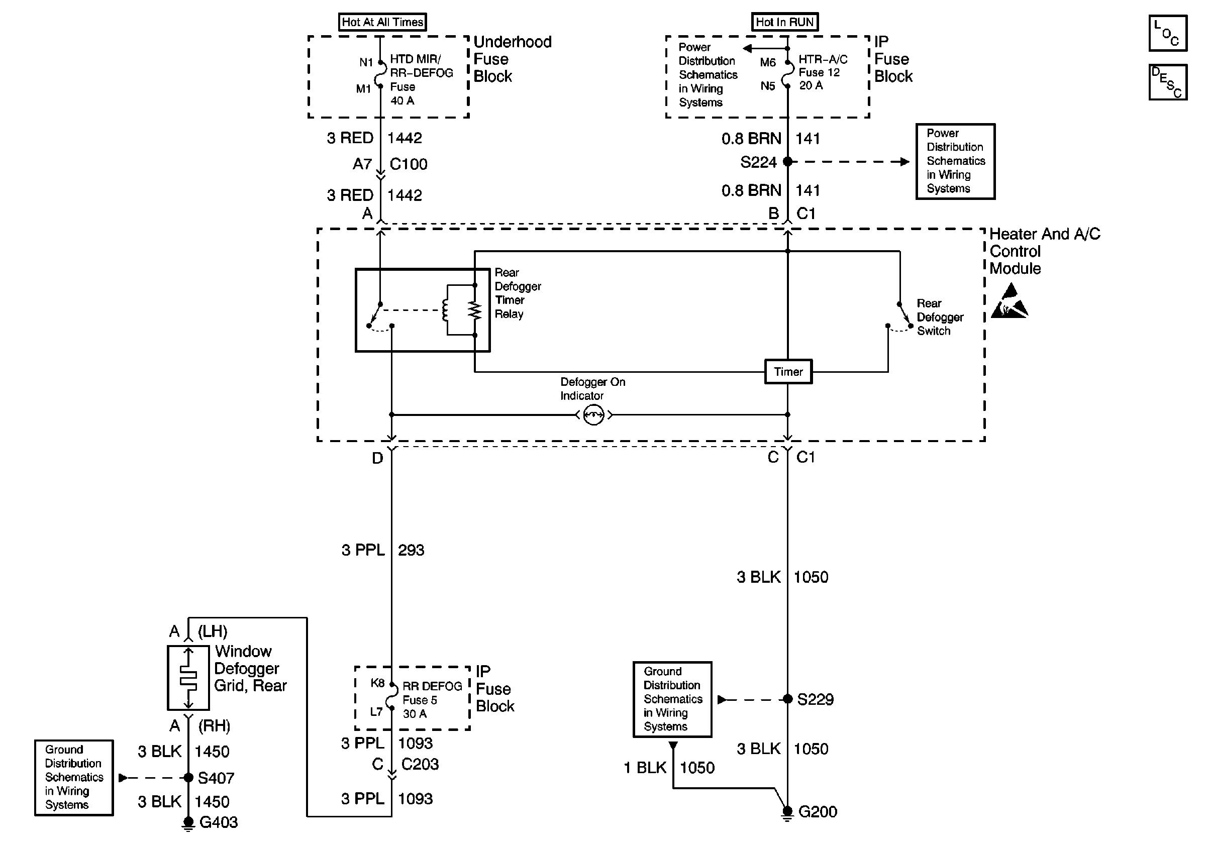
🢒 Defogger Schematics
Stationary Windows Components
Rear Window Defogger Circuit Description
IGN-B Fuse and Ignition Switch
HTR-A/C Fuse 12, BRAKE Fuse 18 and CRUISE Fuse 6
Handling ESD Sensitive Parts Notice
G300 and G403
G200 (1 of 2)