GM Service Manual Online
For 1990-2009 cars only
Makes
🢒
Chevrolet
🢒
2000
🢒
Astro - 2WD
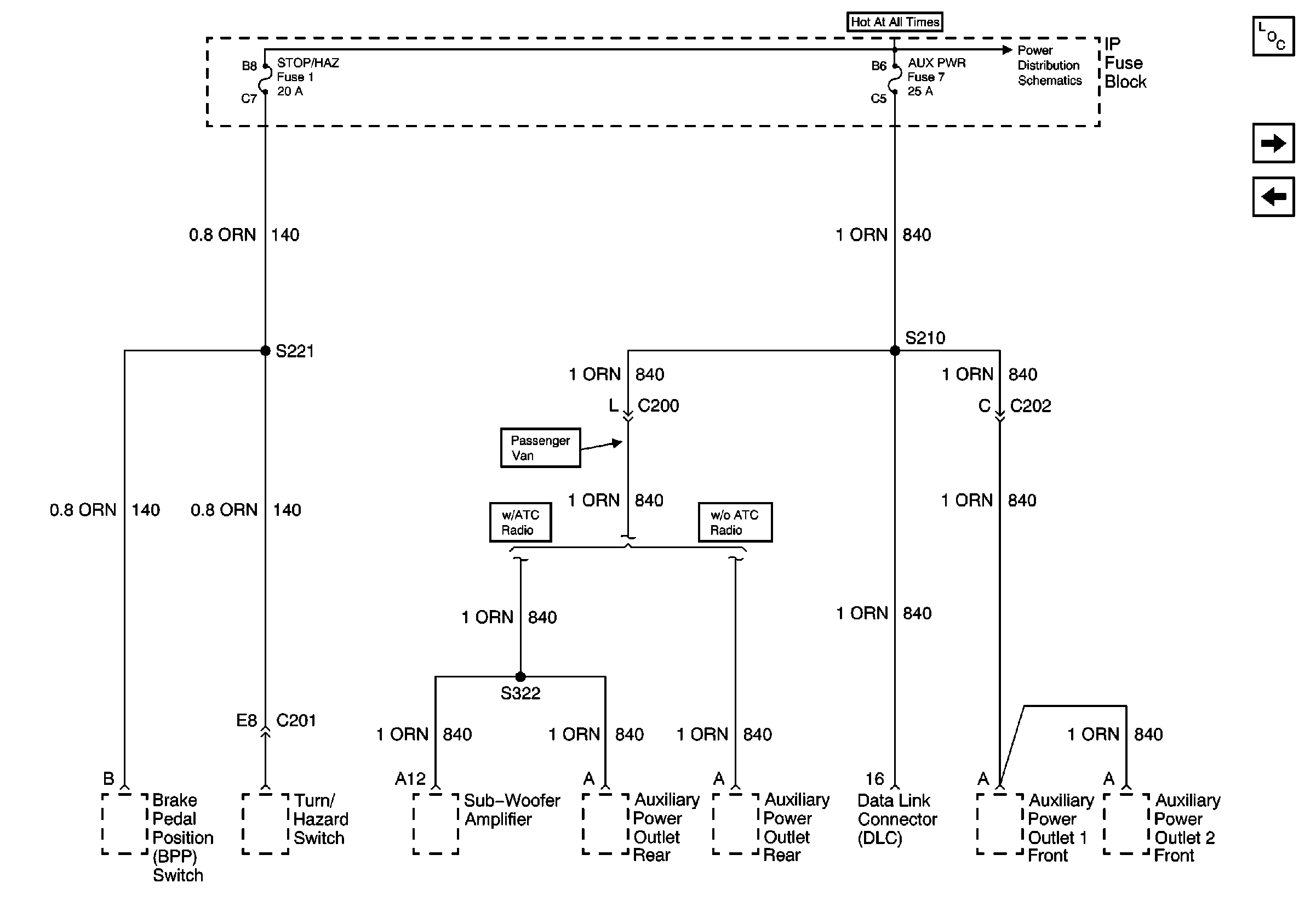
🢒 STOP/HAZ Fuse 1 and AUX PWR Fuse 7
STOP/HAZ Fuse 1 and AUX PWR Fuse 7
STOP/HAZ Fuse 1 and AUX PWR Fuse 7
Power and Grounding Components
CIG LTR Fuse 13, RADIO BATT Fuse 19 and CRANK Fuse 8
PWR ACCY Circuit Breaker
BATT and LIGHTING Fuse