GM Service Manual Online
For 1990-2009 cars only
Makes
🢒
Chevrolet
🢒
2000
🢒
Astro - 2WD
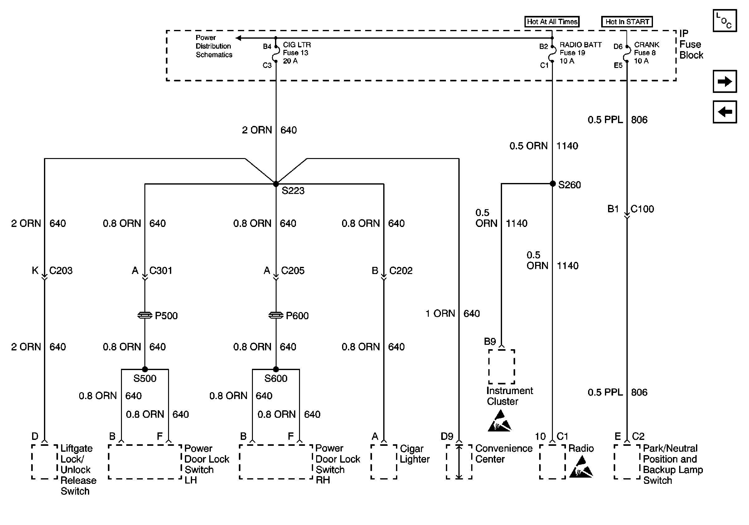
🢒 CIG LTR Fuse 13, RADIO BATT Fuse 19 and CRANK Fuse 8
CIG LTR Fuse 13, RADIO BATT Fuse 19 and CRANK Fuse 8
CIG LTR Fuse 13, RADIO BATT Fuse 19 and CRANK Fuse 8
Power and Grounding Components
CTSY Fuse 3, PK LPS Fuse 9, TBC Fuse 15, and PWR MIR Fuse 21
STOP/HAZ Fuse 1 and AUX PWR Fuse 7
Handling ESD Sensitive Parts Notice
Handling ESD Sensitive Parts Notice
BATT and LIGHTING Fuse