GM Service Manual Online
For 1990-2009 cars only
Makes
🢒
Chevrolet
🢒
2000
🢒
Astro - 2WD
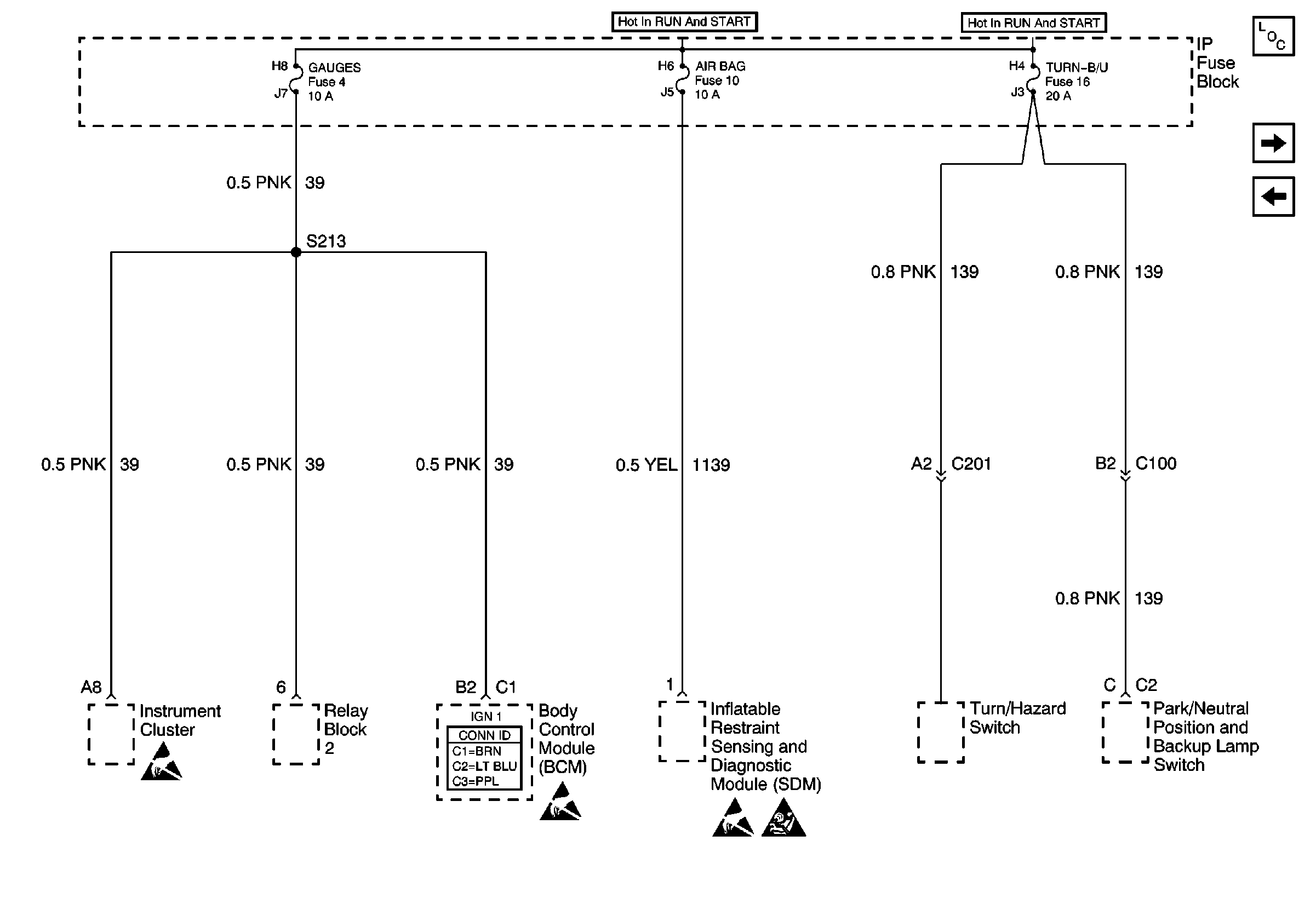
🢒 GAUGES Fuse 4, AIR BAG Fuse 10 and TURN-B/U Fuse 16
GAUGES Fuse 4, AIR BAG Fuse 10 and TURN-B/U Fuse 16
GAUGES Fuse 4, AIR BAG Fuse 10 and TURN-B/U Fuse 16
Power and Grounding Components
TRANS Fuse 20 and WINDOWS Circuit Breaker
RR DEFOG Fuse 5
Handling ESD Sensitive Parts Notice
Handling ESD Sensitive Parts Notice
Handling ESD Sensitive Parts Notice
SIR Handling Caution