GM Service Manual Online
For 1990-2009 cars only
Makes
🢒
Chevrolet
🢒
2000
🢒
Astro - 2WD
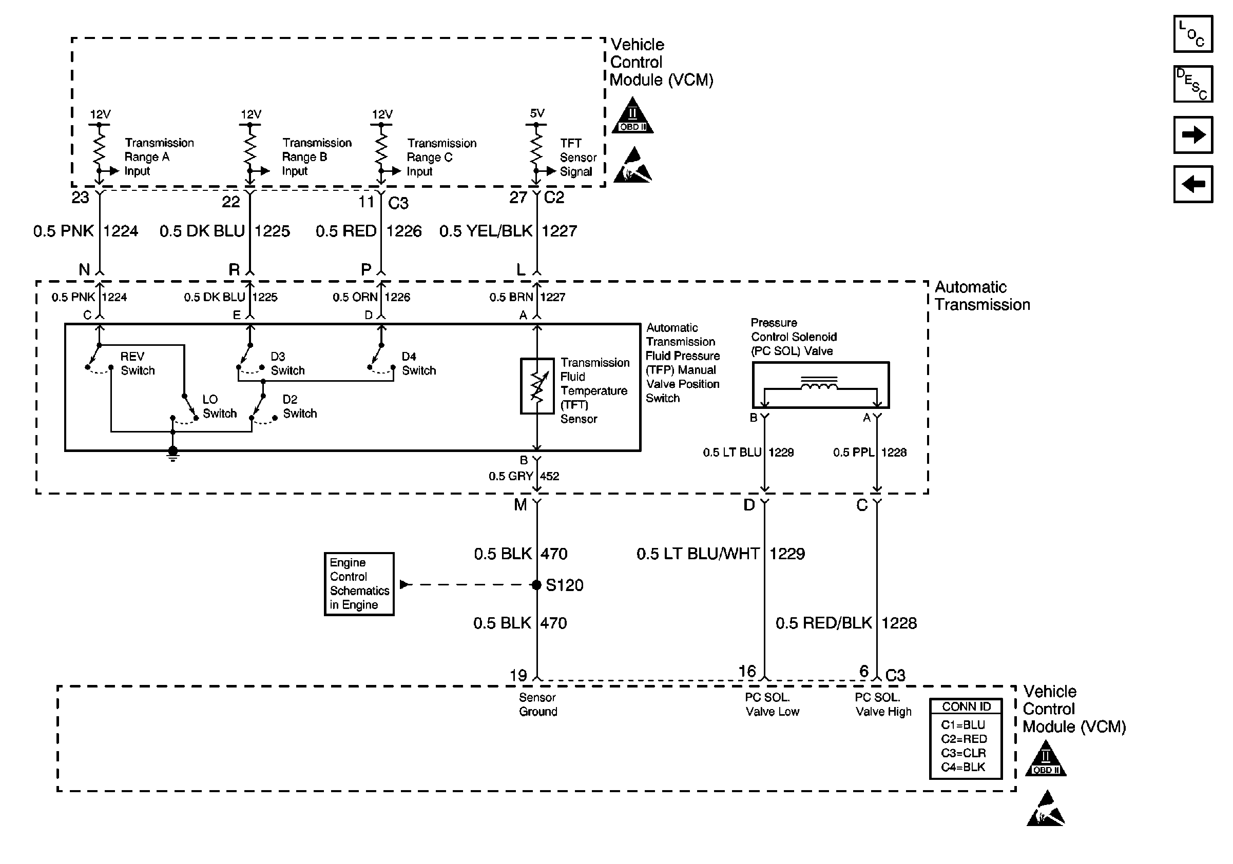
🢒 Automatic Transmission Schematics (2 of 3)
Automatic Transmission Schematics (2 of 3)
Automatic Transmission Schematics (2 of 3)
Automatic Transmission Components
Electronic Component Description
Automatic Transmission Schematics (3 of 3)
Automatic Transmission Schematics (1 of 3)
Transmission Shift Controls
Automatic Transmission Schematic Icons
Automatic Transmission Schematic Icons