GM Service Manual Online
For 1990-2009 cars only
Makes
🢒
Chevrolet
🢒
2000
🢒
Astro - 2WD
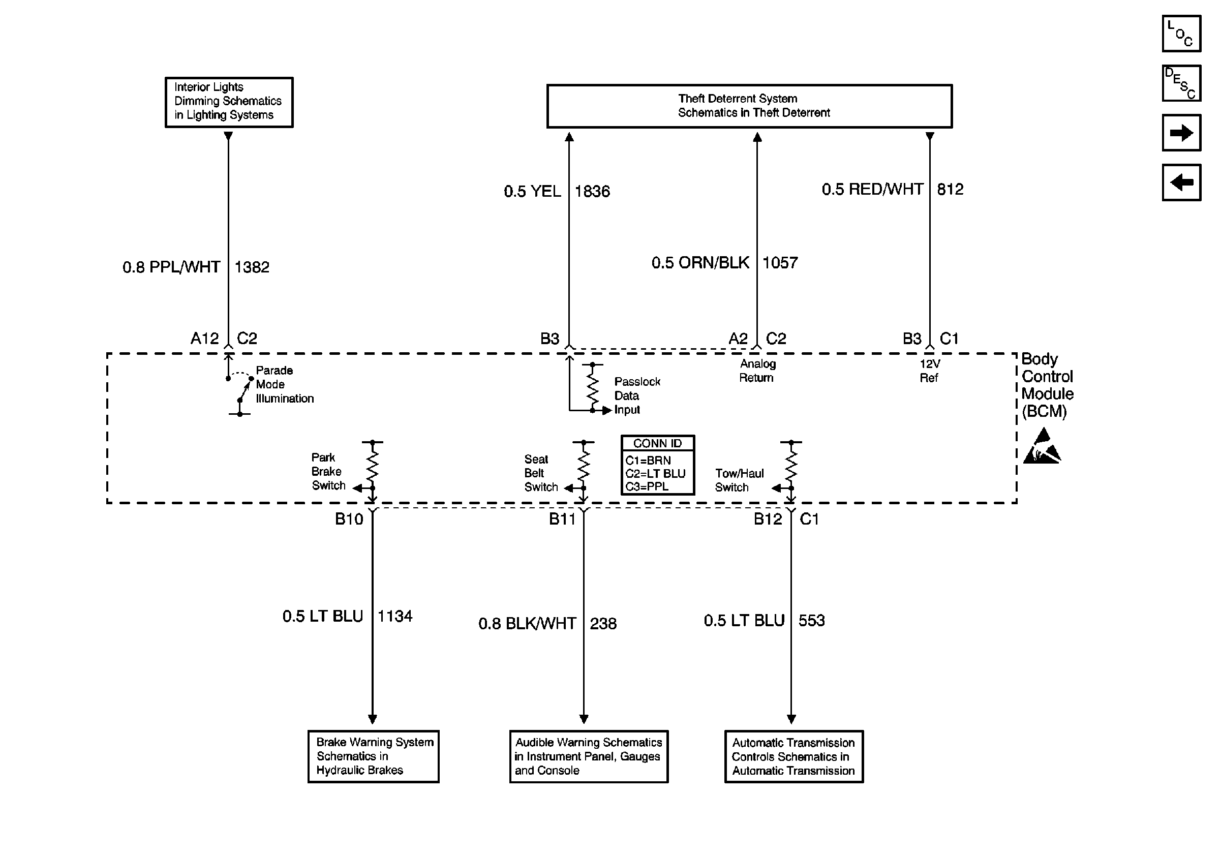
🢒 Theft, Auto Trans, Audible Warnings, Brake Warning, and Interior Lights
Theft, Auto Trans, Audible Warnings, Brake Warning, and Interior Lights
Theft, Auto Trans, Audible Warnings, Brake Warning, and Interior Lights
Body Control Module Components
Body Control System Description
Horns, Interior Lights, Exterior Lights, RKE, and Instrument Cluster
RAP, Door Locks, and Headlights DRL
Dimming Rheostat
Theft Deterrent Schematics
Handling ESD Sensitive Parts Notice
Park Brake Indicator Switch
Power, Seat Belt Switch, Key-In Warning Switch, and Door Jamb Switch
Automatic Transmission Schematics (3 of 3)