GM Service Manual Online
For 1990-2009 cars only
Makes
🢒
Chevrolet
🢒
2000
🢒
Astro - 2WD
🢒 Headlights DRL and Interior Lights
Headlights DRL and Interior Lights
Headlights DRL and Interior Lights
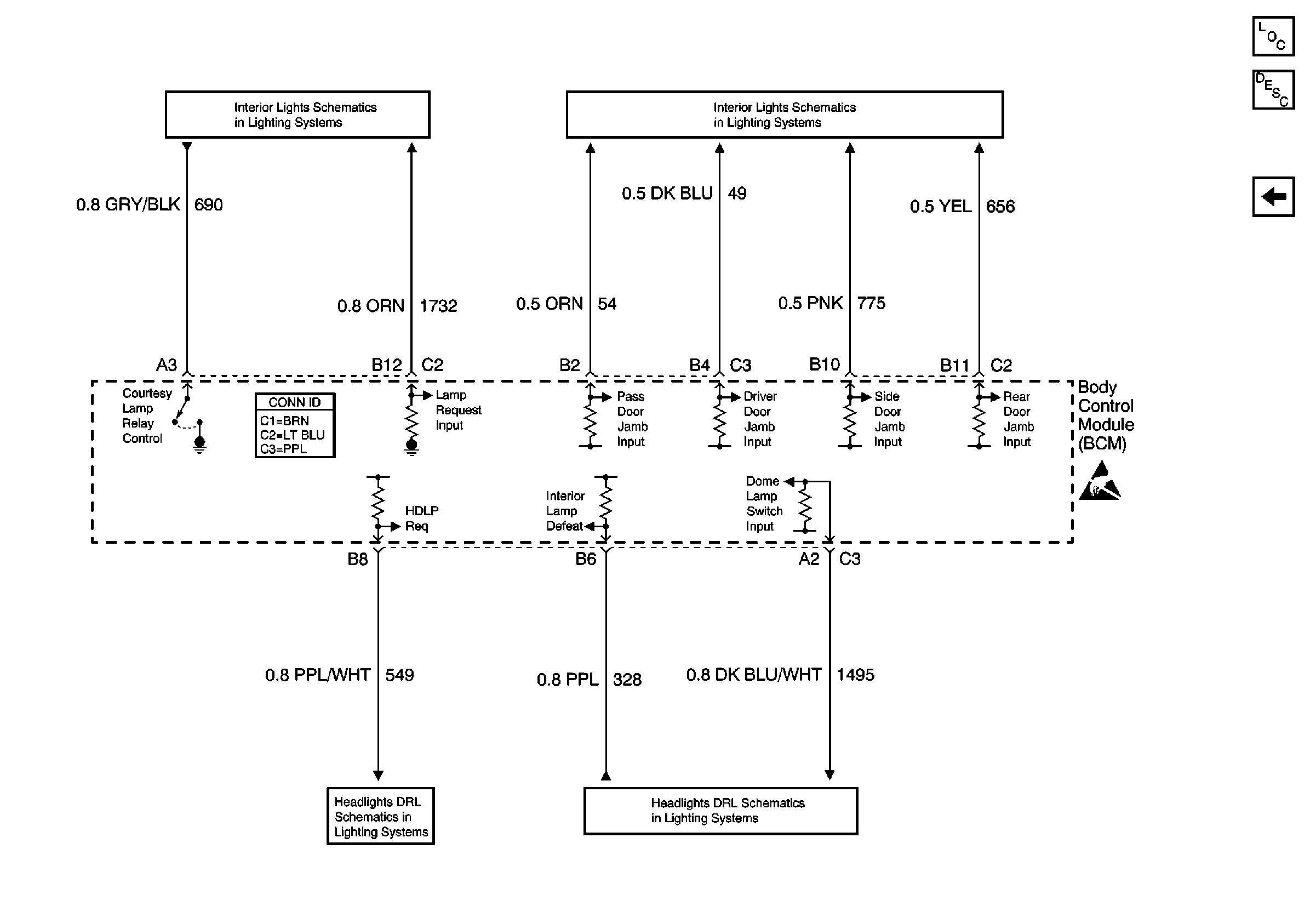
Body Control Module Components
Body Control System Description
Engine Controls, Exterior Lights, Interior Lights, Door Locks, Body Rear End, and Audible Warnings
Courtesy Lamp Relay
Door Jamb Switches, Liftgate Strut Switch
Handling ESD Sensitive Parts Notice
Headlamp and Panel Dimmer Switch, Ambient Light Sensor, Headlamp Relay
Headlamp and Panel Dimmer Switch, Ambient Light Sensor, Headlamp Relay