GM Service Manual Online
For 1990-2009 cars only
Makes
🢒
Chevrolet
🢒
2000
🢒
Astro - 2WD
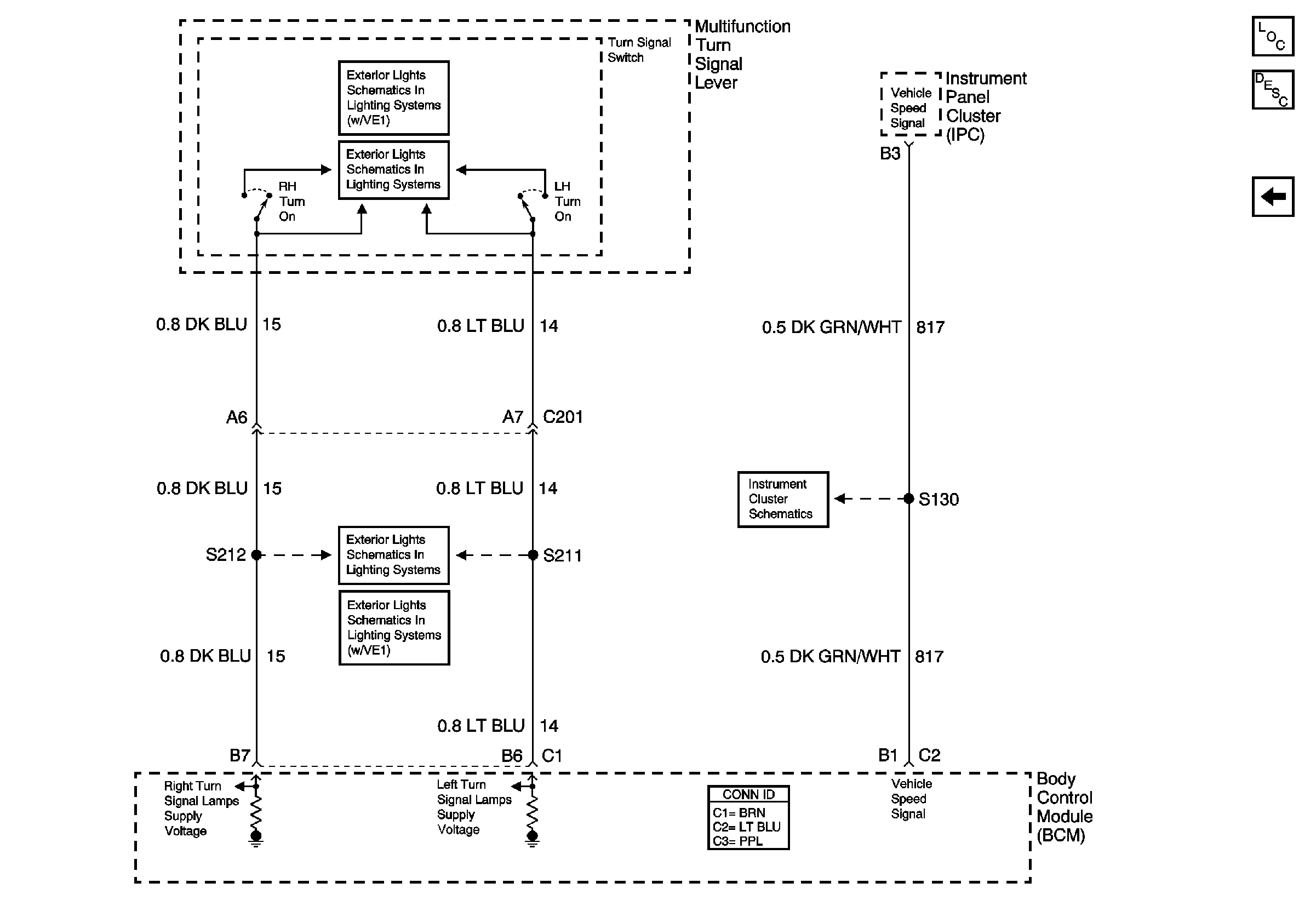
🢒 Turn Hazard Switch, and Vehicle Speed Signal
Turn Hazard Switch, and Vehicle Speed Signal
Turn Hazard Switch, and Vehicle Speed Signal
Audible Warnings Components
Malfunction Alarm Warning System Description
Power, Seat Belt Switch, Key-In Warning Switch, and Door Jamb Switch
Handling ESD Sensitive Parts Notice
Turn/Hazard Switch and Flasher Module
Turn Indicators, Park/Turn Signal Lamps, Front Side Marker Lamps
ILLUM, TRANS, and GAUGES Fuse, and Grounds
Handling ESD Sensitive Parts Notice