GM Service Manual Online
For 1990-2009 cars only
Makes
🢒
Chevrolet
🢒
2001
🢒
Astro - 2WD
🢒 Fuel Delivery
Fuel Delivery
Fuel Delivery
Master Electrical Component List
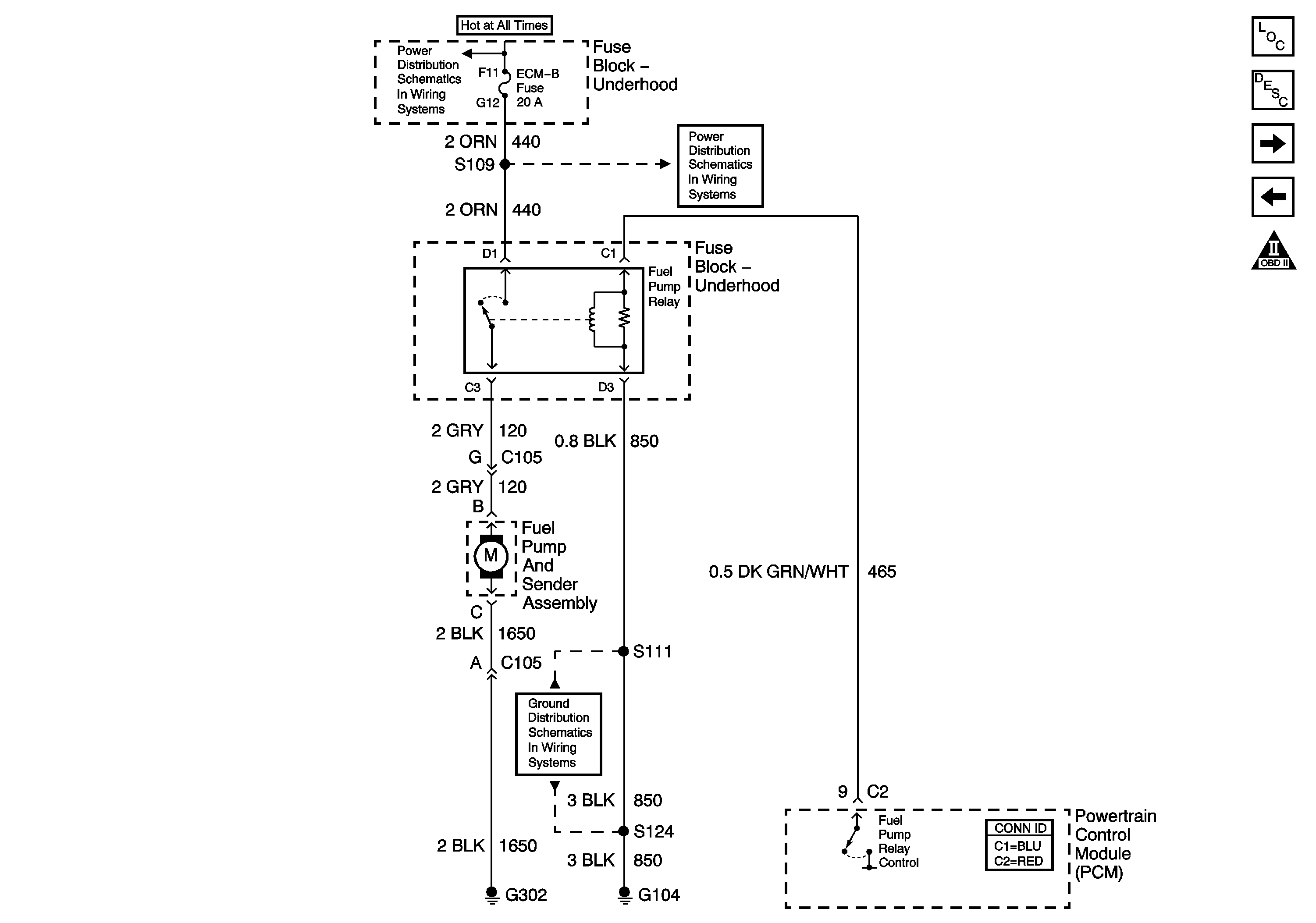
Fuel System Description
Fuel Injection Controls
Ignition System Controls
OBD II Symbol Description Notice
Battery and Underhood Fuse Block
HTD MIRR/ RR DEFOG, A/C COMP, HORN, ECM-B, ABS, RAP Fuse
G104