GM Service Manual Online
For 1990-2009 cars only
Makes
🢒
Chevrolet
🢒
2001
🢒
Astro - 2WD
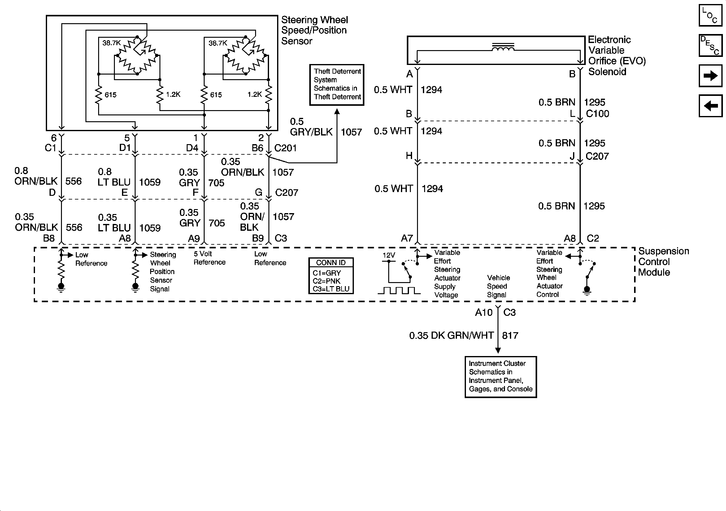
🢒 Steering Wheel Speed/Position Sensor and EVO Solenoid
Steering Wheel Speed/Position Sensor and EVO Solenoid
Steering Wheel Speed/Position Sensor and EVO Solenoid
Master Electrical Component List
Real Time Damping Description and Operation
Suspension Position Sensors and Shock Absorber Solenoids
Compressor/Leveling Controls
Gauges, VSS, and Engine Oil Signals